Section 1.15
Flywheel Housing
The flywheel housing is a one-piece casting mounted against the rear of the cylinder block. It provides a cover for the flywheel and serves as a support for the cranking motor, air compressor, and transmission. See Figure "Flywheel Housing and Related Parts" .

|
1.Flywheel Housing |
3.Bolt (55 mm) |
|
2.Rear Oil Seal |
4.Bolt (110 mm) |
Figure 1. Flywheel Housing and Related Parts
The crankshaft rear oil seal, which is pressed into the housing, may be removed and installed without removing the housing. Refer to "1.8.3 Removal of Rear Oil Seal" .
Section 1.15.1
Repair or Replacement of Flywheel Housing
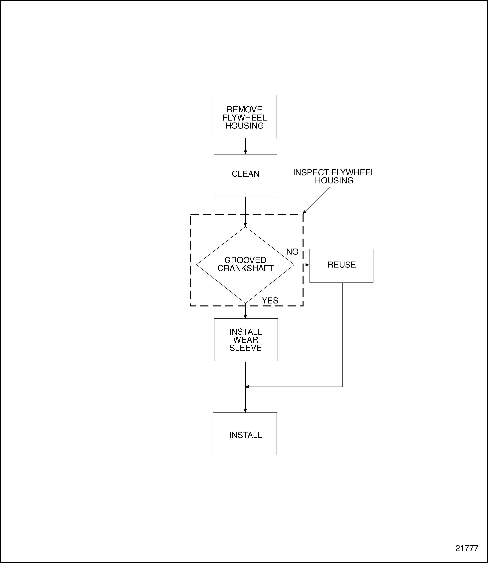
See Figure "Repair or Replacement of Flywheel Housing Flowchart" to determine if repair or replacement of the flywheel housing is necessary.

Figure 2. Repair or Replacement of Flywheel Housing Flowchart
Section 1.15.2
Removal of Flywheel Housing
Pre-cleaning is not necessary.
Remove the flywheel housing as follows:
- If the engine is removed from the vehicle, mount the engine to an overhaul stand. Refer to "1.1.2 Cleaning and Removal of Cylinder Block" .
- Drain engine oil and remove oil pan. Refer to "3.8.2 Removal of Oil Pan" .
- Remove the flywheel. Refer to "1.12.2 Removal of Flywheel" .
- Remove the 2 long outer bolts and the 14 short inner bolts that secure the flywheel housing to the engine.
- To guide the flywheel housing until it clears the end of the crankshaft, thread two guide studs, J 35785, into the cylinder block. See Figure
"Pilot Stud Installation"
.

1.Cylinder Block
3.Flywheel Housing
2.Gasket
Figure 3. Pilot Stud Installation
Note: The illustration shows the flywheel housing already removed for clarity.
- Thread eye bolts into the tapped holes in the side pads of the flywheel housing.
- Attach a suitable sling to the eye bolts.
- Strike the front face of the housing alternately on each side with a soft hammer to loosen and work it off the dowel pins.
- Remove and discard the crankshaft rear oil seal.
Section 1.15.2.1
Inspection of Flywheel Housing
Inspect the flywheel housing as follows:
- Inspect flywheel housing for cracks or roughness.
- If the flywheel housing is cracked, replace it. Refer to "1.15.3 Installation of Flywheel Housing" .
- If the sealing surface is rough, smooth it with an emery cloth.
Section 1.15.3
Installation of Flywheel Housing
Install the flywheel housing as follows:
- Install flywheel housing gasket to mating area of the cylinder block and flywheel housing.
- Thread two aligning studs, J 35785, into the cylinder block to guide the housing into place. See Figure "Pilot Stud Installation" .
- Support the housing, and position it over the crankshaft and against the cylinder block.
- Install all housing bolts finger-tight in their proper location.
- Remove the pilot studs.
- Torque the 14 short and 2 long flywheel housing bolts to 58-73 N · m (43-54 lb · ft), using the proper tightening sequence. See Figure
"Flywheel Housing Bolt Torque Sequence"
.

Figure 4. Flywheel Housing Bolt Torque Sequence
- Install the flywheel. Refer to "1.12.3 Installation of Flywheel" .
- Install the oil pan. Refer to "3.8.3 Installation of Oil Pan" .
- Refill with engine oil. Refer to "13.4.1 Lubricating Oil" .
Section 1.15.3.1
Flywheel Housing Bore Concentricity Test
Check the flywheel housing bore concentricity and bolting flange run-out with tool set J 9737-C, as follows:
- Thread the base post, J 9737-11, onto one of the tapped holes on the flywheel outer edge.
- Assemble the dial indicators on the base post with the attaching parts provided in the tool set.
- Position the dial indicators straight and square with the flywheel housing bell face and inside bore. Ensure each indicator has adequate travel in each direction. See Figure
"Measuring Housing Bore Concentricity and Bolting Flange Run-out"
.

1.Flywheel Housing
2.Flywheel
Figure 5. Measuring Housing Bore Concentricity and Bolting Flange Run-out
- Tap the end of the crankshaft (not the crankshaft pulley) with a soft hammer to force it toward one end of the block and ensure end play in one direction only.
- Adjust each dial indicator to read zero at the twelve o'clock position.
- Rotate the crankshaft one complete revolution, taking readings at 90 ° intervals (4 readings each for the bore and bolting flange face). See Figure
"Readings taken on Flywheel Housing"
.

Figure 6. Readings taken on Flywheel Housing
- To ensure accuracy, remove the wrench or cranking bar before taking each reading.
Note: The maximum total indicator reading must not exceed 0.33 mm (.013 in.) for either the bore or the face.
Note: If the run-out exceeds the maximum limits, remove the flywheel and flywheel housing, and check for dirt or foreign material between the flywheel housing and the cylinder block or oil pan
- Clean the mating surfaces again.
| Series 55 Service Manual - 6SE55 |
| Generated on 10-13-2008 |