Section 1.8
Crankshaft Oil Seals
The front crankshaft oil seal is mounted in the lower front cover. The rear oil seal is mounted in the flywheel housing. A wear sleeve in pressed fitted to the front of the crankshaft to provide a sealing surface for the front oil seal. The flywheel has a wear sleeve to provide a sealing surface for the rear oil seal. The sealing lips for front and rear seals are held in position against the crankshaft sealing surface by a spring. This prevents oil from escaping from the front crankshaft seal and rear wear sleeve on the flywheel. See Figure "Flywheel Housing, Crankshaft, Front Cover, Oil Seals" .

|
1.Front Oil Seal |
4.Flywheel Housing |
|
2.Lower Front Cover |
5.Rear Oil Seal |
|
3.Crankshaft Assembly |
6.Wear Sleeve |
Figure 1. Flywheel Housing, Crankshaft, Front Cover, Oil Seals
Section 1.8.1
Repair or Replacement of Oil Seal
To determine if repair is possible or replacement is necessary, perform the following procedure. See Figure "Repair or Replacement of Crankshaft Oil Seal Flowchart" .

Figure 2. Repair or Replacement of Crankshaft Oil Seal Flowchart
Section 1.8.2
Removal of Crankshaft Oil Seal
The crankshaft oil seal is in the flywheel housing and the sleeve in on the flywheel. Any time the flywheel housing is removed, the crankshaft oil seal must be replaced. The crankshaft oil seal may have been damaged.
Section 1.8.3
Removal of Rear Oil Seal
Remove the rear oil seal as follows: See Figure "Removal of Rear Oil Seal from Flywheel Housing" .
- Remove flywheel and ring gear assembly. Refer to "1.12.2 Removal of Flywheel" .
- Support the outer face of the flywheel housing on wood blocks.
- Clean the flywheel housing seal bore.

1.Flywheel Housing
2.Rear Oil Seal
Figure 3. Removal of Rear Oil Seal from Flywheel Housing
Section 1.8.4
Removal of Lower Front Cover
Perform the following steps to remove the lower front cover: See Figure "Lower Front Cover Removal" .
- Remove fan clutch assembly. Refer to OEM guidelines.
- Remove crankshaft pulley. Refer to "1.11.2 Removal of Crankshaft Pulley" .
- Remove vibration damper. Refer to "1.10.2 Removal of Crankshaft Vibration Damper" .
- Remove splash ring from crankshaft.
- Remove six mounting bolts securing lower front cover to cylinder block.
- Remove front oil pan mounting bolts.
- Remove lower front cover.
- Remove lower front cover oil seal. Refer to "1.8.6 Removal of Front Oil Seal"
.

1.Front Oil Pan Mounting Bolt (3)
4.Front Cover
2.Crankshaft
5.Front Cover Mounting Bolt (6)
3.Front Cover Gasket
Figure 4. Lower Front Cover Removal
Section 1.8.4.1
Inspection of Lower Front Cover
Perform the following steps to inspect the lower front cover:
- Inspect lower front cover for cracks, damage to oil seal seating surface. If cover is damaged, replace lower front cover.
Section 1.8.5
Installation of Lower Front Cover
Perform the following steps to install the lower front cover: See Figure "Front Cover Installation" .
- Install lower front cover oil seal.
- Position new gasket on cylinder block.
- Install lower front cover on cylinder block.
- Install six mounting bolts in lower front cover, tighten mounting bolts to 30-38 N · m (22-28 lb · ft) torque.
- Install remaining bolts in lower front of oil pan, tighten mounting bolts to 30-38 N · m (22-28 lb · ft) torque.
- Install splash ring over crankshaft.
- Install vibration damper. Refer to "1.10.3 Installation of Crankshaft Vibration Damper" .
- Install crankshaft pulley. Refer to "1.11.3 Installation of Crankshaft Pulley" .
- Install fan clutch assembly. Refer to OEM guidelines.

1.Front Oil Pan Mounting Bolt (3)
4.Front Cover
2.Crankshaft
5.Front Cover Mounting Bolt (6)
3.Front Cover Gasket
Figure 5. Front Cover Installation
Section 1.8.6
Removal of Front Oil Seal
Remove the front oil seal as follows:
- Remove front engine pulley. Refer to "1.11.2 Removal of Crankshaft Pulley" .
- Remove vibration damper. Refer to "1.10.2 Removal of Crankshaft Vibration Damper" .
- Remove splash ring.
- Remove front engine mounting bracket and oil splash ring.
- Remove lower front cover. Refer to "1.8.4 Removal of Lower Front Cover" .
- Support the housing cover on wood blocks.
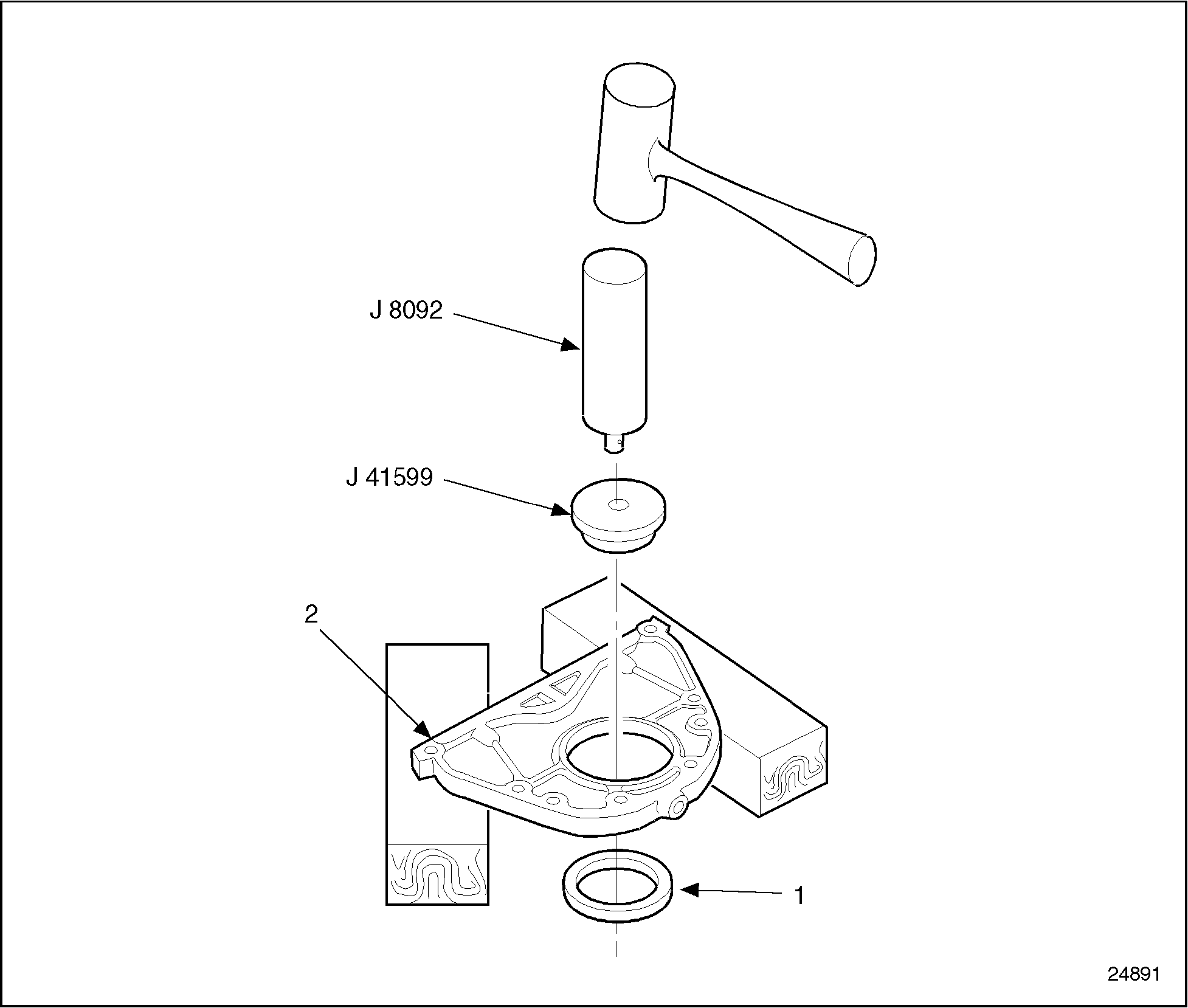
- Using J-41599, drive out the front oil seal. See Figure
"Front Oil Seal Removal"
.

1.Front Oil Seal
2.Lower Front Cover
Figure 6. Front Oil Seal Removal
Section 1.8.6.1
Inspection of Front Oil Seal
Crankshaft oil seal leaks may indicate worn or damaged oil seals. Oil seals may become worn or damaged because of improper installation, excessive main bearing clearances, excessive flywheel housing bore run-out, grooved seal surfaces on the crankshaft hubs, or out of square installation. To prevent recurring leaks, these conditions must be identified and corrected.
Inspect the crankshaft seal contact surface for wear and dirt. The contact surface must be clean and dry prior to wear sleeve and seal installation.
Section 1.8.7
Installation of Rear Crankshaft Oil Seal
Install rear crankshaft oil seal as follows:
- Install guide studs,J 41595 .
- Using J 41596 with handleJ 8092 , position seal on installer tool.
- Position installer on rear of crankshaft and align dowel hole on installer with dowel pin on crankshaft. See Figure
"Rear Oil Seal Installation"
.

1.Rear Crankshaft Oil Seal
2.Flywheel Housing
Figure 7. Rear Oil Seal Installation
- Drive seal into flywheel housing until installer tool makes contact with crankshaft.
Section 1.8.8
Installation of Front Oil Seal
Install front oil seal as follows:
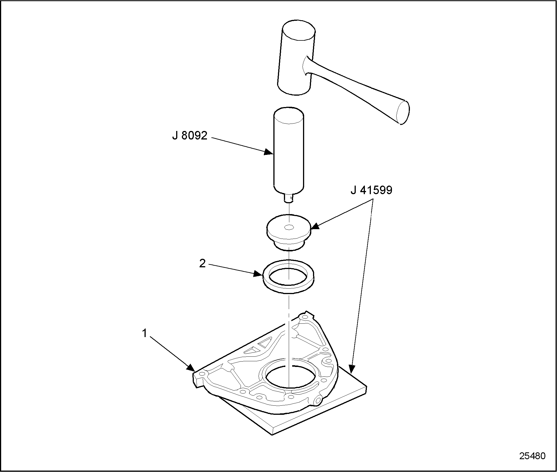
- Place the lower front cover on a level surface. Using toolJ 41599
andJ 8092
, tap the seal into the front cover. See Figure
"Front Cover Oil Seal Installation"
.

1.Lower Front Cover
2.Front Oil Seal
Figure 8. Front Cover Oil Seal Installation
- Install lower front cover. Refer to "1.8.5 Installation of Lower Front Cover" .
- Install front engine mounting bracket.
- Install oil splash ring and vibration damper. Refer to "1.10.3 Installation of Crankshaft Vibration Damper" .
- Install crankshaft pulley. Refer to "1.11.3 Installation of Crankshaft Pulley" .
| Series 55 Service Manual - 6SE55 |
| Generated on 10-13-2008 |