Section 1.1
Cylinder Block
The cylinder block is the basic engine structure, establishing and maintaining the alignment of all engine parts. The cylinder bores are not an integral part of the cylinder block casting but are replaceable, wet type cylinder liners; see Figure "Cylinder Block and Cylinder Liner Removal" .

|
1.Cylinder Liner |
3.Ring Seals |
|
2.Tombac Ring |
4.Cylinder Block |
Figure 1. Cylinder Block and Cylinder Liner Removal
A flange at the liner upper end seats in the counterbore in the cylinder block deck and projects slightly above the cylinder block deck to accomplish good head gasket compression sealing. Below the water jacket, the lower end of the cylinder liner has two seal rings in the block.
Integral oil galleries direct oil through the external oil cooler and filters, to the main oil gallery, and to drilled passages in the crankcase webs. These supply pressurized oil to each main bearing. In the crankcase, five integral webs plus front and rear bulkheads support the crankshaft in seven main bearings; see Figure "Cylinder Crankcase" .

Figure 2. Cylinder Crankcase
Section 1.1.1
Repair or Replacement of Cylinder Block
To determine if repair is possible or replacement is necessary, perform the following procedure. See Figure "Cylinder Block Repair or Replacement Flowchart" .

Figure 3. Cylinder Block Repair or Replacement Flowchart
Section 1.1.2
Cleaning and Removal of Cylinder Block
Separate the cylinder block from the transmission as follows:
- Disconnect the battery cable(s) from the battery(s).
- Disconnect the engine from the transmission.
- Completely drain the cooling system by removing the drain plug in the water pump housing. Refer to "13.4.4 Cooling System" .
- Drain the lubricating oil. Refer to "13.4.1 Lubricating Oil" .
- Disconnect the fuel inlet line to the primary fuel filter and the fuel return line from the fuel rail.
- Remove the air cleaner duct, if required.
- Remove the charge air cooler (CAC) duct from the turbocharger and intake manifold. Refer to "6.5.2 Cleaning and Removal of Charge Air Cooler" .
- Disconnect the exhaust piping from the turbocharger. Refer to OEM guidelines.
- Disconnect the 30-pin DDEC vehicle electrical connector and the 5-pin power connector.
- Disconnect and remove the cranking motor; refer to "8.4.2 Cleaning and Removal of Cranking Motor" , alternator; refer to "8.2.2 Cleaning and Removal of Alternator" , and other electrical equipment, as required. Also remove the 6-pin communication connector, if used.
- Remove the air compressor and any air lines, as required. Refer to "10.1.2 Cleaning and Removal of Air Compressor" .
- Disconnect and remove the coolant hoses.
- Remove the CAC; refer to "6.5.2 Cleaning and Removal of Charge Air Cooler" , radiator, fan guard, and any other cooling system parts necessary for engine removal.
- Connect a suitable lifting device to the engine using both lifting brackets.
- Remove the engine mounting bolts.
- Separate the engine from the transmission.
To avoid injury from a falling engine, an adequate lifting device with a spreader bar and sling should be used to lift the engine. The sling and spreader bar should be adjusted so the lifting hooks are vertical to prevent bending the lifter brackets. To ensure proper weight distribution, all provided lifter brackets must be used.
- Lift the engine from its mounts. See Figure "Lifting Engine from Vehicle" .

|
1.Rear Lifter Bracket |
3.Spreader Bar |
|
2.Lifting Sling (2) |
4.Front Lifter Bracket |
Figure 4. Lifting Engine from Vehicle
Use an engine overhaul stand for support when stripping a cylinder block.
Attach the engine to the overhaul stand as follows:
Note: The engine is left-side mounted on the turnover stand in an upright position.
- Remove the secondary fuel filter assemblies. Refer to "2.7.1 Replacement of Fuel Filter (Spin-on)" .
- Remove ECM. Refer to "2.10.2 Removal of ECM" .
- Remove the power steering pump. Refer to OEM guidelines.
- Remove air compressor. Refer to "10.1.2 Cleaning and Removal of Air Compressor" .
- Bolt cylinder block adaptor, J 41576
, to the cylinder block. Attach it to the stand adaptor, J 35635-1
. See Figure
"Engine Overhaul Stand and Adaptor"
.

Figure 5. Engine Overhaul Stand and Adaptor
Prior to cleaning the block, perform the following steps:
- Disconnect the harness connector from the Timing Reference Sensor (TRS). Remove the TRS. Refer to "2.16.2 Removal of TRS" .
- Disconnect the harness connector from the Synchronous Reference Sensor (SRS). Remove the SRS. Refer to "2.15.2 Removal of Synchronous Reference Sensor" .
- Remove any electrical components, connectors, or wiring harnesses from the engine.
To avoid injury from a falling engine, ensure the engine is securely attached to the engine overhaul stand before releasing the lifting sling.
- With the engine mounted on the overhaul stand, remove all remaining subassemblies and parts from the cylinder block.
- Remove cylinder heads. Refer to "1.2.2 Removal of Cylinder Head" .
- Remove the flywheel assembly. Refer to "1.12.2 Removal of Flywheel" .
- Remove the flywheel housing assembly. Refer to "1.15.2 Removal of Flywheel Housing" .
- Remove the crankshaft pulley. Refer to "1.11.2 Removal of Crankshaft Pulley" .
- Remove the vibration damper. Refer to "1.10.2 Removal of Crankshaft Vibration Damper" .
- Remove the front engine mounting bracket.
- Remove fuel pump and related components. Refer to "2.5.2 Removal of Fuel Pump" .
- Remove upper front cover. Refer to "1.21.2 Removal of Camshaft Fuel Pump Drive Gear" .
- Remove the piston and connecting rod assembly. Refer to "1.17.2 Removal of Piston and Connecting Rod" .
- Remove the camshaft fuel pump drive gear. Refer to "1.21.2 Removal of Camshaft Fuel Pump Drive Gear" .
- Remove the DVB drive gear. Refer to "1.23.2 Removal of DVB Hydraulic Pump" .
- Remove the cylinder liners. Refer to "1.19.2 Removal of Cylinder Liner" .
- Remove the crankshaft and main bearing shell assemblies. Refer to "1.9.2 Removal of Main Bearing Shell" .
- Remove the camshaft. Refer to "1.20.2 Removal of Camshaft" .
- Remove camshaft followers.
- Remove the crankshaft and main bearing shell assemblies. Refer to "1.9.2 Removal of Main Bearing Shell" .
Note: Not all engines are equipped with a DVB drive gear.
NOTICE:
Before removing main bearing caps, ensure each is stamped or punch-marked in numerical order, beginning with number one at the front. Otherwise, mark all caps on the camshaft side of the engine to prevent reversal at assembly. Failure to match numerical numbers in order may result in the caps being replaced incorrectly. See Figure "Main Bearing Cap Position Numbers " .

Figure 6. Main Bearing Cap Position Numbers
Section 1.1.2.1
Inspection of Cylinder Block Bore
Before removing cylinder liners, the liner bores should be gaged to determine whether liner replacement is necessary. Mark the cylinder block and the cylinder liner prior to removal. If the liner is to be reused, it must be rotated 905 from its original position. See Figure "Preparing Cylinder Liners for Removal " .

Figure 7. Preparing Cylinder Liners for Removal
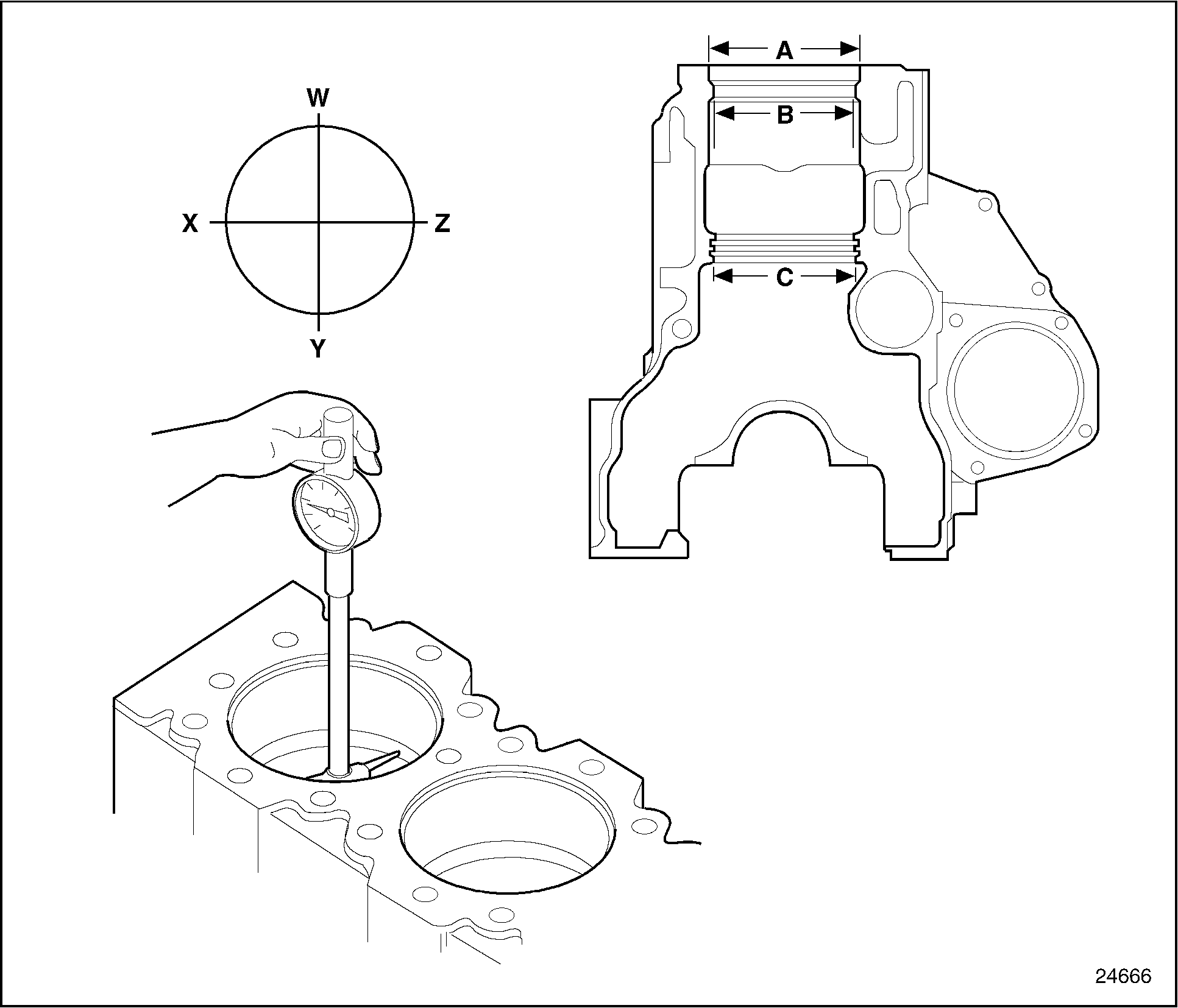
Engine cooling is primarily accomplished by heat transfer through the cylinder liners to the water jacket. Liners must be properly positioned to ensure an effective seal and long component life. Whenever the cylinder liners are removed from the engine, block bores must be inspected as follows:
- Measure the bore of each cylinder with cylinder bore gage,J 5347-B
, which has a dial indicator calibrated in 0.001 in. increments. See Figure
"Gaging Cylinder Block Bores and Measurements"
.

Figure 8. Gaging Cylinder Block Bores and Measurements
- Measure cylinder block bore at positions on axes 905 apart. If the diameter does not exceed the dimensions listed in Table
"Acceptable Cylinder Bore Diameters"
, the block may be reused.
General Description
Specification
Diameter A for liner ring seat
154.15 - 153.9 mm (6.0689 - 6.0591 in.)
Diameter B for liner fit
145.84 - 145.8 mm (5.7417 - 5.740 in.)
Diameter C for liner fit
144.54 - 144.5 mm (5.6906 - 5.6890 in.)
Table 6. Acceptable Cylinder Bore DiametersNOTICE:
Failure to identify the liners by cylinder number may result in the liners being put back in incorrect order.
- Measure cylinder liner bore diameters prior to removal. Replace liners as necessary. Refer to "1.19.4 Installation of Cylinder Liner" . If the liners are to be reused, identify them by cylinder number so they can be returned to the same position.
- To avoid trapping cleaning agents in block liner seating bores, remove cylinder liners with cylinder liner removal tool,J 41543
, before putting the block in cleaning or descaling baths. See Figure
"Cylinder Liner Removal Tool"
.

Figure 9. Cylinder Liner Removal Tool
Section 1.1.3
Cleaning the Cylinder Block
Clean the cylinder block as follows:
- Remove all oil and water gallery pipe plugs to allow the cleaning solution to enter the oil and water passages.
- Using two metric eye bolts,J 41564 , installed at opposite ends of the block, use a suitable lifting device and spreader bar to immerse and agitate the block in a hot bath of a commercial, heavy-duty alkaline solution.
- Steam clean, or wash the block in hot water, to remove the alkaline solution.
If the water jackets are heavily scaled, proceed as follows:
|
|
|
To avoid injury from improper use of chemicals, follow the chemical manufacturer's usage, handling, and disposal instructions. Observe all manufacturer's cautions. |
|
|
|
To avoid injury, wear a face shield or goggles. |
|
|
|
To avoid injury from chemical burns, wear neoprene or PVC gloves when washing contaminated parts. Discard gloves after handling degraded fluoroelastomer parts. |
- Agitate the block in a bath of inhibited phosphoric acid.
- Allow the block to remain in the acid bath until the bubbling action stops (approximately 30 minutes).
- Lift the block, drain it, and immerse it in the same acid solution for 10 more minutes. Repeat until all scale is removed from the water jacket area.
- Rinse the block in clean, hot water to remove the acid solution.
- Neutralize the acid that may cling to the casting by immersing the block in an alkaline bath.
- Steam clean, or wash the block in clean water.
To avoid injury from flying debris when using compressed air, wear adequate eye protection (face shield or safety goggles) and do not exceed 40 psi (276 kPa) air pressure.
- Dry the cylinder block with compressed air. Blow out all bolt holes and passages with compressed air.
- Make certain that all water passages and oil galleries have been thoroughly cleaned and dried. Install precoated pipe plugs. Using a coating of non-hardening sealant, such as Loctite 620 or equivalent, install new cup plugs.
Section 1.1.3.1
Inspection of Cylinder Block
Inspect cylinder block as follows:
- Check all machined surfaces for nicks and burrs that could affect the fit of mating parts. Using a stone, clean up as necessary.
- Inspect all tapped holes for thread damage. Retap or install helical thread inserts as necessary.
- Check for loose or damaged dowel pins. Replace as necessary.
Section 1.1.3.2
Immersion Method Pressure Testing of Cylinder Block
Use cylinder block pressure test kit, J 41566 , for immersion method pressure testing as follows:
- Install cylinder liners with new seal rings. Refer to "1.19.4 Installation of Cylinder Liner" . Seat the liners securely in the block counterbores with cylinder liner installation tool, J 41441 .
- Install new cylinder head gaskets.
- Install cylinder block test platesJ 41566-1 .
- Install the water inlet cover plate,J 36223-7A
(a part of J 41566). Use the bolt supplied with the tool to secure it to the cylinder block. See Figure
"Cylinder Block Test Deck Plate Installation"
.

1.Bolt
4.Cylinder Head Gasket
2.Pipe Plug
5.Bolt with Sealing Washer
3.Air Supply Location
Figure 10. Cylinder Block Test Deck Plate Installation
- With a suitable lifting device and spreader bars, immerse the cylinder block for 20 minutes in a tank of water heated to 82-93 ° C (180-200 ° F).
- Attach an air line to the water inlet cover plate, and apply 138 kPa (20 lb/in.2) air pressure to the water jacket. Look for bubbles that indicate cracks or leaks. Replace a cracked cylinder block with a new block.
To avoid injury from flying debris when using compressed air, wear adequate eye protection (face shield or safety goggles) and do not exceed 40 psi (276 kPa) air pressure.
- Remove the block from the water tank. Remove the plates and gaskets. Blow out all block passages with compressed air.
Section 1.1.3.3
Leak-Marker Pressure Testing of Cylinder Block
When a large water tank is unavailable, or to check the block for cracks without removing the engine from the vehicle, cylinder block leak-marker pressure testing may be performed. To perform this test, the cylinder heads, oil cooler, and oil pan must be removed.
- Prepare the block as outlined above. Before installing cylinder block pressure test kit, fill the water jacket with 3.8 L (1 gal) of antifreeze, and top it off with water. The antifreeze will penetrate any small cracks, and its color will help reveal their presence.
- Apply 138 kPa (20 lb/in.2) air pressure to the water jacket. Maintain this pressure for at least two hours to give the water and antifreeze mixture ample time to work its way through any cracks.
- Examine the outside diameter area of the liner flanges, oil passages, crankcase, and block exterior for the water and antifreeze mixture. If cracks are detected, the cylinder block must be replaced.
To avoid injury from flying debris when using compressed air, wear adequate eye protection (face shield or safety goggles) and do not exceed 40 psi (276 kPa) air pressure.
- After completing the test, remove the test deck plate and gasket, and the water inlet cover plate. Drain the water jacket. Blow out all cylinder block passages with compressed air.
After cleaning and pressure testing, inspect cylinder block deck flatness. Refer to "1.1.3.4 Inspection of Deck Flatness" .
Section 1.1.3.4
Inspection of Deck Flatness
Using an accurate straightedge and feeler gage, check the cylinder block for flatness. See Figure "Deck Flatness Inspection " .

|
1.Feeler Gage |
2.Straight Edge |
Figure 11. Deck Flatness Inspection
Check flatness next to the cylinder liner flanges on both sides. Check flatness between the liner flanges. The deck must be flat within 0.05 mm (.0020 in.) front-to-rear and side-to-side. If it is not, the cylinder block must be replaced.
NOTICE: |
|
Castings unprotected by grease or oil will rust. Rust on machined surfaces may cause leaks. |
If the cylinder block is not to be used immediately after inspection, spray the machined surfaces with engine oil. If the block is to be stored for an extended period of time, spray or dip it in a polar-type rust preventive, such as Valvoline Oil Company's "Tectyl 502-C," or equivalent.
Section 1.1.4
Assembly of Engine
After the cylinder block has been cleaned and inspected, assemble the engine as follows:
|
|
|
To avoid injury from flying debris when using compressed air, wear adequate eye protection (face shield or safety goggles) and do not exceed 40 psi (276 kPa) air pressure. |
Note: Before a reconditioned or new replacement cylinder block is used, steam clean it to remove the rust preventive, and blow out the oil galleries with compressed air.
Note: The block and the caps come from the factory with pre-stamped numbers.
- If a new replacement block is used, stamp the engine serial number and model number on the pad provided. See Figure
"Location of Engine Serial and Model Numbers"
.

1.Location of Engine and Model Serial Number
Figure 12. Location of Engine Serial and Model Numbers
- If no position numbers are stamped on the main bearings cap, start with the Number 1 cap and mark. See Figure
"Main Bearing Cap Position Numbers"
.

Figure 13. Main Bearing Cap Position Numbers
- Install the main bearing caps in their original positions. Refer to "1.6.5 Installation of Main Bearing Shell" .
- Install all required cup plugs. Use a good grade of non-hardening sealant, such as Loctite 620, or equivalent. Apply a thin coat of sealant just inside the chamfer where the plug is to be installed. Install using cup plug installation tool, J 41746
and handle, J 7079-2
. See Figure
"Cup Plug Installation Tool"
.

Figure 14. Cup Plug Installation Tool
Note: Whenever a pipe plug is removed from the cylinder block, the threads must be coated with Loctite pipe sealant with Teflon,PT-7271 , or equivalent, before reassembly. Certain replacement plugs may already have a sealant applied to the threads. This pre-coating will not be affected if pipe sealant with Teflon is also applied.
- Install all required pipe plugs.
- Clean and inspect all engine parts and subassemblies.
- Using new parts as required, install them on the cylinder block. See appropriate section of this manual for proper assembly procedure.
- Install all remaining accessories, fuel lines, electrical connections, controls, etc.
- Transfer the engine to a suitable engine dynamometer test stand. Operate the engine on a dynamometer following the Run-in procedure. Refer to "11.6.2.2 Run-in Procedure" .
- Reinstall the engine into the equipment from which it was removed. Refer to OEM guidelines.
| Series 55 Service Manual - 6SE55 |
| Generated on 10-13-2008 |