Section 1.9
Crankshaft Main Bearing Shells
The crankshaft main bearing shells are precision made, and are replaceable without machining. They consist of an upper bearing shell seated in each cylinder block main bearing support and a lower bearing shell seated in each main bearing cap. See Figure "Main Bearing Caps, Bearing Shells, and Crankshaft Thrust Washer" .

|
1.Upper Bearing Shell |
6.No. 4 Lower Thrust Bearing Shell |
|
2.Pulse Wheel (DDEC III) |
7.Lower Bearing Shell |
|
3.Crankshaft Timing Gear |
8.Splash Ring |
|
4.Main Bearing Cap |
9.Crankshaft Assembly |
|
5.Main Bearing Cap Bolt |
|
Figure 1. Main Bearing Caps, Bearing Shells, and Crankshaft Thrust Washer
Upper and lower bearing shells are located in their block and bearing caps by a tang. The tang is located at the parting line at one end of each bearing shell. The tangs are offset from center to aid proper insertion. Bearing shell sets are supplied as matched assemblies and should not be mixed.
A hole in each upper bearing shell lines up with the vertical oil passage in the cylinder block. Pressurized lubricating oil passes from the cylinder block, via the bearing shells, to the drilled passage in the crankshaft and to the connecting rods and connecting rod bearings. The upper bearing shell is also grooved.
Lower main bearing shells have no oil holes or grooves. The upper and lower main bearing shells must not be interchanged.
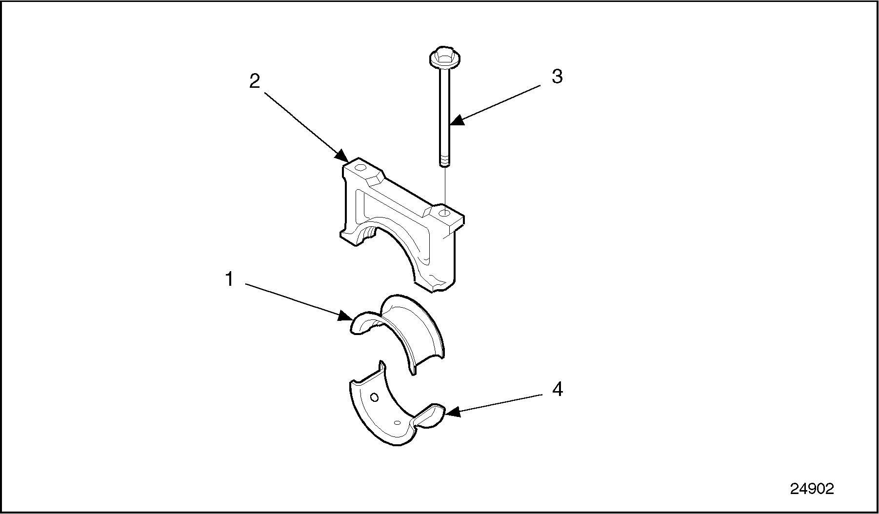
Thrust bearing shells absorb the crankshaft thrust. See Figure "Upper and Lower Thrust Bearing Shells, Main Bearing Cap and Bolts" .

|
1.Lower Thrust Bearing |
3.Main Bearing Cap Bolt |
|
2.Main Bearing Cap |
4.Upper Thrust Bearing |
Figure 2. Upper and Lower Thrust Bearing Shells, Main Bearing Cap and Bolts
The condition of the lower bearing shells may be ascertained by removing the main bearing caps.
Section 1.9.1
Repair or Replacement of Crankshaft Main Bearing Shell
To determine if replacement is necessary, perform the following procedure. See Figure "Repair or Replacement of Crankshaft Main Bearing Shells Flowchart" .

Figure 3. Repair or Replacement of Crankshaft Main Bearing Shells Flowchart
Section 1.9.2
Removal of Main Bearing Shell
Main bearing caps are numbered consecutively, indicating their respective positions. When removed, the bearing caps (and the bearing shells, if they are to be reinstalled) must be reinstalled in their original position. See Figure "Main Bearing Cap Position Numbers " .

Figure 4. Main Bearing Cap Position Numbers
- Drain ( refer to "13.4.1 Lubricating Oil" ) and remove the oil pan to expose the main bearing caps. Refer to "3.8.2 Removal of Oil Pan" .
- Remove the oil pump pickup pipe and the oil pump. Refer to "3.2.2 Draining and Removal of Oil Pump" .
- Remove one bearing cap at a time, and inspect the lower bearing shell. Refer to "1.9.2.1 Inspection of Bearing Shell"
.
Note: Remove and reinstall both upper and lower bearing shells for each main journal being inspected before moving on to the next main journal. Never remove more than one main bearing cap at a time.
- To remove the upper main bearing shells without removing the crankshaft, use the main bearing shell remover/installer tool set, J 41565. See Figure
"Main Bearing Shell Remover/Installer Tool Set"
.

Figure 5. Main Bearing Shell Remover/Installer Tool Set
- Bar the engine over using the square hole in the middle of the crankshaft pulley. Position the crankshaft throw for the main bearing being worked on so that the oil delivery hole is pointing upward.
- Install the roll pin to the oil delivery hole in the crankshaft journal. See Figure
"Bearing Installation"
. If this operation is performed in-frame, use petroleum jelly to retain the roll pin in the hole.

1.Pulley
3.Bearing Removal Pin
2.Crankshaft
4.Barring Tool
Figure 6. Bearing Installation
- Using the main bearing cap bolts, install the assembled main bearing cap remover/installer tool to the main bearing saddle. The word "Front," stamped on the tool, must face the front of the engine. Make certain the roll pin in the oil delivery hole registers with the cut-out section of the bearing shell tool before tightening the main bearing cap bolts. See Figure
"Remover/Installer Tool Installation"
.

Figure 7. Remover/Installer Tool Installation
- Tighten the main bearing cap bolts to 300-330 N · m (221-243 lb · ft) torque, plus 90 -100 ° angular tightening torque.
- Using the square hole in the middle of the crankshaft pulley, bar the engine over in a clockwise direction (as viewed from the front) 1805, until the tang of the upper main bearing contacts the block. This will roll the bearing shell tool into the upper main bearing saddle.
Note: Keep all bearing shells segregated by number. This will ensure that they are reinstalled in the correct position. Shells may be marked with a permanent marker. Do not punch mark or otherwise mar the surfaces to mark them.
- Remove the main bearing cap tool from the saddle.
- Remove the upper shell from the tool.
Section 1.9.2.1
Inspection of Bearing Shell
Bearing shell failures may result from oil deterioration, oil contamination, or oil loss. Lubricating oil analysis may be required to determine whether corrosive acid and sulphur are present. These may cause etching, flaking, and pitting. Bearing seizure may result from low oil.
Inspect the bearing shells for scoring, pitting, flaking, etching, or signs of overheating. The bearing shell overlay may develop minute cracks or small, isolated cavities during normal engine operation. These are characteristic of and not detrimental to this bearing shell type. If this type of surface imperfection is detected, do not replace the bearing shells.
Inspect the bearing shell backs for bright spots. These indicate that the bearing shells have been moving in the bearing caps. If such spots are detected, discard the bearing shells.
Measure the bearing thickness at 90 ° from the parting line. See Figure "Main Bearing Shell Measurements" .

Figure 8. Main Bearing Shell Measurements
Tool J 4757 , placed between the bearing shell and a micrometer, will provide an accurate measurement. The bearing shell thickness equals the total thickness of the tool's steel ball and the bearing shell, less the ball's diameter. This is the only reliable method of measuring the bearing shell thickness, unless a special micrometer is available.
The minimum thickness of a worn standard main bearing shell is 3.454 mm (0.1559 in.). If any bearing shell is thinner than this dimension, replace all bearing shells. A new, standard bearing shell has a thickness of 3.466 ± 0.012 mm (.1364 ± .0005 in.). If a bearing shell shows wear in the overlay, across the width of the shell, replace all bearing shells.
Also check the clearance between the main bearing shells and the crankshaft journals. This clearance may be determined with the crankshaft in place by a soft plastic measuring strip squeezed between the journal and the bearing shell. Refer to "1.6.3.2 Adjacent Journal Alignment Test" . With the crankshaft removed, measure the outside diameter of the crankshaft main bearing journals and the inside diameter of the main bearing shells when installed and properly torqued to 300-330 N · m (221-243 lb · ft), plus 90 - 100 ° angular tightening torque.
When removed from the engine, the bearing shells do not form a true circle. When installed, they are squeeze-fitted into the main bearing bore. This crush assures uniform contact between the bearing shell and bearing seat. Bearing shells without sufficient crush will lack uniform contact. This will cause shiny spots to develop on the back of the shells. Such shells must be replaced.
When installing replacement bearing shells, thoroughly inspect the crankshaft journals. Damaged bearing shells may also cause bending fatigue in the crankshaft. Refer to "1.9.2.1 Inspection of Bearing Shell" .
If one bearing shell requires replacement, install all new upper and lower shells. Any time a new or reground crankshaft is installed, replace all bearing shells.
Note: Bearing shells are NOT reworkable from one undersize to another undersize under any circumstances.
Inspect the crankshaft thrust bearing shells. If shells are discolored or excessively worn, or if crankshaft end play is excessive, replace the thrust bearings.
Inspect the crankshaft thrust surfaces. Refer to "1.6.3.1 Inspection of Crankshaft" .
Section 1.9.3
Installation of Main Bearing Shell
Install the main bearing shells as follows:
- Install the upper shell in the bearing shell installer/remover tool and roll pin.
- Install the main bearing, cap tool to the main bearing journal saddle.
- Using the square hole in the middle of the crankshaft pulley, bar the engine over in a clockwise direction (as viewed from the front) 180 ° , until the tang of the upper main bearing contacts the block. This will roll the bearing shell into the upper main bearing saddle.
- Remove the bearing shell installer/remover tool.
Note: Ensure the thrust bearing shells are installed in the No. 4 bearing saddle and cap.
- Install lower main bearing shell into each main bearing cap.
- Install main bearing cap assemblies in the locations from which they were removed.
- Tighten the main bearing cap bolts to 300-330 N · m (221-243 lb · ft) torque, plus 90 - 100 ° angular tightening torque.
- Install the oil pump pickup pipe and the oil pump. Refer to "3.2.3 Installation of Oil Pump" .
- Install the oil pan. Refer to "3.8.3 Installation of Oil Pan" .
| Series 55 Service Manual - 6SE55 |
| Generated on 10-13-2008 |