Section 1.23
Decompression Valve Engine Brake (Dvb) Hydraulic Pump
Two engine brake packages are offered on the engine: the Konstrandrossel (KD brake) with exhaust brake and a D-brake with exhaust brake. Both the KD brake and D-brake use a decompression valve in each cylinder head. The Konstrandrossel or "constant throttle" holds the decompression valve open continuously while braking. The decompression valves are pneumatically actuated through a connection to the vehicle air brake supply tank.
The D-brake provides increased braking performance by opening the decompression valves for a short time from just before TDC to about 90 to 120 ° after TDC. A hydraulic pump driven from the front gear train actuates the decompression valves in the D-brake system. Oil is directed from the hydraulic pump in engine firing order sequence. See Figure "DVB Hydraulic Pump" .

Figure 1. DVB Hydraulic Pump
Section 1.23.1
Repair or Reuse of DVB Hydraulic Pump
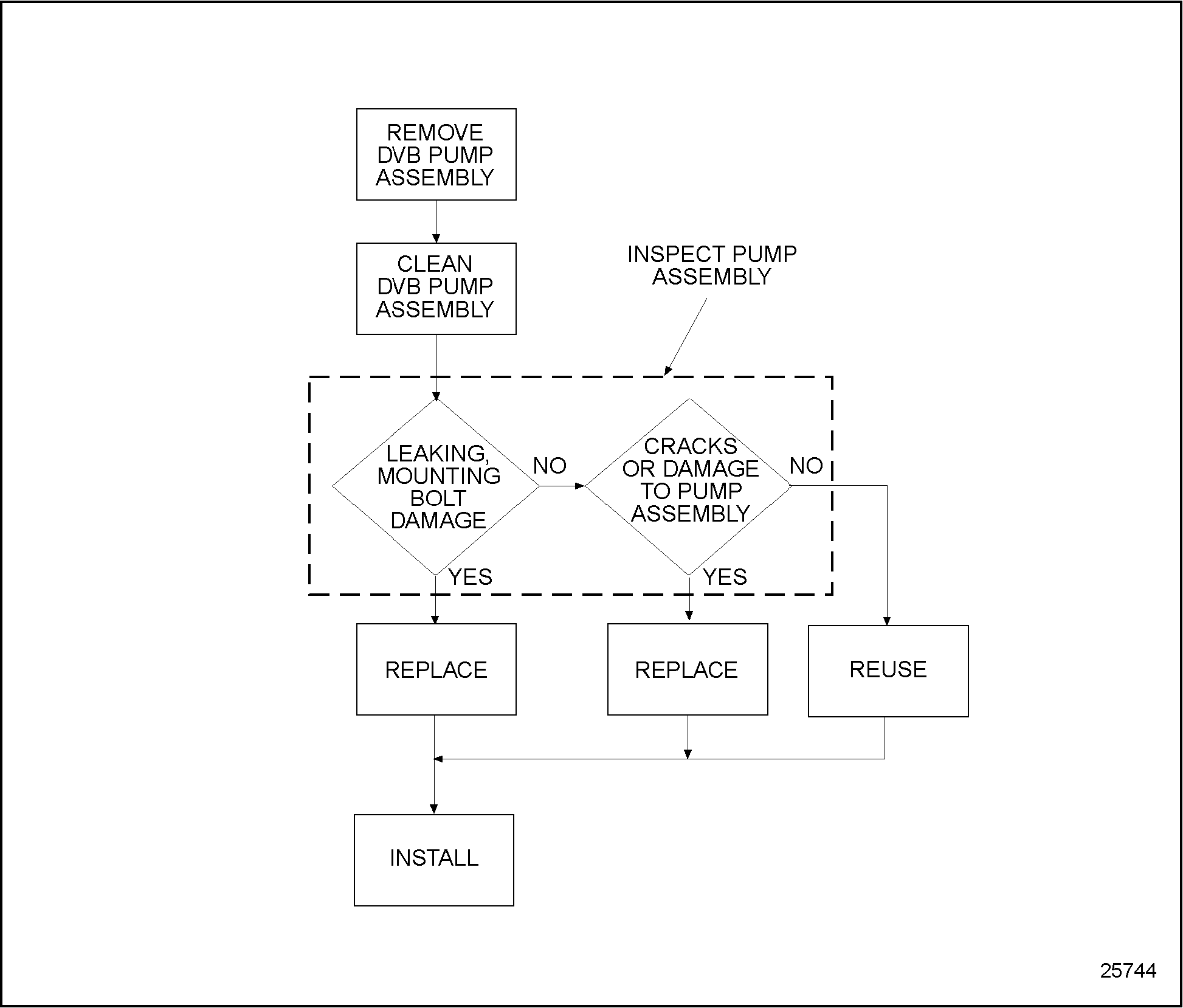
Determine if repair or replacement of DVB hydraulic pump is necessary. See Figure "Repair or Replacement of DVB Hydraulic Pump Flowchart" .

Figure 2. Repair or Replacement of DVB Hydraulic Pump Flowchart
Section 1.23.2
Removal of DVB Hydraulic Pump
Pre-cleaning is not necessary.
Note: The hydraulic pump is timed to the engine gear train. Before disassembly, mark each of the six supply lines for proper reassembly. The timing order of the hydraulic pump is the same as the engine firing order.
Remove the DVB hydraulic pump as follows:
- Position the No. 1 cylinder at TDC. Refer to "12.2 Adjustments of Valve Lash" .
- Remove the six supply lines from the hydraulic pump.
- Remove the electrical harness connector from the control solenoid.
- Remove the DVB hydraulic pump oil supply line.
- Remove two opposite side mounting bolts and replace with DVB pump guide studs J-34691-A.
- Remove the remaining two mounting bolts, and remove the hydraulic pump. See Figure
"DVB Pump Removal"
.

1.DVB Pump Assembly
3.Camshaft DVB Pump Drive Gear
2.O-ring Seal
Figure 3. DVB Pump Removal
Section 1.23.2.1
Inspection of DVB Hydraulic Pump
Inspect the DVB hydraulic pump components as follows:
- Inspect the DVB hydraulic pump.
- Inspect the DVB hydraulic pump for cracks or housing damage.
- Look for drive gear tooth damage.
- Examine the pump for evidence of leaking oil seals.
- Check the electrical connector for damage.
- Examine the fitting threads for damage.
- If any of the conditions listed above are detected, replace the hydraulic pump.
Section 1.23.3
Installation of DVB Hydraulic Pump
Install the DVB hydraulic pump as follows ( see Figure "DVB Hydraulic Pump Installation" ):

|
1.DVB Pump Assembly |
3.Camshaft DVB Pump Drive Gear |
|
2.O-ring Seal |
|
Figure 4. DVB Hydraulic Pump Installation
Note: Ensure that the No. 1 cylinder is at TDC prior to installing the hydraulic pump.
Note: The location of the camshaft DVB drive gear. If the crankshaft is properly positioned, the timing marks will be visible on the drive gear through the inspection hole in the upper front cover.
- Rotate the DVB hydraulic drive gear to align the timing mark on the gear to the notch on the pump housing.
- Install a new O-ring seal on the pump.
- Position the DVB hydraulic pump on the guide studs J-34691-A.
- Check if the beveled tooth is visible through the inspection hole in the upper front cover.
Note: Slight rocking of the pump may be required to align the hydraulic pump drive gear to the engine gear train.
- Taking care not to rotate the hydraulic pump drive gear, install the hydraulic pump onto the front cover.
- Remove the two guide studs.
- Install four mounting bolts. Tighten them to 50 N · m (43 lb · ft) torque.
- Locate the No. 1 cylinder on the hydraulic pump, and install the oil supply line.
- Install the remaining oil supply lines in the proper sequence.
- Install the DVB hydraulic pump oil supply line.
- Connect the electrical connection to the solenoid valve.
- Remove the timing degree strip and pointer.
| Series 55 Service Manual - 6SE55 |
| Generated on 10-13-2008 |