Section 1.4
Valves
Four valves per cylinder, two intake and two exhaust, provide the engine with excellent breathing and cooling characteristics. Valves are made of heat-treated alloys, with precision ground heads and stems. Replaceable hard-alloy valve seat inserts are pressed into the intake and exhaust ports. Valves are aligned by valve guides pressed into the cylinder head. See Figure "Valve Assembly" .

|
1.Exhaust Valve (2) |
8.Valve Keepers |
|
2.Valve Seat Insert |
9.Valve Spring |
|
3.Exhaust Porting |
10.Valve Guide |
|
4.Cylinder Head |
11.Inlet Porting |
|
5.Lower Valve Seat |
12.Inlet Valve (2) |
|
6.Valve Stem Seal |
13.Water Jacket |
|
7.Upper Valve Seat |
14.Injector Nozzle Tube |
Figure 1. Valve Assembly
Valves are retained by upper valve seats and valve keepers. Valve stem seals provide controlled valve stem lubrication while limiting oil consumption.
Section 1.4.1
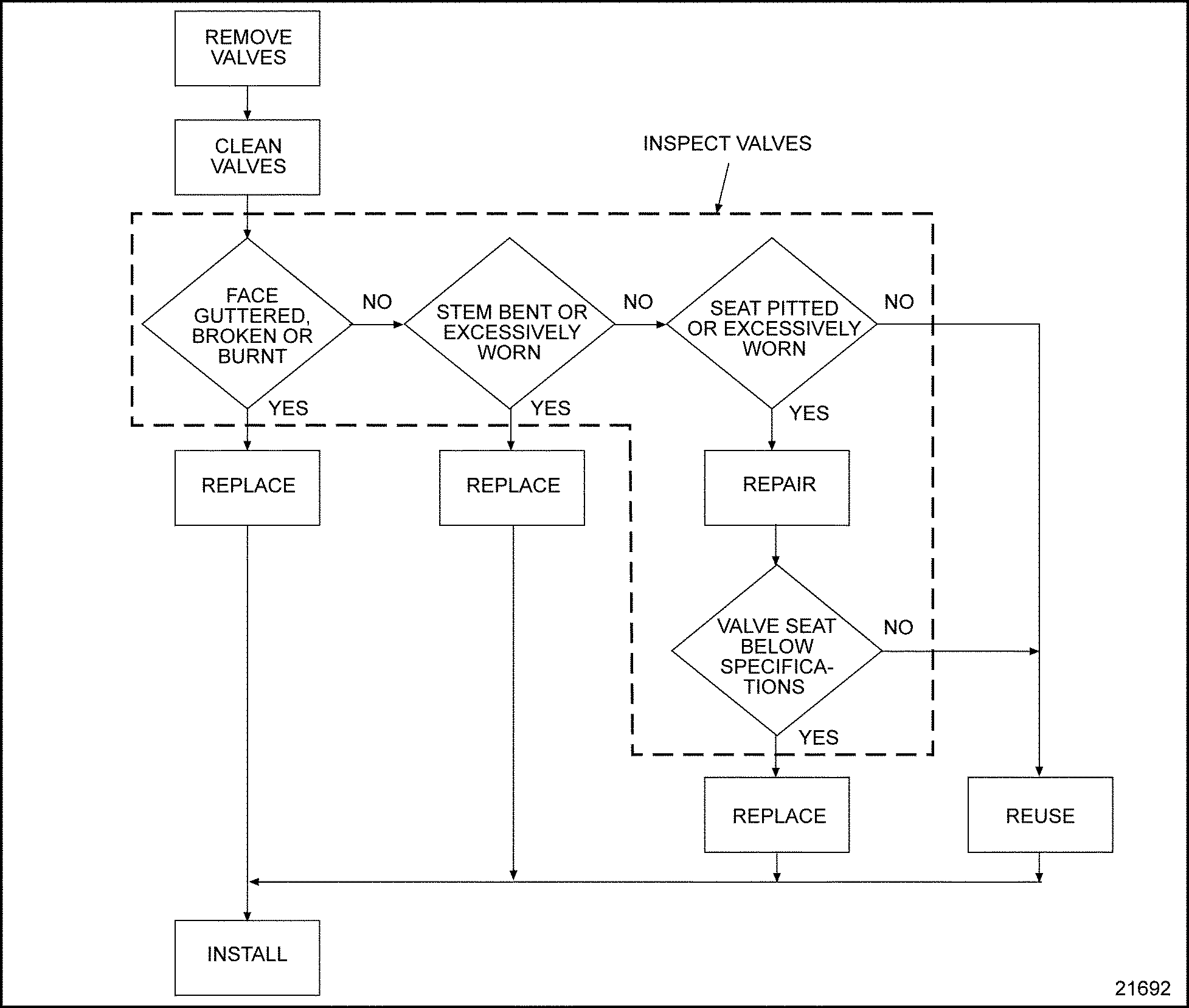
Repair or Replacement of Valve
To determine if repair is possible or replacement is necessary, perform the following procedure. See Figure "Repair or Replacement of Valves Flowchart" .

Figure 2. Repair or Replacement of Valves Flowchart
Section 1.4.2
Cleaning and Removal of Valve Spring
Remove the valve spring as follows:
- Remove the rocker cover and gasket. Refer to "1.3.2 Removal of Rocker Cover" .
- Remove the cylinder head from engine. Refer to "1.2.2 Removal of Cylinder Head" .
- Remove the rocker arm post bolts and the rocker arm shaft assembly.
- Remove the valve bridge.
- Remove injector nozzle. Refer to "1.2.3 Disassembly of Cylinder Head" .
- Attach the valve spring compressor,J 41587
, to the appropriate valve. See Figure
"Valve Spring Compressor Installation"
.

Figure 3. Valve Spring Compressor Installation
To avoid injury from flying parts when working with components under spring tension, wear adequate eye protection (face shield or safety goggles).
- Compress the valve spring, and remove the valve keepers, using a magnet to keep them from falling into the oil return galleries.
- Release the spring, and remove the upper valve seat, spring and lower valve seat. If the valve stem seal is to be replaced, remove and discard it.
- Remove the valves from the cylinder head. Repeat step 1 through step 8 on remaining cylinder heads.
Section 1.4.2.1
Cleaning of Valves and Related Parts
Clean the valves and related parts as follows:
- Using proper eye protection, clean all of the disassembled parts with fuel oil.
To avoid injury from flying debris when using compressed air, wear adequate eye protection (face shield or safety goggles) and do not exceed 40 psi (276 kPa) air pressure.
- Dry parts with compressed air.
Section 1.4.3
Removal of Valve Guide
Valve guides are unserviceable. If defective replace cylinder head assembly.
Section 1.4.3.1
Inspection of Valve
Inspect the valve as follows:
- Examine valve stems for scratches and scuff marks. If these are detected, the valve must be replaced.
- Examine valve faces for ridges and cracks. Some valve face pitting is acceptable, if no leak paths are evident. If leak paths are detected, install new valves.
- Check for valve face warping. If the valve face is warped, replace the valve.
Note: Valve face grinding is not authorized.
- Check the valve stem for bending. If the valve stem is bent, replace the valve.
- Using a micrometer, measure valve stem diameter. See Figure
"Minimum Valve Stem Diameter"
. The minimum valve stem diameter for intake valves
is 8.930 mm (0.3516 in.). The minimum stem diameter for exhaust valves
is 8.920 mm (0.3512 in.). Valves with smaller stem diameters than the minimums are excessively worn and must
be replaced.

Figure 4. Minimum Valve Stem Diameter
- Inspect valve guide. Refer to "1.4.3.3 Inspection of Valve Guide" .
Section 1.4.3.2
Inspection of Valve Spring
Inspect the valve spring as follows:
- Inspect the valve spring for pits and cracks. If pits or cracks are detected, the spring must be replaced.
Section 1.4.3.3
Inspection of Valve Guide
Inspect the valve guide as follows:
- Inspect the valve guide for cracks, chipping, scoring, or excessive wear. If any of these conditions is detected, the cylinder head assembly must be replaced.
- Measure the valve guide bore with a small hole gage or gage pin. Measure the valve stem with a micrometer. Compare the measurements to determine valve stem clearance.
- If the intake valve stem clearance is greater than 0.10 mm (0.0039 in.), replace the cylinder head. Refer to section 1.2.5. Verify repairs. Refer to "11.3 Running" .
- If the exhaust valve stem clearance is greater than 0.11 mm (0.0043 in.), replace the cylinder head. Refer to section 1.2.5. Verify repairs. Refer to "11.3 Running" .
Section 1.4.3.4
Inspection of Valve Seat Insert
Inspect the valve seat insert as follows:
- Inspect the valve seat insert for wear or cracking.
- If either condition is detected, replace the cylinder head. Refer to "1.2.1 Repair or Replacement of Cylinder Head" .
- If no defects are found, reuse the cylinder head. Refer to "1.2.1 Repair or Replacement of Cylinder Head" .
- Using dial indicator,J 8165-2
, and pilot, check the valve seat runout. See Figure
"Checking Valve Seat Runout"
.
- If the intake valve seat runout is within 0.10 mm (.0039 in.), no adjustment is required. If the intake valve seat runout is not within 0.10 mm (.0039 in.), grind the intake valve seats to a 305 angle, being sure to lightly grind a full 3605.
- If the exhaust valve seat runout is within 0.04 mm (.0016 in.), no adjustment is required. If the exhaust valve seat runout is not within 0.04 mm (.0016 in.), grind the exhaust valve seats to a 455 angle, being sure to lightly grind a full 3605. Install the valves. See Figure "Checking Valve Seat Concentricity" .

Figure 5. Checking Valve Seat Runout

Figure 6. Checking Valve Seat Concentricity
Note: Valve seat insert grinding should be limited to light clean-up or concentricity trueing. For a fine, accurate finish, the eccentric grinding method using tool J 7040A is recommended, because the grinding wheel contacts the insert at one point at a time. A micrometer feed also permits fine adjustments.
- The valve head recess depth below the firedeck is increased by valve and insert grinding. It should be checked with a sled gage, J 22273-01
. See Figure
"Measuring Valve Head Recess Depth"
.

Figure 7. Measuring Valve Head Recess Depth
- If the intake valve head recess depth gage does not fall between 0.81 mm and 1.02 mm (.032 in. and .040 in.) when checked with a sled gage, the cylinder head must be replaced.
- If the exhaust valve head recess depth does not fall between 0.70 mm and 1.15 mm (.028 in. and .045 in.) when checked with a sled gage, the cylinder head must be replaced.
To avoid injury from flying debris when using compressed air, wear adequate eye protection (face shield or safety goggles) and do not exceed 40 psi (276 kPa) air pressure.
- After light clean-up, thoroughly clean the valve seat with fuel oil, and blow dry with compressed air.
- Check seat-to-valve face contact by applying a light coat of Prussian Blue (or equivalent) to the valve seat land. Insert the valve in the guide, and bounce the head on the seat insert without rotating the valve. A full 360 ° contact line should appear approximately centered on the valve face.
Section 1.4.4
Installation of Valve Guide
Valve guide installation is not authorized. Replace cylinder head assembly if valve guides require replacement.
Section 1.4.5
Installation of Valve
Perform the following procedure for valve installation:
- Lubricate the valve stem with clean engine oil, and slide it into the valve guide, against the valve seat. If a valve is being reused, install it in its original position.
- Install the valve stem oil seals using valve stem oil seal installation tool,J 41571
. See Figure
"Valve Stem Oil Seal Installation Tools"
.

1.Exhaust Valve
4.Lower Valve Seat
2.Valve Seat Insert
5.Valve Stem Seal
3.Valve Guide
Figure 8. Valve Stem Oil Seal Installation Tools
- Install the lower valve spring seat over the valve guide.
- Install the protector cap over the valve stem using Valve Stem Seal InstallerJ 29579
.
Note: The valve stem oil seal may be installed with or without oil.
- Push the seal over the protector.
- While holding the valve head against the seat, push the seal down on the valve stem using the seal installer,J 39109 .
- When the installer contacts the cylinder head, the seal is correctly positioned. Ensure the installer is square against the cylinder head.
- Remove the seal installer and protector cap.
Note: Ensure all lower valve spring seats have been installed before the valve stem seal is installed.
- Install the valve spring and upper valve seat. See Figure
"Valve Stem Oil Seal Installation"
.

1.Lower Valve Seat
3.Valve Keepers
2.Upper Valve Seat
4.Valve Spring
Figure 9. Valve Stem Oil Seal Installation
- Using the valve spring compressor tools,J 41587
andJ 41587-3
, compress the valve spring, and install the valve keepers, as required.
Note: Always install new valve keepers when valves are installed.
Note: Do not compress the spring any more than necessary to install the valve keepers, to avoid damaging the oil seal.
- Tap the end of the valve stem sharply with a plastic mallet to seat the valve keepers, as required.
- Repeat the previous three steps as required to install all removed valves and springs.
- Reinstall the cylinder head. Refer to "1.2.6 Installation of Cylinder Head" .
- Install the rocker arm assemblies. Refer to "1.2.6 Installation of Cylinder Head" .
- Adjust the valve lash. Refer to "12.2 Adjustments of Valve Lash" .
- Install any engine components that were removed.
- Fill the engine crankcase with the proper lubricant. Refer to "13.4.1 Lubricating Oil" .
- Fill the cooling system. Refer to "13.4.4 Cooling System" .
- Start the engine, and check for leaks.
| Series 55 Service Manual - 6SE55 |
| Generated on 10-13-2008 |