Section 3.2
Oil Pump
A gear-type oil pump is mounted to the cylinder block and is gear driven from the rear end of the crankshaft.
An inlet pipe assembly with a screen is attached to the inlet opening of the pump body. The screen end of the inlet pipe assembly is supported by brackets mounted to the cylinder block. The inlet screen strains out foreign material in the oil to keep it from entering the pump. See Figure "Oil Pump Mounting" .

|
1.Relief Valve |
3.Pickup and Screen Assembly |
|
2.Oil Pump Assembly |
|
Figure 1. Oil Pump Mounting
Section 3.2.1
Repair or Replacement of Oil Pump
Repair of this component is not authorized at this time.
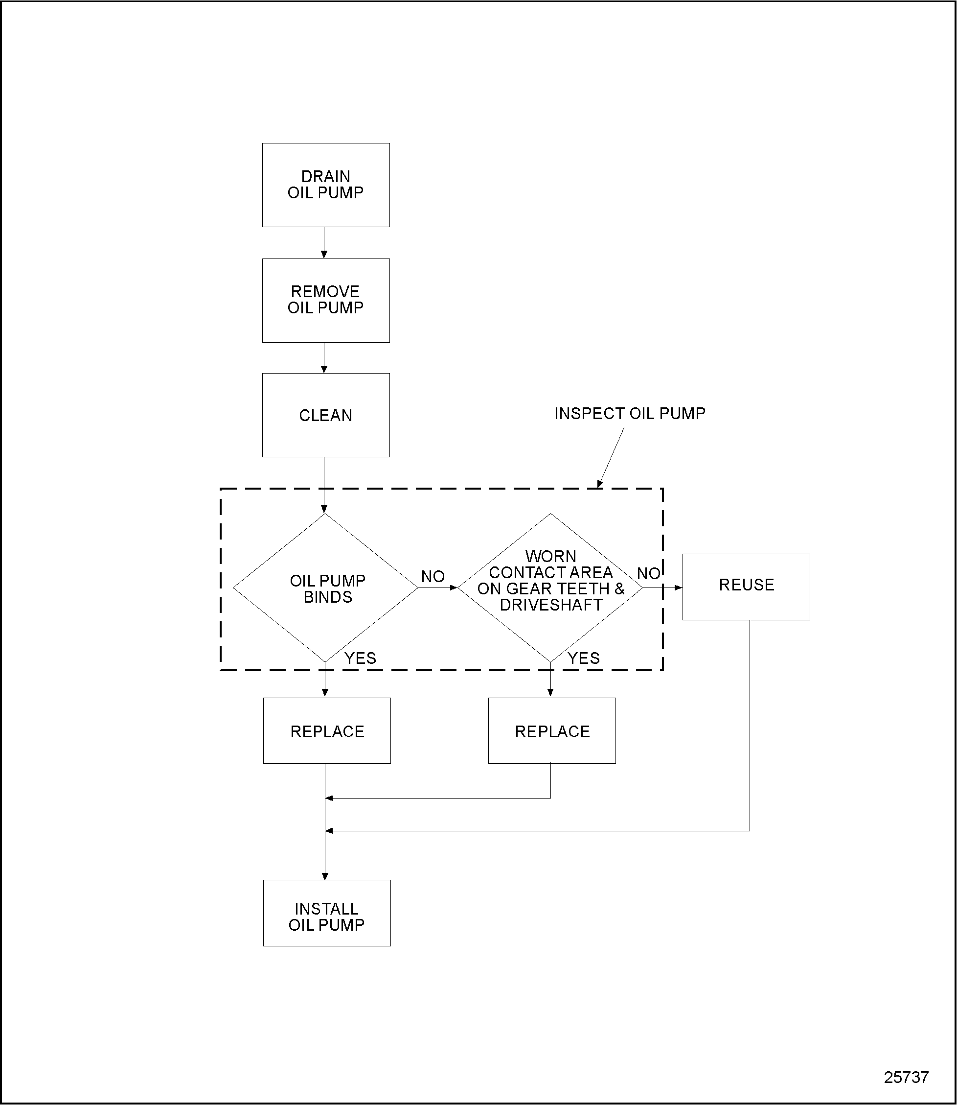
To determine if repair is possible or replacement is necessary, perform the following procedure. See Figure "Oil Pump Repair or Replacement Flowchart" .

Figure 2. Oil Pump Repair or Replacement Flowchart
Section 3.2.2
Draining and Removal of Oil Pump
Pre-cleaning is not necessary.
Remove the drain plug from the oil pan, and drain the oil.
Remove the oil pump as follows:
- Remove the oil pan. Refer to "3.8.2 Removal of Oil Pan"
.
NOTICE:
The thru-bolts must be loosened first to prevent twisting the oil pickup tube. This could cause stress cracks at the flange joints.
- Loosen, but do not remove, the thru-bolts securing the oil pump bracket to the pickup tube. See Figure
"Oil Pump and Pickup Components"
.

1.Oil Pump Assembly
7.Support Bracket Bolts (2)
2.Oil Pressure Relief Valve
8.Cylinder Block Support Bracket Bolts (2)
3.Relief Valve Bolt (2)
9.Right Side Support Bracket
4.Oil Pump Mounting Bolt
10.Pickup Tube and Screen Assembly
5.Gasket
11.Support Bracket Lock Nuts (2)
6.Pickup Tube Bolts (2)
12.Left Side Support Bracket
Figure 3. Oil Pump and Pickup Components
- Remove the two bolts that secure the oil pump pickup support bracket to the cylinder block.
- Remove the two bolts that secure the oil pump pickup tube to the oil pump.
- Tap the pickup tube gently to loosen it from the gasket. Remove the pipe.
- Remove the three bolts retaining the oil pump and the relief valve to the cylinder block.
- If necessary, gently pry the oil pump assembly to loosen it from the block.
Section 3.2.2.1
Inspection of Oil Pump
Inspect the oil pump as follows:
|
|
|
To avoid injury from flying debris when using compressed air, wear adequate eye protection (face shield or safety goggles) and do not exceed 40 psi (276 kPa) air pressure. |
- Wash the pump in clean fuel oil, and dry it with compressed air.
- Remove any gasket material adhering to the oil pump housing at the inlet pipe.
To avoid injury from flying debris when using compressed air, wear adequate eye protection (face shield or safety goggles) and do not exceed 40 psi (276 kPa) air pressure.
- Clean the inlet pipe and screen assembly in clean fuel oil, and blow dry with compressed air.
- Visually inspect the components for damage.
- If visual inspection reveals any serious component damage, the component should be replaced.
Section 3.2.3
Installation of Oil Pump
Install the oil pump as follows:
- Position the oil pump on the cylinder block so that the drive gear of the oil pump meshes with the crankshaft drive gear.
- Insert three bolts through the oil pump mounting feet into the cylinder block. Torque the bolts to 30-38 N · m (22-28 lb · ft).
- Fasten a dial indicator and magnetic base to the cylinder block with the indicator tip resting on a tooth of the oil pump drive gear. See Figure
"Oil Pump Drive Gear to Crankshaft Gear Lash Measurement"
.

1.Oil Pump Assembly
2.Magnetic Base Dial Indicator
Figure 4. Oil Pump Drive Gear to Crankshaft Gear Lash Measurement
- The oil pump drive gear lash must be between 0.099-0.451 mm (0.004-0.018 in.).
- Install the pressure relief valve. Refer to "3.3.3 Installation of Oil Pressure Relief Valve" .
- Install new gaskets, and attach the pump pickup tube to the oil pump housing.
Note: Do not tighten a bolt until all bolts have been started.
- Tighten the elbow-to-block bolts first, then tighten the elbow-to-pump bolts. Torque bolts to 30-38 N · m (22-28 lb · ft).
NOTICE:
Tighten the thru-bolts last to prevent twisting the oil pickup tube. This could cause stress cracks at the flange joints.
- Install the washers and bolts, and tighten the bolts to 58-73 N · m (43-54 lb · ft).
- Torque the two bolts retaining the support bracket to block to 30-38 N · m (22-28 lb · ft).
- Ensure all bolts are tight to ensure there are no oil leaks.
- Install the oil pan. Refer to "3.8.3 Installation of Oil Pan" .
- Fill the crankcase to the proper level. Refer to "13.4.1 Lubricating Oil" .
| Series 55 Service Manual - 6SE55 |
| Generated on 10-13-2008 |