Section 12.2
Adjustments of Valve Lash
Accurate adjustment of intake and exhaust valve lash is important if maximum performance and economy are to be obtained.
Intake and exhaust valve lash are adjusted by means of an adjusting set screw and locknut located at the push rod end of the rocker arm. See Figure "Valve Height Adjustment Components" .

|
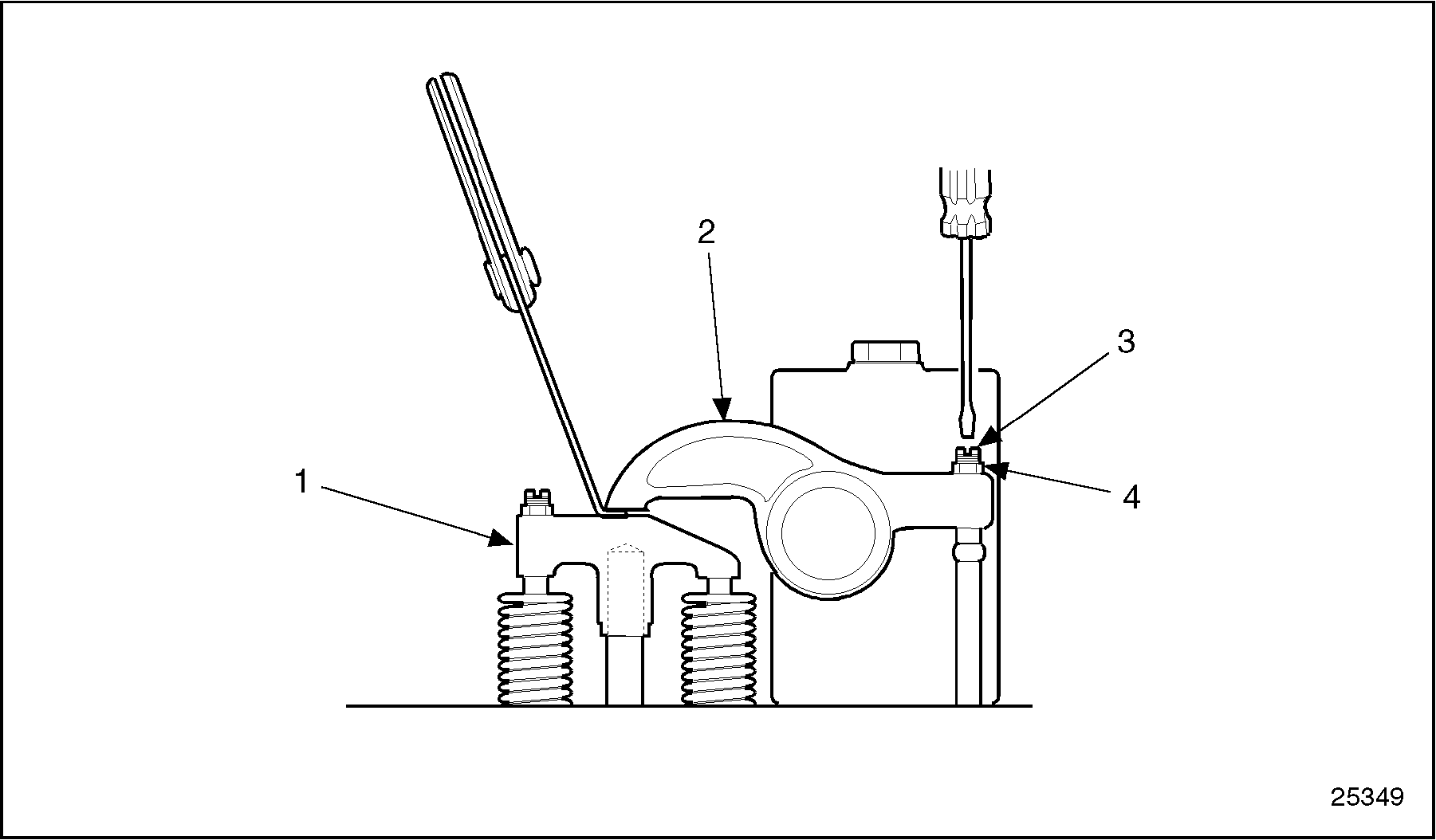
1.Valve Bridge |
3.Adjusting Screw |
|
2.Rocker Arm Assembly |
4.Locknut |
Figure 1. Valve Height Adjustment Components
Note: Check and adjust valve lash only when engine is cold or slightly warmed up (wait at least 20 minutes after switching off engine).
See Figure "Valve Adjustment Sequence" for the proper valve adjustment order.

Figure 2. Valve Adjustment Sequence
Prior to adjusting the valves, perform the following procedure:
- Disconnect the cables at the batteries.
- Remove the engine rocker covers. Refer to "1.3.2 Removal of Rocker Cover" .
- Insert a 3/4 in. drive breaker bar or ratchet into the square hole in the center of the crankshaft pulley. Bar the engine over.
- Rotate the crankshaft until the number one piston is at top dead center.
- Check whether the No.1 and No. 6 cylinder pushrods rotate freely. Both intake and exhaust valve pushrods must be able to rotate freely.
- With the valves of No. 1 cylinder closed, it is now possible to check and adjust valves 1I, 1E, 3I, 6E, 7I and 10E. See Figure "Valve Adjustment Sequence" , step 1.
Starting with the first cylinder, adjust the valve lash as follows:
- Check the alignment of the valve bridge contact to exhaust and intake valve stems. Valve bridge adjustment can be made by loosening the lock nut, and turning the adjusting screw until contact is made with the valve stem.
- Place valve bridge in holding tool J 41569. Tighten lock nut to 18 - 22 lb · ft (25 - 30 N · m).
- Install valve bridge on guide and recheck alignment, readjust if needed.
- Measure the valve lash by inserting a feeler gage between the rocker arm and the valve bridge. Use a .016 in. (0.406 mm) feeler gage to measure intake valve lash. Use a .020 in (0.508 mm) feeler gage to measure exhaust valve lash. See Figure
"Valve Lash Adjustment"
.

1.Valve Bridge
3.Adjusting Screw
2.Rocker Arm Assembly
4.Locknut
Figure 3. Valve Lash Adjustment
Note: The valve lash is correctly adjusted when, after tightening the locknut, a slight resistance is felt when the feeler gage is removed.
- To adjust, loosen the locknut, and adjust the clearance using the adjusting screw
- Tighten the locknut, and check the lash. Correct as necessary.
- Bar engine over 360 ° in direction of engine rotation.
- Adjust remaining valves 4E, 5I, 8E, 9I 11I and 12E. See Figure "Valve Adjustment Sequence" , step 2.
- After final lash is obtained. Torque adjusting screw locknut to 35-38 lb · ft (48-52 N · m).
- Using new gaskets, install rocker arm covers. Torque mounting bolts to 17-20 lb · ft (23-27 N · m).
| Series 55 Service Manual - 6SE55 |
| Generated on 10-13-2008 |