Section 1.15
Front Oil Seal
An oil seal is used on the front cover to retain the lubricating oil in the crankcase. The sealing lips of the front oil seal are held firmly, but not tightly, against the crankshaft thus preventing oil from escaping from the engine crankcase.
The lips of the front oil seal bear against the crankshaft pulley/hub surface. See Figure "Front Oil Seal Location" .

|
1.Front Oil Seal |
3.Front Cover |
|
2.Crankshaft |
|
Figure 1. Front Oil Seal Location
Section 1.15.1
Replacement of Front Oil Seal
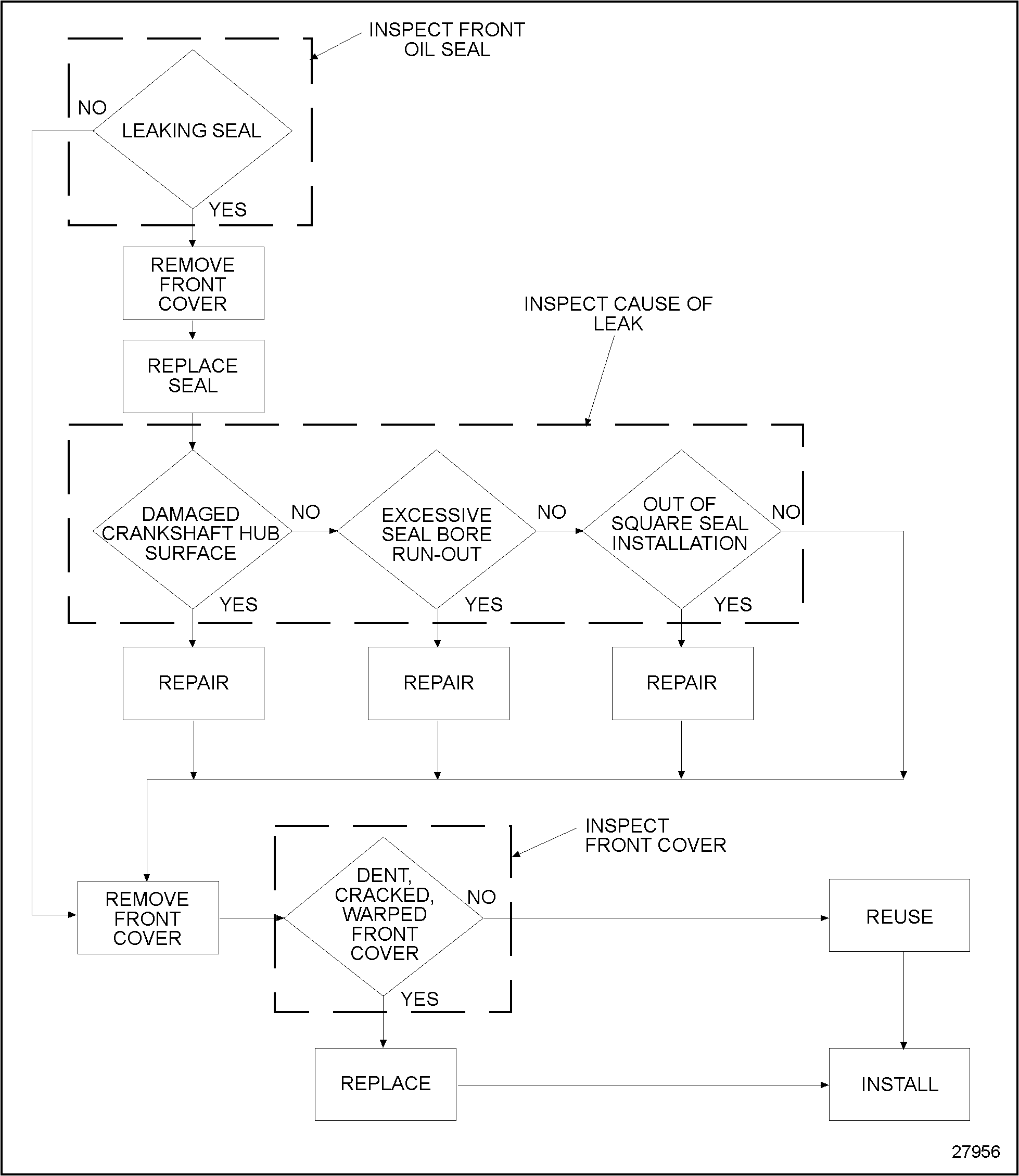
To determine if replacement of the front oil seal is necessary, perform the following procedure. See Figure "Flowchart for Replacement of Front Oil Seal" .

Figure 2. Flowchart for Replacement of Front Oil Seal
Section 1.15.2
Removal of Front Oil Seal
If the front cover is installed, refer to "1.15.3 Removal of Front Oil Seal (Front Cover Installed)" .
If the front cover is removed, refer to "1.15.5 Removal of Front Oil Seal (Front Cover Removed)" .
Section 1.15.3
Removal of Front Oil Seal (Front Cover Installed)
Remove the front oil seal as follows:
|
|
|
To avoid personal injury when blow drying, wear adequate eye protection (safety glasses or face plate) and do not exceed 276 kPa (40 lb/in. 2 ) air pressure. |
- Preclean the front cover using clean fuel oil, and dry with compressed air.
- Remove the fan assembly. Refer to "4.3.2 Removal of Engine Cooling Fan" .
- Remove the accessory drive belts. Refer to OEM guidelines.
- Remove the crankshaft vibration damper. Refer to "1.13.2 Removal of Crankshaft Vibration Damper" .
- Remove the crankshaft pulley. Refer to "1.14.2 Removal of Crankshaft Pulley"
.
NOTICE:
To avoid front cover and crankshaft end damage, use care when removing the front oil seal.
- Remove the front oil seal from the front cover using a slide hammer. See Figure
"Crankshaft Front Oil Seal Removal"
.

1.Slide Hammer
3.Front Oil Seal
2.Crankshaft
4.Front Cover
Figure 3. Crankshaft Front Oil Seal Removal
Section 1.15.3.1
Inspection of Front Cover Prior to New Front Oil Seal Installation
Inspect the front cover as follows:
- Visually check the front cover for dents, cracks, and warpage.
- If the front cover has dents, cracks, or warpage, replace the front cover. Refer to "1.15.4 Installation of Front Oil Seal (Front Cover Installed)" .
- If the front cover has no dents, cracks, or warpage, reuse the front cover. Refer to "1.15.4 Installation of Front Oil Seal (Front Cover Installed)" .
Section 1.15.4
Installation of Front Oil Seal (Front Cover Installed)
Install the front oil seal as follows:
- Install new front oil seal using special tool VM-1015. See Figure
"Front Oil Seal Installation"
.

1.Front Oil Seal
3.Front Cover
2.Crankshaft
Figure 4. Front Oil Seal Installation
- Install crankshaft pulley. Refer to "1.14.3 Installation of Crankshaft Pulley" .
- Install crankshaft vibration damper. Refer to "1.13.3 Installation of Crankshaft Vibration Damper" .
- Install accessory drive belts. Refer to OEM guidelines.
- Install fan assembly. Refer to "4.3.3 Installation of Engine Cooling Fan" .
- Run the engine to verify repair.
Section 1.15.5
Removal of Front Oil Seal (Front Cover Removed)
Remove the front oil seal as follows:
|
|
|
To avoid personal injury when blow drying, wear adequate eye protection (safety glasses or face plate) and do not exceed 276 kPa (40 lb/in. 2 ) air pressure. |
- Preclean the front cover prior to removal using clean fuel oil, and dry with compressed air.
- Remove the fan assembly. Refer to "4.3.2 Removal of Engine Cooling Fan" .
- Remove the accessory drive belts. Refer to OEM guidelines.
- Remove the crankshaft vibration damper. Refer to "1.13.2 Removal of Crankshaft Vibration Damper" .
- Remove the crankshaft pulley. Refer to "1.14.2 Removal of Crankshaft Pulley"
.
NOTICE:
To avoid front cover and crankshaft end damage, use care when removing the front oil seal.
- Remove the front cover from the engine block. Refer to "1.6.2 Removal of Front Cover"
and perform step 1
through step 6
NOTICE:
Support the front cover evenly while driving out the oil seal to avoid front cover damage.
- Remove the front oil seal from the front cover using a suitable punch and hammer from the backside of the cover driving the seal out. See Figure
"Front Oil Seal Removal"
.

1.Front Oil Seal
2.Front Cover
Figure 5. Front Oil Seal Removal
Section 1.15.5.1
Inspection of Front Oil Seal (Front Cover Removed)
Inspect the front cover as follows:
- Visually check the front cover for dents, cracks, and warpage.
- If the front cover has dents, cracks, or warpage, replace the front cover. Refer to "1.15.6 Installation of Front Oil Seal (Front Cover Removed)" .
- If the front cover has no dents, cracks, or warpage, reuse the front cover. Refer to "1.15.6 Installation of Front Oil Seal (Front Cover Removed)" .
Section 1.15.6
Installation of Front Oil Seal (Front Cover Removed)
Install the front oil seal as follows:
- Install new front oil seal using special tool VM-1015. See Figure
"Front Oil Seal Installation"
.

1.Front Oil Seal
2.Front Cover
Figure 6. Front Oil Seal Installation
- Install front cover. Refer to "1.6.3 Installation of Front Cover" .
- Install crankshaft pulley. Refer to "1.14.3 Installation of Crankshaft Pulley" .
- Install crankshaft vibration damper. Refer to "1.13.3 Installation of Crankshaft Vibration Damper" .
- Install accessory drive belts. Refer to OEM guidelines.
- Install fan assembly. Refer to "4.3.3 Installation of Engine Cooling Fan" .
- Run the engine to verify repair.
| Series 638 Service Manual - 6SE648 |
| Generated on 10-13-2008 |