Section 1.19
Rear Main Bearing Carrier
The Turbotronic 638 rear main bearing carrier assembly (see Figure "Main Bearing Carrier Parts Location" ) provides the following:
- Lubricating oil for the number six piston assembly cooling jet.
- Housing for the rear main crankshaft oil seal.
- Support for the number seven crankshaft journal.
- Provides a front and rear thrust support for the crankshaft.
- Provides a lubricating oil flow path from the oil gallery to the rear crankshaft main bearing journal.

|
1.Rear Main Bearing |
5.Rear Oil Seal |
|
2.Thrust Washer |
6.Seal Ring |
|
3.Rear Carrier Housing |
7.Stud |
|
4.Piston Jet Valve |
8.Spring PIn |
Figure 1. Main Bearing Carrier Parts Location
Section 1.19.1
Replacement of Rear Main Bearing Carrier
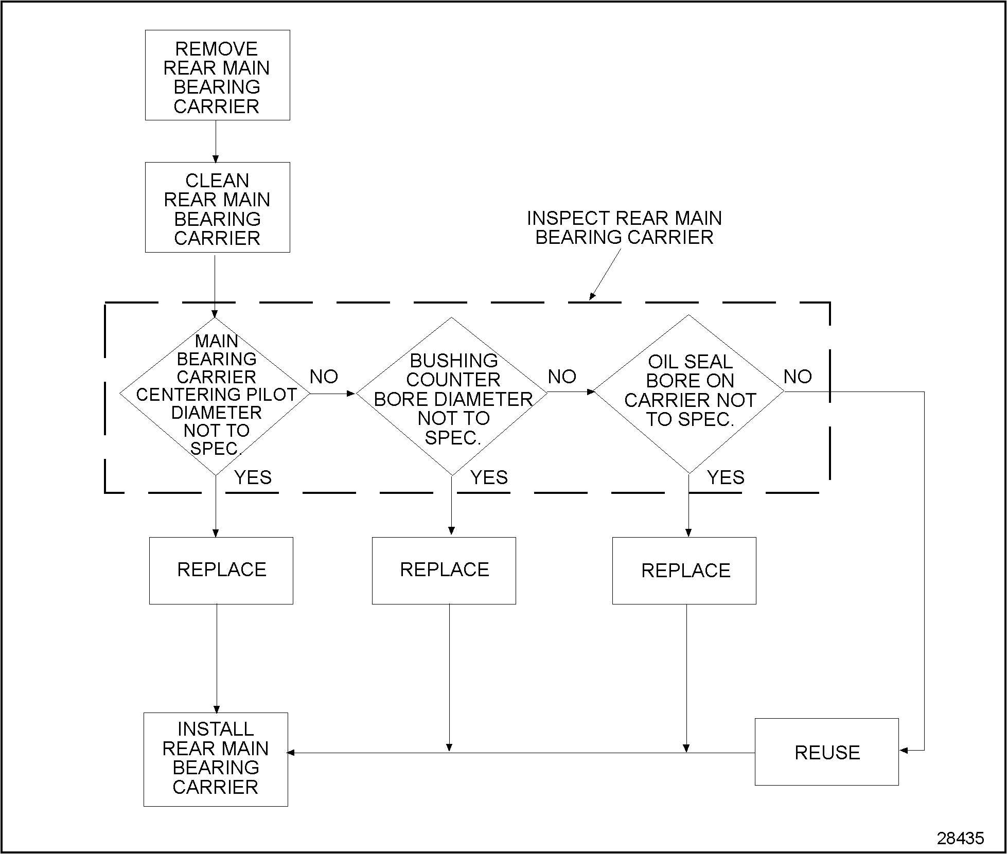
To determine if repair or replacement of the rear main bearing carrier assembly is necessary, perform the following procedure. See Figure "Flowchart for Replacement of Rear Main Bearing Carrier " .

Figure 2. Flowchart for Replacement of Rear Main Bearing Carrier
Section 1.19.2
Removal of Rear Main Bearing Carrier
Remove the rear main bearing carrier as follows:
- Remove flywheel housing. Refer to "1.17.2 Removal of Flywheel Housing" .
- Slide rear main bearing carrier out of cylinder block.
Section 1.19.2.1
Cleaning of Rear Main Bearing Carrier
Clean the rear main bearing carrier as follows:
- Remove dirt and debris from the rear main bearing carrier using clean fuel oil.
To avoid personal injury when blow drying, wear adequate eye protection (safety glasses or face plate) and do not exceed 276 kPa (40 lb/in. 2 ) air pressure.
- Blow dry rear main bearing carrier with compressed air.
Section 1.19.2.2
Inspection of Rear Main Bearing Carrier
Inspect the rear main bearing carrier as follows:
- Visually check the thrust bearing seat on the carrier for damage or wear.
- If the thrust bearing seat on the carrier is worn or damaged, replace the component. Refer to "1.19.3 Installation of Rear Main Bearing Carrier" .
- If the thrust bearing seat on the carrier is not worn or damaged, proceed with step 2 of inspection.
- Measure the main centering pilot diameter 'A', see Figure
"Cross Section of Rear Main Carrier Assembly"
.
- If the main centering pilot diameter is not within 131.935-131.960 mm (5.194-5.1952 in.), replace the component. Refer to "1.19.3 Installation of Rear Main Bearing Carrier" .
- If the main centering pilot diameter is within 131.935-131.960 mm (5.194-5.1952 in.), proceed with step 3 of inspection.

Figure 3. Cross Section of Rear Main Carrier Assembly
- Measure the bushing counter bore diameter 'B', see Figure
"Cross Section of Rear Main Carrier Assembly"
.
- If the bushing counter bore is not within 75.005-75.030 mm (2.9529-2.9539 in.), replace the component. Refer to "1.19.3 Installation of Rear Main Bearing Carrier" .
- If the bushing counter bore is within 75.005-75.030 mm (2.9529-2.9539 in.), proceed with step 4 of inspection.
- Measure the oil seal bore 'C', see Figure
"Cross Section of Rear Main Carrier Assembly"
.
- If the oil seal bore is not within 120.000-120.030 mm (4.7244-4.7255 in.), replace the component. Refer to "1.19.3 Installation of Rear Main Bearing Carrier" .
- If the oil seal bore is within 120.000-120.030 mm (4.7244-4.7255 in.), reuse the component. Refer to "1.19.3 Installation of Rear Main Bearing Carrier" .
Section 1.19.3
Installation of Rear Main Bearing Carrier
Install the rear main bearing carrier assembly as follows:
- Slide the rear main bearing carrier into the cylinder block.
- Install the flywheel housing. Refer to "1.17.3 Installation of Flywheel Housing" .
- Run engine to verify repairs.
| Series 638 Service Manual - 6SE648 |
| Generated on 10-13-2008 |