Section 1.5
Hydraulic Lifters
Oil from the oil gallery flows into the cylinder heads through an external oil line. The oil flows up through the rocker arm pedestal, to the rocker arm, down through the push rods, to the hydraulic lifters.
When the lifter begins to roll up the cam lobe, the check valve is held against its seat in the plunger by the check valve spring that traps the oil in the base of the lifter body below the plunger. The plunger and lifter body then raise as a unit, pushing up the push rod to open the valve. The force of the valve spring, that is exerted on the plunger through the valve lever and push rod, causes a slight amount of leakage between the plunger and lifter body. This ” leak-down" allows a slow escape of trapped oil in the base of the lifter body. As the lifter rides down the other side of the cam lobe and reaches the base circle or ” valve closed" position, the plunger spring quickly moves the plunger back (up) to its original position. This movement causes the check valve to open against the check valve spring and oil is replenished. This restores the lifter to zero lash.
Section 1.5.1
Replacement of Hydraulic Lifter
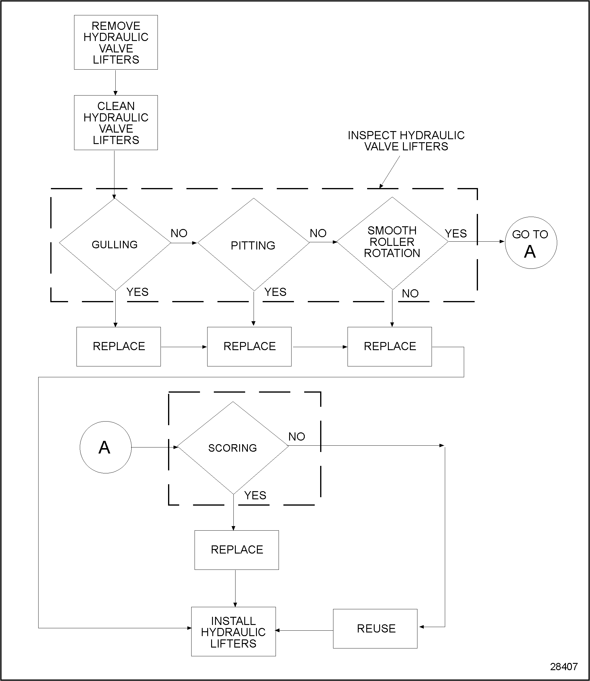
To determine if replacement or repair of the hydraulic lifter is necessary, perform the following procedure. See Figure "Flowchart for Replacement of Hydraulic Lifters" .

Figure 1. Flowchart for Replacement of Hydraulic Lifters
Section 1.5.2
Removal of Hydraulic Lifters
Remove the hydraulic lifters as follows:
- Remove cylinder head(s). Refer to "1.4.2 Removal of Cylinder Head" .
- Remove the anti-rotation bracket(s) from the cylinder block. See Figure
"Antirotation Bracket Location"
.

1.Antirotation Bracket
3.Cylinder Block
2.Hydraulic Lifters
Figure 2. Antirotation Bracket Location
- Remove hydraulic lifters from the cylinder block.
Section 1.5.2.1
Cleaning of Hydraulic Lifters
Clean the hydraulic lifters as follows:
- Cleanse the hydraulic lifters with clean fuel oil.
To avoid personal injury when blow drying, wear adequate eye protection (safety glasses or face plate) and do not exceed 276 kPa (40 lb/in. 2 ) air pressure.
- Blow dry the hydraulic lifters with compressed air.
Section 1.5.2.2
Inspection of Hydraulic Lifters
Inspect the hydraulic lifters as follows:
- Visually inspect the hydraulic lifters for gulling, pitting, scoring, worn surfaces, and roller rotation.
- If the hydraulic lifter is gulled, pitted, scored, or worn, replace the component. Refer to "1.5.3 Installation of Hydraulic Lifters" .
- If the hydraulic lifter is not gulled, pitted, scored, or worn, proceed with step 2 of inspection.
- Manually check the hydraulic lifter roller for rotation.
- If the hydraulic lifter roller rotation is restricted, replace the component. Refer to "1.5.3 Installation of Hydraulic Lifters" .
- If the hydraulic lifter roller rotation is not restricted, reuse the component. Refer to "1.5.3 Installation of Hydraulic Lifters" .
Section 1.5.3
Installation of Hydraulic Lifters
Install the hydraulic lifter as follows:
- Install hydraulic lifters into the cylinder block.
- Install the antirotation bracket(s) for each cylinder into the cylinder block.
- Install cylinder heads. Refer to "1.4.3 Installation of Cylinder Head" .
- Run the engine to verify repairs.
| Series 638 Service Manual - 6SE648 |
| Generated on 10-13-2008 |