Section 1.11
Connecting Rod
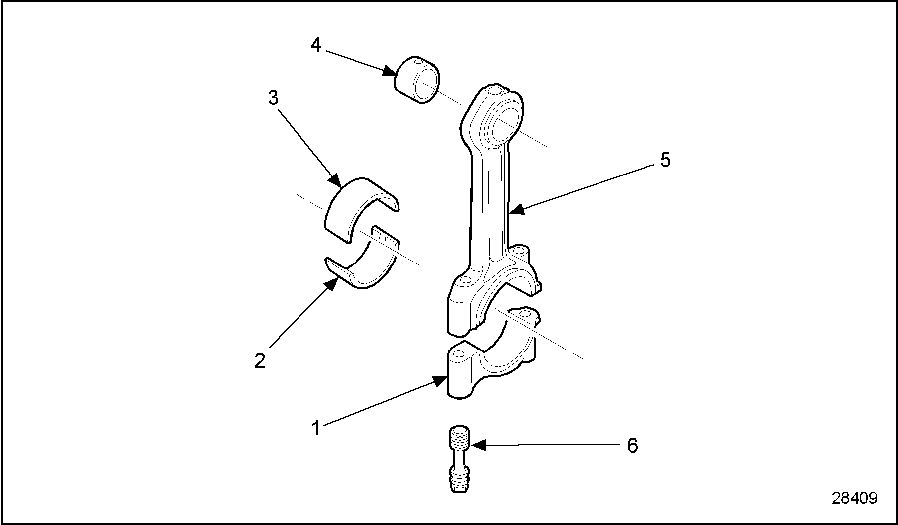
The connecting rod is forged to an ” I" section with the piston pin bore at the upper end and a bearing cap at the lower end.
The upper end of the connecting rod is machined and fit with a bushing for the piston pin. The piston pin is a full-floating design secured to the piston with two retaining rings. The lower bearing cap is secured to the connecting rod by two machined bolts and nuts. See Figure "Connecting Rod and Related Parts" .

|
1.End Cap |
4.Connecting Rod Bushing |
|
2.Connecting Rod Bearing |
5.Connecting Rod |
|
3.Connecting Rod Bearing |
6.Hex Head Flange Bolt |
Figure 1. Connecting Rod and Related Parts
Section 1.11.1
Repair or Replacement of Connecting Rod
To determine if repair or replacement of the connecting rod is necessary, perform the following procedure. See Figure "Flowchart for Repair or Replacement of Connecting Rod" .

Figure 2. Flowchart for Repair or Replacement of Connecting Rod
Section 1.11.2
Disassemble of Connecting Rod
Disassemble the connecting rod as follows:
- Remove the piston and connecting rod. Refer to "1.9.2 Removal of Piston and Connecting Rod" .
- Disassemble the piston and piston rings. Refer to "1.10.2 Disassemble of Piston and Piston Ring" .
- Remove the connecting rod bearings. See Figure
"Connecting Rod Bearing Location"
.

1.End Cap
4.Connecting Rod Bushing
2.Connecting Rod Bearing
5.Connecting Rod
3.Connecting Rod Bearing
6.Hex Head Flange Bolt
Figure 3. Connecting Rod Bearing Location
Section 1.11.2.1
Cleaning of Connecting Rod
Clean the connecting rod as follows:
- Remove any dirt or debris from the connecting rod using clean fuel oil.
To avoid personal injury when blow drying, wear adequate eye protection (safety glasses or face plate) and do not exceed 276 kPa (40 lb/in. 2 ) air pressure.
- Dry the connecting rod with compressed air.
Section 1.11.2.2
Inspection of Connecting Rod
Inspect the connecting rod as follows:
- Visually inspect the connecting rod for wear.
- If the connecting rod is excessively worn, replace the component. Refer to "1.11.3 Installation of Connecting Rod" .
- If the connecting rod is not excessively worn, proceed with step 2 of inspection.
- Visually inspect the connecting rod for cracks.
- If the connecting rod is cracked, replace the component. Refer to "1.11.3 Installation of Connecting Rod" .
- If the connecting rod is not cracked, proceed with step 3 of inspection.
- Measure connecting rod axis for parallelism. See Figure
"Measuring Connecting Rod Parallelism"
.
- If the connecting rod deviation exceeds ± 0.05 mm (± 0.0019 in.) in all directions measured outside of the piston pin and at a distance of 100 mm (3.94 in.) from the centerline, replace component. Refer to "1.11.3 Installation of Connecting Rod" .
- If the connecting rod deviation is within ± 0.05 mm (± 0.0019 in.) in all directions measured outside of the piston pin and at a distance of 100 mm (3.94 in.) from the centerline, proceed with step 4 of inspection.

Figure 4. Measuring Connecting Rod Parallelism
- Measure the internal end bearing diameter of the connecting rod ” L" (see Figure
"Measuring Internal End Bearing Diameter"
). Compare measured results to the specification values listed in Table
"Connecting Rod End Bearing Specifications"
.
Note: The connecting rod bearings must be fitted on the connecting rod and the connecting rod bolts must be installed and torqued 29 N · m (21 lb · ft) plus a 605 torque turn (using torque angle gauge VM 1005) before measurements can be taken.
- If the internal end bearing diameter is not within specifications, replace the component. Refer to "1.11.3 Installation of Connecting Rod" .
- If the internal end bearing diameter is within specifications, replace the component. Refer to "1.11.3 Installation of Connecting Rod" .

Figure 5. Measuring Internal End Bearing Diameter
Bearing Size
Diameter of Connecting Rod Big End Journal (H)
Diameter of Connecting Rod Bearing (L)
Standard
53.995-53.940 mm (2.1257-2.1236 in.)
53.977-54.016 mm (2.1250-2.1266 in.)
0.125 mm (0.0049 in.) US
53.830-53.815 mm (2.1192-2.1186 in.)
53.852-53.891 mm (2.1202-2.1217 in.)
0.250 mm (0.0098 in.) US
53.705-53.690 mm (2.1143-2.1137 in.)
53.727-53.766 mm (2.1152-2.1168 in.)
0.500 mm (0.0196 in.) US
53.445-53.440 mm (2.1041-2.1039 in.)
53.477-53.516 mm (2.1053-2.1069 in.)
Table 4. Connecting Rod End Bearing SpecificationsNote: Journal bearing clearance: 0.030-0.064 mm (0.0011-0.0025 in.)
Note: Minimum admissible diameter: 53.440 mm (2.1039 in.)
Section 1.11.3
Installation of Connecting Rod
Assemble the connecting rod as follows:
NOTICE: |
|
To avoid engine damage, ensure that the connecting rod bushing lubrication hole is aligned with the lubrication hole on the connecting rod. |
- Install the connecting rod bearings to the connecting rod and end cap. See Figure
"Connecting Rod Component Parts Location"
.

1.End Cap
4.Connecting Rod Bushing
2.Connecting Rod Bearing
5.Connecting Rod
3.Connecting Rod Bearing
6.Hex Head Flange Bolt
Figure 6. Connecting Rod Component Parts Location
- Assemble the piston and piston rings. Refer to "1.10.3 Installation of Piston and Piston Ring" .
- Install the piston and connecting rod. Refer to "1.9.3 Installation of Piston and Connecting Rod" .
- Run engine to verify repairs.
| Series 638 Service Manual - 6SE648 |
| Generated on 10-13-2008 |