Section 1.12
Crankshaft
The crankshaft is a one-piece forging, heat-treated to ensure strength and durability. See Figure "Crankshaft and Related Parts" .

|
1.Crankshaft Drive Gear |
6.Main Bearing Carrier Assembly |
|
2.Crankshaft |
7.Carrier Dowel |
|
3.Keys |
8.Spring Washer |
|
4.Main Bearing |
9.Allen Head Screw |
|
5.Piston Jet Valve |
|
Figure 1. Crankshaft and Related Parts
The main connecting rod bearing journal surfaces and fillets are hardened.
Complete static and dynamic balance of the crankshaft has been achieved by counterweights incorporated in the crankshaft.
The crankshaft end play is controlled by the thrust washers in the rear main bearing carrier assembly.
Full pressure lubrication to all connecting rods is provided by drilled passages within the crankshaft See Figure "Crankshaft Lubricating Oil Holes" .

Figure 2. Crankshaft Lubricating Oil Holes
Section 1.12.1
Repair or Replacement of Crankshaft
To determine if repair or replacement of the crankshaft is necessary, perform the following procedure. See Figure "Flowchart for Repair or Replacement of Crankshaft" .

Figure 3. Flowchart for Repair or Replacement of Crankshaft
Section 1.12.2
Removal of Crankshaft
Remove the crankshaft as follows:
- Remove flywheel. Refer to "1.16.2 Removal of the Flywheel" .
- Remove flywheel housing. Refer to "1.17.2 Removal of Flywheel Housing" .
- Remove oil pump. Refer to "3.3.2 Removal of Oil Pump" .
- Remove vacuum pump. Refer to "1.7.2 Removal of Vacuum Pump" .
- Remove connecting rod and piston assembly. Refer to "1.9.2 Removal of Piston and Connecting Rod" .
- Remove the six crankshaft carrier adaptors. See Figure
"Crankshaft Carrier Adaptor Location"
.
Note: Mark each crankshaft carrier adaptor for installation.

1.Crankshaft Carrier Adaptor No. 1
4.Crankshaft Carrier Adaptor No. 4
2.Crankshaft Carrier Adaptor No. 2
5.Crankshaft Carrier Adaptor No. 5
3.Crankshaft Carrier Adaptor No. 3
6.Crankshaft Carrier Adaptor No. 6
Figure 4. Crankshaft Carrier Adaptor Location
NOTICE:
To avoid crankshaft gear damage, place VM 1004 over the front of the crankshaft gear to prevent crankshaft gear damage during crankshaft removal.
- Position the engine with the crankshaft facing up.
- Place crankshaft removal sleeve VM 1004, over front crankshaft gear. See Figure
"Crankshaft Removal Sleeve"
.

1.Crankshaft Gear
2.Crankshaft Removal Sleeve
Figure 5. Crankshaft Removal Sleeve
- Pull the crankshaft outward until the crankshaft carriers are out of their respective bores.
- Disassemble crankshaft carriers by removing two Allen head retaining bolts and spring washers. See Figure
"Crankshaft Carrier Parts Location"
.

1.Timing Drive Gear
6.Bearing Assembly
2.Crankshaft
7.Center Bearing Dowel
3.Keys
8.Spring Washer
4.Main Bearing
9.Allen Head Screw
5.Piston Jet Valve
Figure 6. Crankshaft Carrier Parts Location
- Remove carriers from crankshaft.
- Reassemble and number each carrier to ensure correct installation.
- Remove the crankshaft from the cylinder block.
Section 1.12.2.1
Cleaning of Crankshaft
Clean the crankshaft as follows:
- Remove any dirt or debris from the crankshaft using clean fuel oil.
To avoid personal injury when blow drying, wear adequate eye protection (safety glasses or face plate) and do not exceed 276 kPa (40 lb/in. 2 ) air pressure.
- Clear the crankshaft oil passages with compressed air.
- Dry the crankshaft with compressed air.
Section 1.12.2.2
Inspection of Crankshaft
Inspect the crankshaft as follows:
- Visually check the crankshaft for nicks, scratches, cracks or seizure marks.
- If the crankshaft has any nicks, scratches, cracks or seizure marks, replace the component. Refer to "1.12.3 Installation of Crankshaft" .
- If the crankshaft has no signs of any nicks, scratches, cracks or seizure marks, proceed with step 2 of inspection.
- Visually check the crankshaft rear and front end mating surfaces and threads for scratched, deformed or worn surfaces.
- If the crankshaft rear and front end mating surfaces and threads are scratched, deformed, or worn, replace the component. Refer to "1.12.3 Installation of Crankshaft" .
- If the crankshaft rear and front end mating surfaces and threads are not scratched, deformed, or worn, proceed with step 3 of inspection.
- Visually check the timing gear teeth for wear or damage.
- If the timing gear teeth are worn or damaged, replace the component. Refer to "1.12.3 Installation of Crankshaft" .
- If the timing gear teeth are not worn or damaged, proceed with step 4 of inspection.
- Measure the crankshaft journals and pins in two perpendicular directions to check for wear and out-of-round. See Figure
"Measuring for Perpendicularity (First Direction)"
and see Figure
"Measuring for Perpendicularity (Second Direction)"
.
- If the crankshaft journal and pin wear exceeds 0.10 mm (0.0039 in.), replace the component. Refer to "1.12.3 Installation of Crankshaft" .
- If the crankshaft journal and pin wear is within 0.10 mm (0.0039 in.), proceed with step 5 of inspection.

Figure 7. Measuring for Perpendicularity (First Direction)

Figure 8. Measuring for Perpendicularity (Second Direction)
- Magnaflux check to detect surface cracks on the crankshaft
- If cracks are detected on the crankshaft, replace the component. Refer to "1.12.3 Installation of Crankshaft" .
- If cracks are not detected on the crankshaft, proceed with step 6 of inspection.
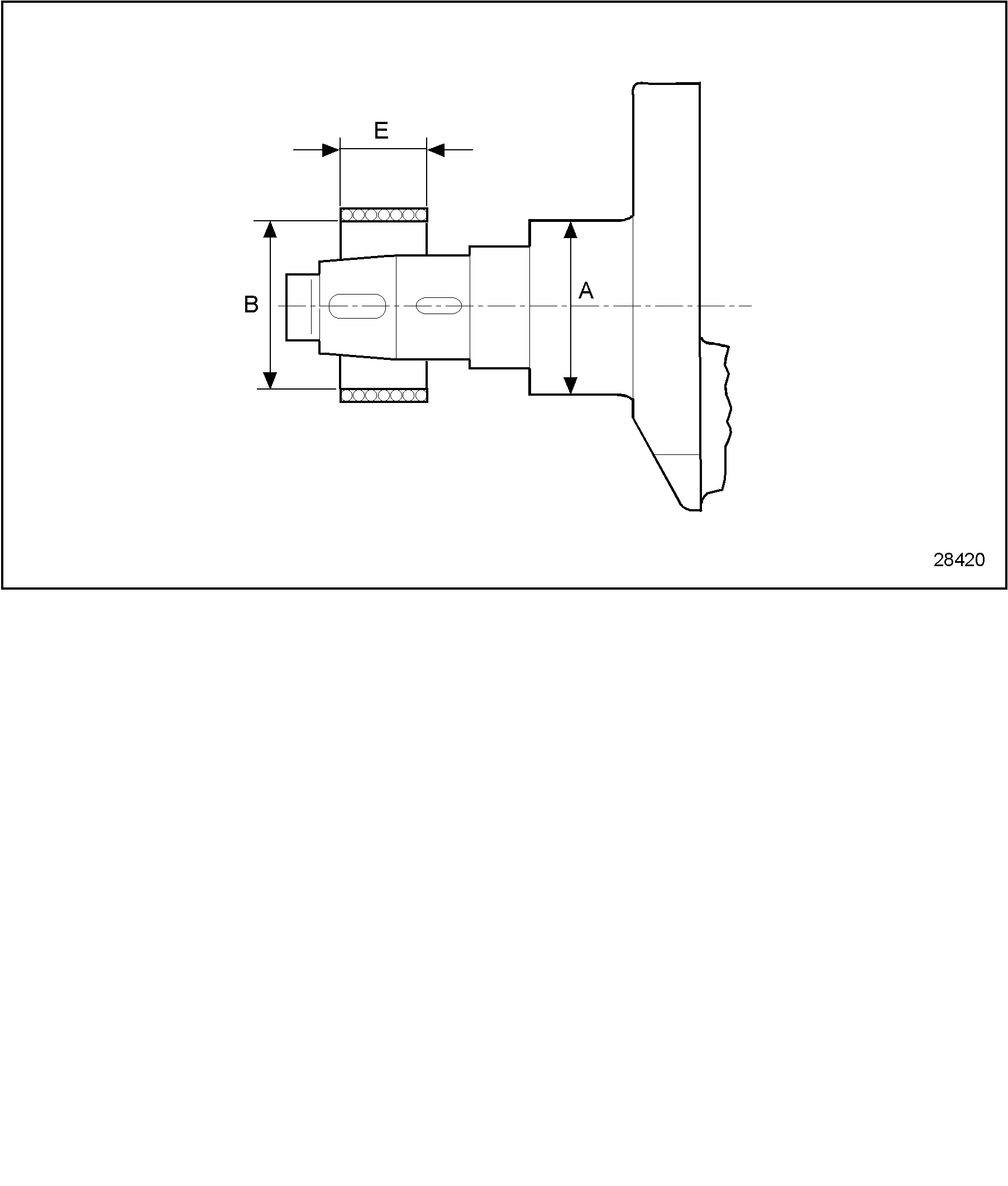
- Measure the diameter of the crankshaft journal ” H" and compare measured results with specification values listed in Table
"Crankshaft Journal Specifications"
. See Figure
"Measuring Connecting Rod Big End Journal"
.
- If the crankshaft journal diameter is not within specifications (listed in Table "Crankshaft Journal Specifications" ), replace the component. Refer to "1.12.3 Installation of Crankshaft" .
- If the crankshaft journal diameter is within specifications (listed in Table "Crankshaft Journal Specifications" ), proceed with step 7 of inspection.

Figure 9. Measuring Connecting Rod Big End Journal
Bearing Size
Diameter of Connecting Rod Big End Journal (H)
Diameter of Connecting Rod Bearing (L)
Standard
53.995-53.940 mm (2.1257-2.1236 in.)
53.977-54.016 mm (2.1250-2.1266 in.)
0.125 mm (0.0049 in.) US
53.830-53.815 mm (2.1192-2.1186 in.)
53.852-53.891 mm (2.1201-2.1216 in.)
0.250 mm (0.0098 in.) US
53.705-53.690 mm (2.1143-2.1137 in.)
53.766-53.777 mm (2.1167-2.1172 in.)
0.500 mm (0.0196 in.) US
53.445-53.440 mm (2.1041-2.1039 in.)
53.477-53.516 mm (2.1053-2.1069 in.)
Table 7. Crankshaft Journal SpecificationsNote: Journal bearing clearance: 0.030-0.064 mm (0.0011-0.0025 in.)
Note: Minimum admissible diameter: 53.440 mm (2.1039 in.)
- Measure the diameter of the central main journal ” C" and compare measured results with specification values listed in Table
"Specifications for Diameters of Central ” C" and ” D" Main Journal"
. See Figure
"Crankshaft Central Main Journal"
.
- If the central main journal diameter is not within specifications (listed in Table "Specifications for Diameters of Central ” C" and ” D" Main Journal" ), replace the component. Refer to "1.12.3 Installation of Crankshaft" .
- If the central main journal diameter is within specifications (listed in Table "Specifications for Diameters of Central ” C" and ” D" Main Journal" ), proceed with step 8 of inspection.

Figure 10. Crankshaft Central Main Journal
Bearing Size
Diameter of Central Main Journal ” C"
Diameter of Central Bearing ” D"
Standard
63.020-63.005 mm (2.4810-2.4805 in.)
63.050-63.093 mm (2.4822-2.4839 in.)
0.125 mm (0.0049 in.) US
62.895-62.880mm (2.4761-2.4755 in.)
62.925-62.968mm (2.4773 in.)
0.250 mm (0.0098 in.) US
62.770-62.775 mm (2.4712-2.4714 in.)
62.800-62.843 mm (2.4724-2.4741 in.)
0.500 mm (0.0196 in.) US
62.520-62.505 mm (2.4614-2.4608 in.)
62.550-62.593 mm (2.4625-2.4642 in.)
Table 8. Specifications for Diameters of Central ” C" and ” D" Main JournalNote: Bearing Length ” H" : 27.75-28.00 mm (1.0925-1.1024 in.)
- Measure the diameter of the rear main journal ” F" and compare measured results with specification values listed in Table
"Specifications for Diameter of Rear Main Journal"
. See Figure
"Crankshaft Rear Main Journal"
.
- If the rear main journal diameter is not within specifications (listed in Table "Specifications for Diameter of Rear Main Journal" ), replace the component. Refer to "1.12.3 Installation of Crankshaft" .
- If the rear main journal diameter is within specifications (listed in Table "Specifications for Diameter of Rear Main Journal" ), proceed with step 9 of inspection.

Figure 11. Crankshaft Rear Main Journal
Bearing Size
Diameter of Rear Main Journal
Standard
69.985-70.000 mm (2.7553-2.7559 in.)
0.125 mm (0.0049 in.) US
69.860-69.875mm (2.7503-2.7509 in.)
0.250 mm (0.0098 in.) US
69.735-69.750 mm (2.7454-2.7461 in.)
0.500 mm (0.0196 in.) US
69.485-69.500 mm (2.7356-2.7362 in.)
Table 9. Specifications for Diameter of Rear Main Journal - Measure the diameter of the front main journal ” A" and the diameter of the front bearing ” B" and compare measured results with specification values listed in Table
"Specifications for Front Main Journal ” A" and Front Bearing ” B""
. See Figure
"Crankshaft Central Main Journal"
.
- If the rear main journal diameter is not within specifications (listed in Table "Specifications for Front Main Journal ” A" and Front Bearing ” B"" ), replace the component. Refer to "1.12.3 Installation of Crankshaft" .
- If the rear main journal diameter is within specifications (listed in Table "Specifications for Front Main Journal ” A" and Front Bearing ” B"" ), reuse the component. Refer to "1.12.3 Installation of Crankshaft" .

Figure 12. Crankshaft Central Main Journal
Bearing Size
Diameter of Central Main Journal ” A"
Diameter of Central Bearing ” B"
Standard
62.985-63.000 mm (2.4797-2.4803 in.)
63.088-63.043 mm (2.4838-2.4820 in.)
0.125 mm (0.0049 in.) US
62.860-62.875 mm (2.4747-2.4754 in.)
62.963-62.918mm (2.4788-2.4771 in.)
0.250 mm (0.0098 in.) US
62.735-62.750 mm (2.4698-2.4705 in.)
62.838-62.793 mm (2.4739-2.4722 in.)
0.500 mm (0.0196 in.) US
62.485-62.500 mm (2.4600-2.4606 in.)
62.588-62.543 mm (2.4641-2.4623 in.)
Table 10. Specifications for Front Main Journal ” A" and Front Bearing ” B"Note: Bearing Length ” E" : 27.75-28.00 mm (1.0925-1.1024 in.)
Section 1.12.3
Installation of Crankshaft
Install the crankshaft as follows:
NOTICE: |
|
To avoid crankshaft damage, carefully guide the crankshaft through the cylinder block to avoid damaging the crankshaft journal ends. |
- Install the crankshaft gear, if removed.
- Using VM 1004, install the crankshaft into the cylinder block placing the crankshaft journals outside of their respective cylinder bores to allow installation of the carriers, using VM 1004.
Note: Engine should be positioned so that the crankshaft is facing up during installation.
- Install carriers to the crankshaft as numbered during removal. Torque to 44-45 N · m (32-33 lb · ft).
NOTICE:
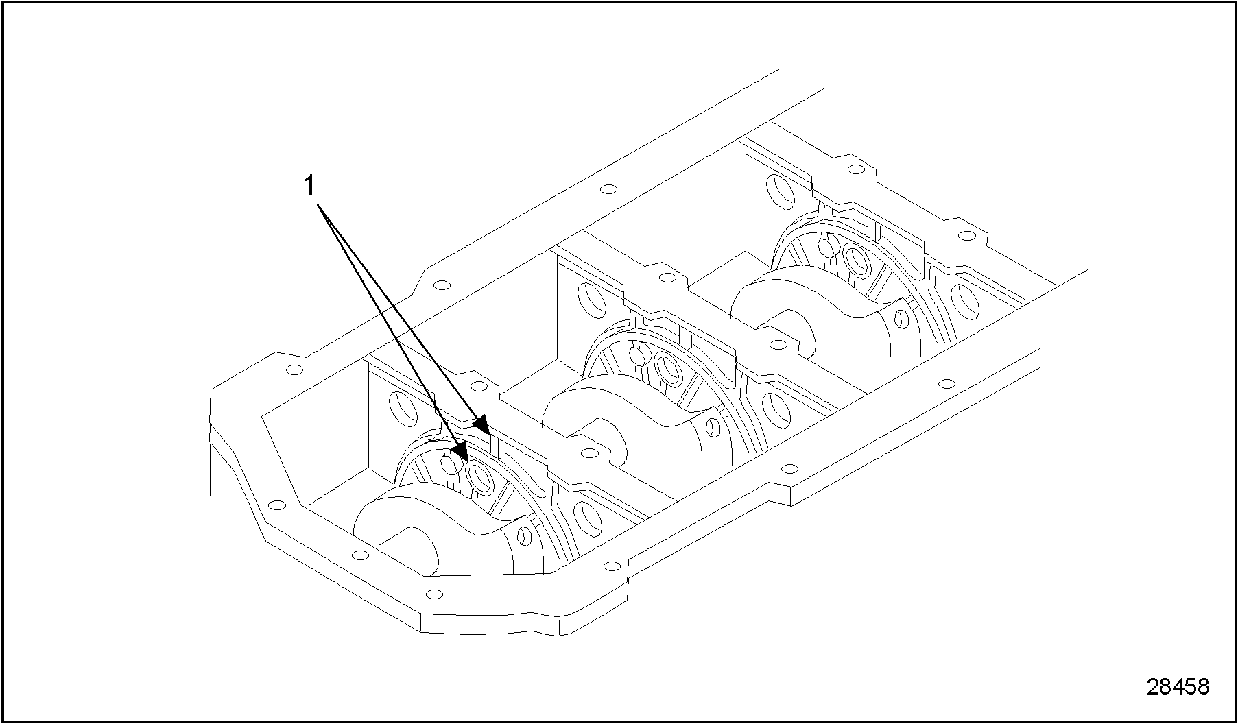
To avoid engine damage, ensure that the main bearing carriers (lower half) holes are aligned correctly with the center of the cylinder block. See Figure "Main Bearing Carrier Oil Hole Alignment" .
- Slide the assembled crankshaft into the cylinder block. See Figure
"Main Bearing Carrier Oil Hole Alignment"
.

1.Carrier Oil Hole Alignment Location
Figure 13. Main Bearing Carrier Oil Hole Alignment
- Install six crankshaft carrier adaptors. See Figure
"Crankshaft Carrier Adaptor Location"
.

1.Crankshaft Carrier Adaptor No. 1
4.Crankshaft Carrier Adaptor No. 4
2.Crankshaft Carrier Adaptor No. 2
5.Crankshaft Carrier Adaptor No. 5
3.Crankshaft Carrier Adaptor No. 3
6.Crankshaft Carrier Adaptor No. 6
Figure 14. Crankshaft Carrier Adaptor Location
- Install connecting rod and piston assembly. Refer to "1.9.3 Installation of Piston and Connecting Rod" .
- Install the vacuum pump. Refer to "1.7.3 Installation of Vacuum Pump" .
- Install the oil pump. Refer to "3.3.3 Installation of Oil Pump"
- Install the flywheel housing. Refer to "1.17.3 Installation of Flywheel Housing" .
- Install the flywheel. Refer to "1.16.3 Installation of Flywheel" .
- Install oil pickup tube screen. Refer to "3.6.4 Installation of Oil Pickup Tube" .
- Install oil pan. Refer to "3.2.3 Installation of Oil Pan" .
- Measure crankshaft end clearance. Refer to "1.12.3.1 Measuring for Crankshaft End Clearance" .
- Run engine to verify repairs.
Section 1.12.3.1
Measuring for Crankshaft End Clearance
Measure crankshaft end clearance as follows:
- Using a dial gage (see Figure
"Measuring Crankshaft End Clearance"
), measure crankshaft end clearance.
- If crankshaft clearance is not within 0.153-0.304 mm (0.0060-0.0119 in.), install thrust plates of a different thickness (refer to "1.16.2 Removal of the Flywheel" ); refer to "1.12.3 Installation of Crankshaft" ; go to step 14
- If crankshaft clearance is within 0.153-0.304 mm (0.0060-0.0119 in.), refer to "1.12.3 Installation of Crankshaft" ; go to step 14

1.Dial Gage
2.Flywheel
Figure 15. Measuring Crankshaft End Clearance
| Series 638 Service Manual - 6SE648 |
| Generated on 10-13-2008 |