Section 1.8
Camshaft
The camshaft drive gear, located at the front of the engine, behind the front cover, is driven by the crankshaft through a series of gears. See Figure "Engine Gear Train" . The crankshaft drive gear, mounted on the crankshaft, meshes with both the oil pump and vacuum pump. The vacuum pump drive gear, meshes with the camshaft drive gear which in turn drives the injection pump.

|
1.Injection Pump Drive Gear |
4.Crankshaft Drive Gear |
|
2.Camshaft Drive Gear |
5.Vacuum Pump Drive Gear |
|
3.Oil Pump Drive Gear |
|
Figure 1. Engine Gear Train
Section 1.8.1
Repair or Replacement of Camshaft
To determine if repair or replacement of the camshaft is necessary, perform the following procedure. See Figure "Flowchart for Repair or Replacement of Camshaft" .

Figure 2. Flowchart for Repair or Replacement of Camshaft
Section 1.8.2
Removal of Camshaft
Remove the camshaft as follows:
- Remove the front cover. Refer to "1.6.2 Removal of Front Cover" .
- Remove the cylinder head(s). Refer to "1.4.2 Removal of Cylinder Head" .
- Remove the hydraulic lifters. Refer to "1.5.3 Installation of Hydraulic Lifters" .
- Rotate engine to align camshaft thrust plate retaining bolts with access holes through camshaft gear. See Figure
"Thrust Plate Retaining Screws Location"
.

1.Allen Head Bolt
2.Camshaft Drive Gear
Figure 3. Thrust Plate Retaining Screws Location
- Remove the two Allen head bolts and lockwashers securing the camshaft to the block thrust plate. See Figure
"Camshaft Thrust Plate Location"
.

1.Allen Head Bolt
4.Camshaft
2.Lockwasher
5.Camshaft Key
3.Thrust Plate
6.Camshaft Drive Gear
Figure 4. Camshaft Thrust Plate Location
- Remove camshaft assembly from the cylinder block by sliding forward.
- Remove the camshaft drive gear and camshaft key.
- Remove the thrust plate.
Section 1.8.2.1
Cleaning of Camshaft
Clean the camshaft assembly as follows:
- Remove any dirt or debris from the camshaft assembly using clean fuel oil.
To avoid personal injury when blow drying, wear adequate eye protection (safety glasses or face plate) and do not exceed 276 kPa (40 lb/in. 2 ) air pressure.
- Dry the camshaft assembly with compressed air.
Section 1.8.2.2
Inspection of Camshaft
Inspect the camshaft as follows:
- Visually check the camshaft journals for wear or scuffing.
- If the camshaft journals are worn or scuffed, replace the component. Refer to "1.8.3 Installation of Camshaft" .
- If the camshaft journals are not worn or scuffed, proceed with step 2 of inspection.
- Measure the camshaft lobes. See Figure
"Measuring Camshaft Lobes"
and compare the measured intake results with the specification values listed in Table
"Specification Values for Intake Lobes"
and the measured exhaust results with the specification values listed in Table
"Specification Values for Exhaust Lobes"
.

Figure 5. Measuring Camshaft Lobes
Measurement ” A"
Measurement ” B"
Lobe Height
38.50 mm (1.515 in.)
45.70 mm (1.799 in.)
7.20 mm (0.283 in.)
Table 5. Specification Values for Intake LobesMeasurement ” A"
Measurement ” B"
Lobe Height
37.50 mm (1.476 in.)
45.14 mm (1.777 in.)
7.64 mm (0.301 in)
Table 6. Specification Values for Exhaust Lobes- If the camshaft lobes measure less than.05 mm (0.002 in.) of specification, replace the component. Refer to "1.8.3 Installation of Camshaft" .
- If the camshaft lobes measure within .05 mm (0.002 in.) of specification, proceed with step 3 of inspection.
- Measure the camshaft journals and bearings. See Figure
"Measuring Camshaft Journals and Bearings"
and compare the measured journal and bearing results with the specification values listed in Table
"Specification Values for Journals and Bearings"
.

Figure 6. Measuring Camshaft Journals and Bearings
Camshaft Journal
Bushing Diameter
Exterior Diameter
Seat Diameter
” A"53.495-53.510 mm(2.1060-2.1066 in.)
” B"53.545-53.500(2.1080-2.1062 in.)
” C"57.130-57.161 mm(2.2492-2.2504 in.)
” D"57.005 mm(2.2442 in.)
” A1"53.450-53.470 mm(2.1043-2.1051 in.)
” B1"53.410-53.460 mm(2.1027-2.1047 in.)
-
-
” A2"53.480-53.500 mm(2.1055-2.1062 in.)
-
-
-
Table 7. Specification Values for Journals and Bearings- If the camshaft journal and bearing values are not to specification, replace the component. Refer to "1.8.3 Installation of Camshaft" .
- If the camshaft journal and bearing values are to specification, proceed with step 4 of inspection.
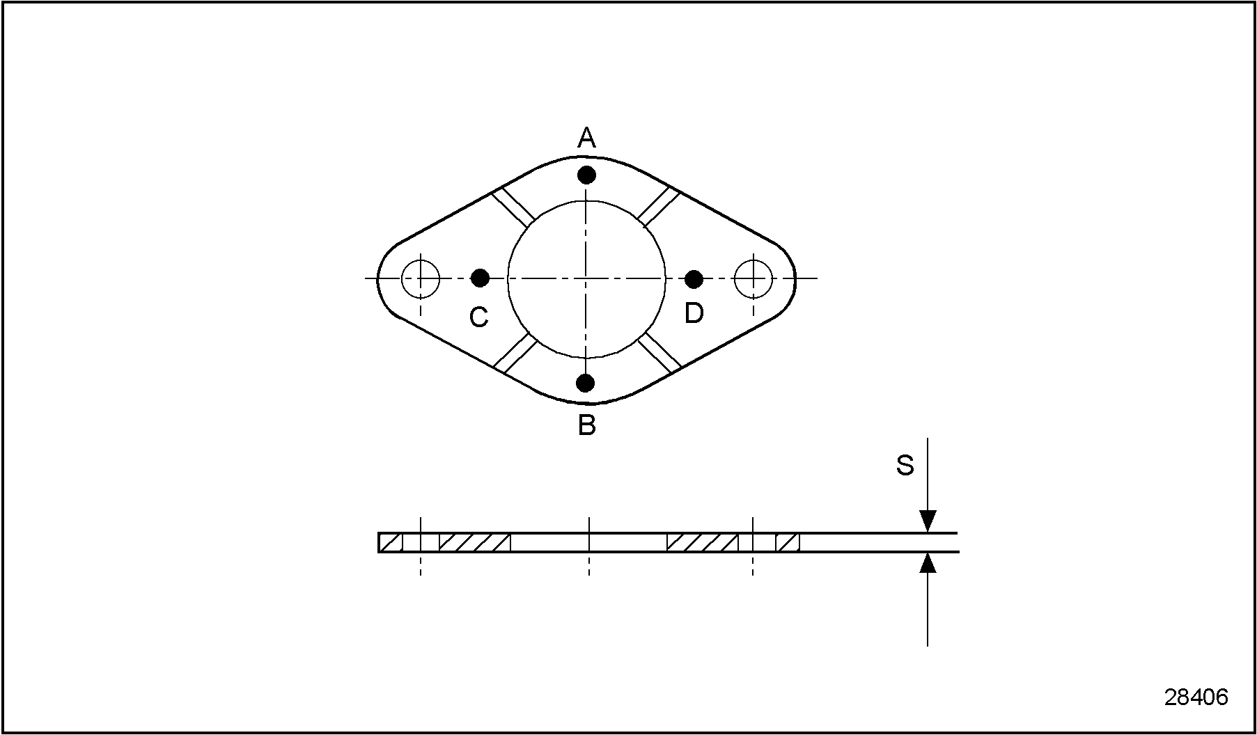
- Measure the camshaft thrust plate thickness. See Figure
"Thrust Plate Thickness Measurement"
. Compare measured results with the values listed in Table
"Specification Values for Camshaft Thrust Plate"
.

Figure 7. Thrust Plate Thickness Measurement
Thrust Plate Thickness ” A"
Thrust Plate Thickness ” B"
Thrust Plate Thickness ” C"
Thrust Plate Thickness ” D"
3.950-4.050 mm (0.1555-0.1594 in.)
3.950-4.050 mm (0.1555-0.1594 in.)
3.950-4.050 mm (0.1555-0.1594 in.)
3.950-4.050 mm (0.1555-0.1594 in.)
Table 8. Specification Values for Camshaft Thrust Plate- If thrust plate thickness is not to specification, replace component. Refer to "1.8.3 Installation of Camshaft" .
- Refer to "1.8.3 Installation of Camshaft" .
Section 1.8.3
Installation of Camshaft
Install the camshaft as follows:
- Install the thrust plate onto the camshaft. See Figure
"Camshaft Thrust Plate Location"
.

1.Allen Head Bolt
4.Camshaft
2.Lockwasher
5.Camshaft Key
3.Thrust Plate
6.Camshaft Drive Gear
Figure 8. Camshaft Thrust Plate Location
- Secure camshaft into a suitable holding device for assembly.
NOTICE:
To avoid camshaft end damage, ensure that the camshaft key is positioned correctly before pressing the camshaft drive gear onto the camshaft.
- Position the camshaft key onto the camshaft and place the camshaft drive gear to the end of the camshaft. Using a suitable press, press the camshaft gear onto the camshaft.
- Install the camshaft into the cylinder block.
- Align the thrust plate holes with the camshaft access holes. See Figure
"Thrust Plate Retaining Screws Location"
.

1.Allen Head Bolt
2.Camshaft Drive Gear
Figure 9. Thrust Plate Retaining Screws Location
- Install and tighten the two Allen head bolts to the camshaft drive gear. Torque to 27-28 N·m (20-21 ft·lb).
- Install the hydraulic lifters. Refer to "1.5.3 Installation of Hydraulic Lifters" .
- Install the cylinder heads. Refer to "1.4.3 Installation of Cylinder Head" .
- Install the front cover. Refer to "1.6.3 Installation of Front Cover" .
- Run the engine to verify repairs.
| Series 638 Service Manual - 6SE648 |
| Generated on 10-13-2008 |