Section 1.7
Crankshaft
The crankshaft is a one-piece forging of chrome-alloy steel, heat-treated to ensure strength and durability. See Figure "Crankshaft" .

Figure 1. Crankshaft
The main and connecting rod bearing journal surfaces and fillets are induction hardened.
Complete static and dynamic balance of the crankshaft has been achieved by counterweights incorporated in the crankshaft.
Crankshafts have a twelve-bolt mounting pattern on the front.
The crankshaft end play is controlled by thrust washers located at the No. 4 main bearing cap and saddle of the engine. See Figure "Crankshaft Thrust Bearing Detail" .

|
1. Upper Thrust Washer |
4. No. 4 Main Cap |
|
2. Upper No. 4 Bearing |
5. Bolt |
|
3. Lower No. 1-5 Bearing Shell |
|
Figure 2. Crankshaft Thrust Bearing Detail
This design makes use of thrust washers in the upper positions only.
Oversize thrust washers are available to correct for excessive end play.
This design does not use the indexing dowels.
Full pressure lubrication to all connecting rod and main bearings is provided by drilled passages within the crankshaft and cylinder block. See Figure "Crankshaft Lubricating Oil Holes" .
Note: The natural gas crankshaft has machined counterweights to allow for shorter rods.

Figure 3. Crankshaft Lubricating Oil Holes
Twelve tapped holes, equally spaced, are provided on the rear butt for attaching the flywheel. There are six or twelve equally spaced tapped holes on the front butt of the crankshaft for attaching the crankshaft pulley and vibration damper. No locating dowels are provided at either end.
Each standard main bearing journal is 125.000-124.975 mm (4.921-4.920 in.) in diameter and each standard connecting rod journal is 85.000-84.975 mm (3.346-3.345 in.) in diameter.
New crankshafts with smaller radii fillets replaced the former crankshafts, effective with the following engine serial numbers 4R6665 built October 26, 1994. This change was made to permit installation of new, wider connecting rod bearings that increase rod bearing oil film thickness and reduce bearing pressures. The fillets on the new crankshafts have a radius of 4.0-3.5 mm (0.157-0.138 in.). The fillets on the former crankshafts had a radius of 6.0-5.5 mm (0.236-0.216 in.). To conform with this change, new connecting rods with smaller rod chamfers were also released. Refer to "1.19 Connecting Rod" for information on the new connecting rods and bearings.
The new crankshafts, bearings, and connecting rods must be used together to ensure interchangeability. Former parts cannot be mixed with new parts in the same engine. The former crankshafts will no longer be available.
Section 1.7.1
Repair or Replacement of Crankshaft
To determine if repair is possible or replacement is necessary perform the following procedure. See Figure "Flowchart for Repair or Replacement of Crankshaft" .

Figure 4. Flowchart for Repair or Replacement of Crankshaft
Section 1.7.2
Cleaning and Removal of Crankshaft
When removal of the crankshaft becomes necessary, first remove the transmission, then proceed as follows:
- Steam clean the exterior of the engine.
- Drain the cooling system. Refer to "13.5.4 Cooling System" .
- Drain the lubricating oil. Refer to "13.5.1 Lubricating Oil" .
- Attach suitable chain hoist and spreader bar with hooks to the three lifter brackets (one at the front and two at the rear). Remove all engine-to-base attaching bolts and remove the engine from its base. Refer to "1.1.2 Removal of Engine from the Vehicle and Disassembly"
. See Figure
"Lifting Engine "
.

FALLING ENGINE
To avoid injury from a falling engine, ensure the engine is securely attached to the engine overhaul stand before releasing the lifting sling.
- Remove and inspect all of the accessories and assemblies with their attaching parts as necessary to permit the engine block adapter, to be bolted to the intake (left) side of the cylinder block. Mount the engine to the overhaul stand, J 29109 with adapter, J 39652 attached. Refer to "1.1.2 Removal of Engine from the Vehicle and Disassembly" . See Figure "Cylinder Block Adaptor" .
- Remove and inspect the oil pan. Refer to "3.9.2 Cleaning and Removal of Oil Pan" .
- Remove and inspect the balance shaft assembly containing the balance shaft, gear, and oil pump. Refer to "1.28.2 Cleaning and Removal of the Balance Shaft and Oil Pump Mechanism" .
- Remove and inspect the flywheel. Refer to "1.14.2 Cleaning and Removal of Flywheel" .
- Remove and inspect flywheel housing. Refer to "1.16.2 Cleaning and Removal of Flywheel Housing"
.
NOTICE:
Use care when removing the crankshaft pulley as the vibration damper may come off. If the damper is allowed to fall, damage to the internal components of the damper may result.
- Loosen and remove two of the crankshaft pulley retaining bolts and hardened washers 180° apart and install two flywheel guide studs, J 36235 , in their place. Then loosen and remove the remaining four pulley retaining bolts and hardened washers. Refer to "1.13.2 Removal and Cleaning Crankshaft Pulley" .
- Remove and inspect the viscous vibration damper. Refer to "1.12.2 Cleaning and Removal of Crankshaft Vibration Damper" for removal and refer to "1.12.2.1 Inspection of the Vibration Damper" for inspection.
- Remove and inspect the engine front support and gear case cover. Refer to "1.10.2 Removal of Gear Case Cover" for removal and refer to "1.10.2.1 Inspection of Gear Case Cover" for inspection.
- Remove and inspect the cylinder head. Refer to "1.2.2 Removal and Cleaning of Cylinder Head" for removal and refer to "1.2.3 Inspection of Cylinder Head" for inspection.
- Remove and inspect the piston and connecting rod assemblies. Refer to "1.18.2 Cleaning and Removal of Piston and Connecting Rod"
and refer to "1.18.3.1 Inspection of the Piston and Connecting Rod Assembly"
for inspection.
Note: The connecting rod caps must be reinstalled to their respective connecting rods. The main bearing caps should be kept in sequence, so that they may be installed to their original positions.
- Loosen and remove the main bearing cap bolts. Remove the main bearing caps.
- Remove and inspect the thrust washers from each side of the No. 4 main bearing cap.
- Remove and inspect the crankshaft, including the crankshaft gear and timing wheel. Refer to "1.27.2 Removal of Crankshaft Timing Gear and Timing Wheel Removal" .
- Remove and inspect the timing gear and timing wheel.
- Remove the Woodruff key from the slot in the front crankshaft hub.
Section 1.7.2.1
Inspection of Crankshaft
Perform the following steps for crankshaft inspection:
|
EYE INJURY |
|
To avoid injury from flying debris when using compressed air, wear adequate eye protection (face shield or safety goggles) and do not exceed 276 kPa (40 psi) air pressure. |
- Clean out the oil passages thoroughly with a stiff wire brush. Clean the crankshaft with fuel oil and dry it with compressed air.
- Inspect the crankshaft timing gear keyway for evidence of cracks or wear. Replace the crankshaft if these conditions are evident.
- If the crankshaft shows evidence of excessive overheating, replace the crankshaft since the heat treatment has probably been destroyed.
- Check the crankshaft journal surfaces for score marks and other imperfections. If excessively scored, the journal surfaces must be reground. Refer to "Additional Information" .
- Carefully, inspect the front and rear end of the crankshaft in the area of the oil seal contact surface for evidence of a rough or grooved condition. Any imperfections of the oil seal contact surfaces will result in oil leakage at these points.
- If the crankshaft oil seal contact surfaces are grooved, the seal surfaces must be sleeved and an oversized seal used. Refer to "1.8 Crankshaft Oil Seals" .
- Check the crankshaft thrust surfaces for excessive wear or grooving. If excessively worn, the thrust surfaces must be reground. Refer to "Additional Information" .
- Check the crankshaft timing gear for worn or chipped teeth. Inspect the timing wheel for bent or otherwise damaged teeth. Replace as necessary. Refer to "1.27.2.1 Inspection of Crankshaft Timing Gear and Timing Wheel" .
- Check the crankcase journal run-out. Refer to "1.7.2.2 Crankshaft Journal Run-out Measurements" .
- Check the journal alignment. Refer to "1.7.2.3 Adjacent Journal Alignment" .
- Check the journal measurements. Refer to "1.7.2.4 Journal Diameter Measurements" .
- Inspect the crankshaft for cracks. Refer to "1.7.2.5 Inspection for Cracks" .
Section 1.7.2.2
Crankshaft Journal Run-out Measurements
Support the crankshaft on its front and rear journals on Vee-blocks or the inverted engine block with only the front and rear upper bearing shells in place. Check the intermediate main journals with a dial indicator for run-out when the crankshaft is rotated.
When checking the crankshaft bow, if the run-out is greater than that listed in Table "Crankshaft Bow" , the crankshaft must be replaced.
|
Journals Supported On |
Journals Measured |
Maximum Run-out (Total Indicator Reading) |
|
No. 1 and No. 5 |
No. 2 and No. 4 |
0.075 mm (0.003 in.) |
|
No. 1 and No. 5 |
No. 3 |
0.130 mm (0.005 in.) |
Section 1.7.2.3
Adjacent Journal Alignment
When run-out on the adjacent journals is in opposite directions, the sum must not exceed 0.076 mm (0.003 in.) total indicator reading. When the high spots of run-out on the adjacent journals are in the same direction, the difference must not exceed 0.076 mm (0.003 in.) total indicator reading.
Section 1.7.2.4
Journal Diameter Measurements
Measure all of the main and connecting rod bearing journals diameters. See Figure "Dimensions of Crankshaft Journals" .

Figure 5. Dimensions of Crankshaft Journals
Measure the journals at several places on the circumference so that taper, out-of-round and bearing clearances can be determined. If the crankshaft is worn so that the maximum connecting rod or main bearing journal-to-bearing shell clearance (with new shells) exceeds 0.1270 mm (0.005 in.) (connecting rod journals) or 0.1412 mm (0.0056 in.) (main bearing journals), the crankshaft must be reground. Measurements of the crankshaft should be accurate to the nearest 0.0025 mm (0.0001 in.). Also, if the main bearing journal taper of a used crankshaft exceeds 0.0381 mm (0.0015 in.) or the out-of-round is greater than 0.0254 mm (0.001 in.), the crankshaft must be reground. Refer to "Additional Information" .
Also, measure the distance between crankshaft thrust washer surfaces. See Figure "Standard Dimensions at No. 4 Main Bearing Thrust Washers" .

Figure 6. Standard Dimensions at No. 4 Main Bearing Thrust Washers
Section 1.7.2.5
Inspection for Cracks
Carefully check the crankshaft for cracks which start at an oil hole and follow the journal surface at an angle of 45° to the axis. Any crankshaft with such cracks must be replaced. Several methods of determining the presence of minute cracks not visible to the eye are available: refer to "1.7.2.6 Magnetic Particle Method" for magnetic particle method, refer to "1.7.2.7 Fluorescent Magnetic Particle Method" for fluorescent magnetic particle method, or refer to "1.7.2.8 Fluorescent Penetrant Method" for fluorescent penetrant method.
Section 1.7.2.6
Magnetic Particle Method
Magnetize the crankshaft and then cover it with a fine magnetic powder or solution. Flaws, such as cracks, form a small local magnet which causes the magnetic particles in the powder or solution to gather there, effectively marking the crack.
NOTICE: |
|
Very fine cracks may be missed using the magnetic particle method especially on discolored or dark surfaces. |
NOTICE: |
|
The crankshaft must be demagnetized after the test to avoid engine damage. |
If the crankshaft is discolored or has dark surfaces, the magnetic particle method should not be used. Refer to "1.7.2.7 Fluorescent Magnetic Particle Method" for suitable alternate method.
Section 1.7.2.7
Fluorescent Magnetic Particle Method
This method is similar to the magnetic particle method, refer to "1.7.2.6 Magnetic Particle Method" , but is more sensitive since it employs magnetic particles which are fluorescent and glow under black light. Very fine cracks that may be missed under the first method, especially on discolored or dark surfaces, will be disclosed under the black light.
NOTICE: |
|
The crankshaft must be demagnetized after the test to avoid engine damage. |
Section 1.7.2.8
Fluorescent Penetrant Method
This is a method which may be used on both non-magnetic and magnetic materials. A highly fluorescent liquid penetrate is applied to the part. Then the excess penetrant is removed from the surface and the part is dried. A developing powder is then applied which helps to draw the penetrant out of the flaws by capillary action. Inspection is carried out under a black light.
A majority of indications revealed by the above inspection methods are normal and harmless and only in a small percentage of cases is reliability of the part impaired when indications are found. Since inspection reveals the harmless indications with the same intensity as the harmful ones, detection of the indications is but a first step in the procedure. Interpretation of the indications is the most important step.
After manufacture, all crankshafts are magnetic-particle-inspected to eliminate the possibility of defective shafts being placed into original equipment.
Crankshaft failures are rare and when one cracks or breaks completely, it is very important to make a thorough inspection for contributory factors. Unless abnormal conditions are discovered and corrected, there will be a repetition of the failure.
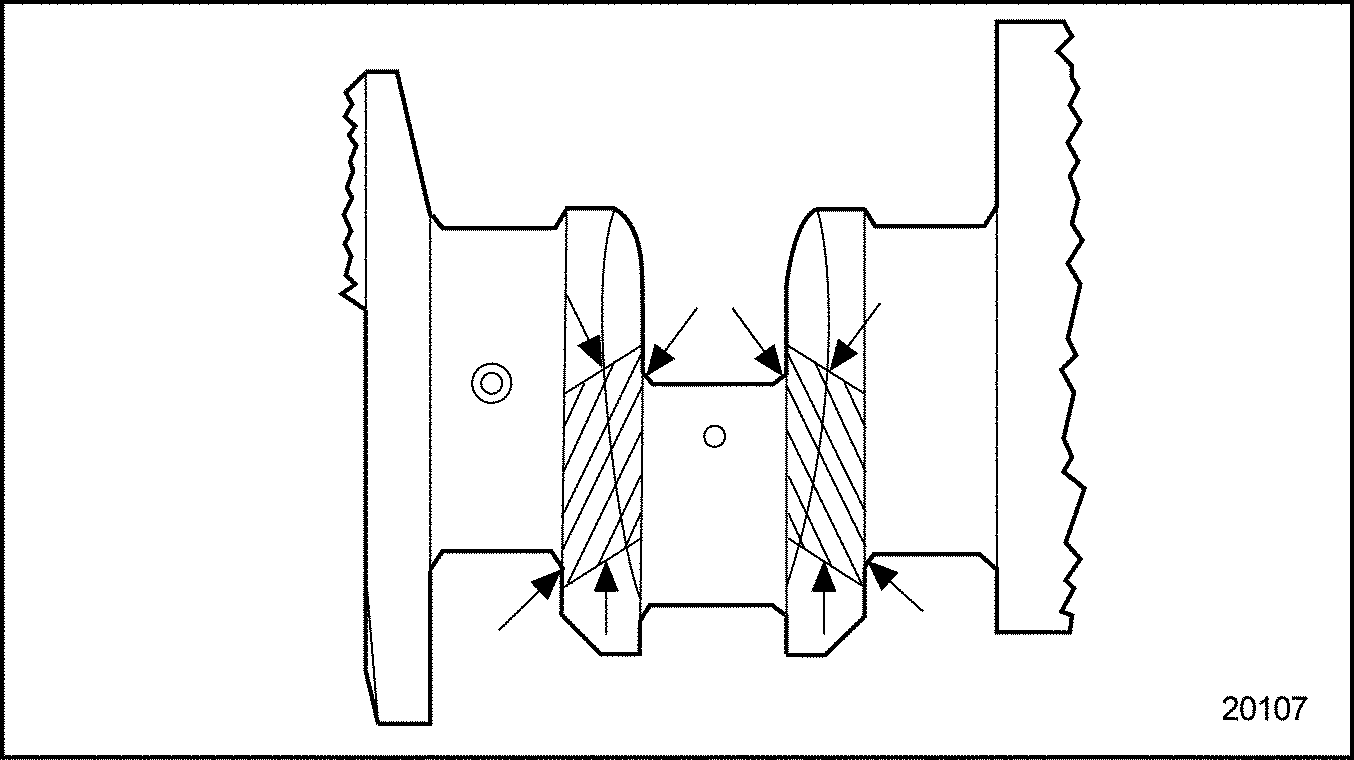
There are two types of loads imposed on a crankshaft in service: a bending force and a twisting force. The design of the shaft is such that these forces produce practically no stress over most of the surface. Certain small areas, designated as critical areas, sustain most of the load. See Figure "Critical Crankshaft Loading Zones" .

Figure 7. Critical Crankshaft Loading Zones
Section 1.7.2.9
Bending Fatigue
Failures can result from bending of the crankshaft.
The crankshaft is supported between each of the cylinders by a main bearing and the load imposed by the gas pressure on top of the piston is divided between the adjacent bearings. An abnormal bending stress in the crankshaft, particularly in the crank fillet, may be a result of misalignment of the main bearing bores, improperly fitted bearings, bearing failures, loose or broken bearing caps, or unbalanced pulleys. Also, drive belts which are too tight will impose a bending load upon the crankshaft.
Failures resulting from bending start at the pin fillet and progress throughout the crank cheek, sometimes extending into the main journal fillet. If main bearings are replaced due to one or more badly damaged bearings, a careful inspection must be made to determine if any cracks have started in the crankshaft. These cracks are most likely to occur on either side of the damaged bearing.
Section 1.7.2.10
Torsional Fatigue
Failures result from torsional vibration which takes place at high frequency. A combination of abnormal speed and load conditions may cause the twisting forces to set up a vibration, referred to as torsional vibration, which imposes high stresses at the locations. See Figure "Crankshaft Fatigue Cracks" .

Figure 8. Crankshaft Fatigue Cracks
Torsional stresses may produce a fracture in either the connecting rod journal or the crank cheek in the rear. Torsional failures may also occur at the front end of the crankshaft at the crankshaft timing gear drive key slot. Connecting rod journal failures are usually at the fillet or oil hole at 45° to the axis of the shaft.
A loose, damaged or defective vibration damper, a loose flywheel or the introduction of improper or additional pulleys or couplings are usual causes of this type of failure. Also, overspeeding of the engine or overriding the engine electronic control system to allow engine overspeeding may be contributory factors.
Section 1.7.2.11
Crankshaft Cracks
As previously mentioned, most of the indications found during inspection of the crankshaft are harmless. The two types of indications to look for are circumferential fillet cracks at the critical areas and 45° cracks (45° to the axis of the shaft) starting from either the critical fillet locations or the connecting rod journal holes. See Figure "Crankshaft Fatigue Cracks" . Replace the crankshaft when cracks of this nature are found. Refer to "1.7.3 Installation of Crankshaft" .
Section 1.7.2.12
Crankshaft Grinding
The use of properly remanufactured crankshafts is very important to maximize crankshaft main and connecting rod bearing life.
Remanufactured crankshafts must conform to specifications. Refer to "Additional Information" . The dimensional requirements for journal axial profile, radial chatter and oil hole washout require confirmation with a Gould 1200 Surface Analyzer (or equivalent). Information on Gould 1200 is available in the "Glossary". Refer to "Additional Information" .
Note: Visual inspection cannot be relied upon to confirm the compliance to journal quality specifications.
The procedure of crankshaft journal polishing can easily create axial profile and oil hole washout conditions beyond specifications. Any polishing operation should be followed by Gould 1200 (or equivalent) measurements to assure conformance to remanufactured specifications. Refer to "Additional Information" .
All used crankshafts that have not been reground must meet the dimensional specifications standard or be reground to specifications. Refer to "Additional Information" .
In addition to standard size crankshaft thrust washers, 0.127 mm (0.005 in.) and 0.254 mm (0.010 in.) oversize thrust washers are available. Refer to "Additional Information" thrust surface specifications are listed in Table "Crankshaft" .
Remanufactured crankshafts should be stamped on the edge of the No. 1 crank throw (counterweight) with the appropriate undersize dimensions for identification purposes.
Note: Crankshaft main bearing journals and/or connecting rod journals which exhibit discoloration due to excessive overheating from bearing failure are NOT acceptable for rework.
If one or more main or connecting rod journals require grinding, grind all of the main journals or all of the connecting rod journals to the same required size.
Section 1.7.3
Installation of Crankshaft
Install the crankshaft using the following procedure:
|
EYE INJURY |
|
To avoid injury from flying debris when using compressed air, wear adequate eye protection (face shield or safety goggles) and do not exceed 276 kPa (40 psi) air pressure. |
- Steam clean it to remove the rust preventative and blow out the oil passages with compressed air.
-
Refer to "1.9 Crankshaft Main Bearings"
for main bearing details and install the upper main bearing shells in the block. If the old bearing shells are to be used again, install them in the same locations from which they were removed.
Note: When a new or reground crankshaft is installed, ALL new main and connecting rod (upper and lower) bearing shells and new thrust washers must also be installed.
Note: If the crankshaft surfaces were reground, it may be necessary to install oversize thrust washers on one or both sides of the No. 4 main journal. See Figure "Crankshaft Thrust Bearing Detail" .
- Install the thrust washer upper halves in the counterbores on either side of the No. 4 bearing saddle. Coat the backs of the thrust washers (without oil grooves) with petroleum jelly and stick them in place with the oil-grooved sides facing away from the saddle.
Note: It may be easier to remove the bull gear assembly and re-time the engine; refer to "1.21 Gear Train and Engine Timing" .
- Apply clean engine oil 360° around all crankshaft bearing journals and install the crankshaft in place so that the timing marks on the crankshaft timing gear and the bull gear are aligned. Refer to "1.21 Gear Train and Engine Timing" .
- Install the main bearing shells in the main bearing caps as follows:
- Align the tang on the lower main bearing shell with the groove in the main bearing cap. Install the bearing shell to the main bearing cap.
- If the old bearing shells are to be used again, install them in the same bearing caps from which they were removed.
Note: The main bearing caps are bored in position and stamped with a position number. They must be installed in their original positions, with the marked (numbered) side of each cap toward the cooler (right) side of the cylinder block.
- Install the main bearing caps together with lower bearing shells in place. Install the main bearing cap bolt. See Figure
"No. 4 Main Bearing Cap Installation"
.

Figure 9. No. 4 Main Bearing Cap Installation
- Apply a small quantity of International Compound #2® (or equivalent) to the bolt threads and underside of the bolt heads. Install the main bearing cap bolts and draw them up snug. Rap the main bearing caps sharply with a fiber mallet or plastic hammer to insure the caps are fully seated.
Note: If the bearings have been installed properly, the crankshaft will turn freely with all of the main bearing cap bolts drawn to the specified torque.
- Torque all of the main bearing cap bolts to 470-530 N·m (347-391 lb·ft). Begin at the center caps and work progressively toward each end. Tighten the bolts to half the specified torque and then repeat the tightening sequence to the torque limit.
- Install a dial indicator to the cylinder block. See Figure "Measuring Crankshaft End Play" .
- Check the crankshaft end by moving the crankshaft toward the gage with a small (less than 12 in., 0.3 m) pry bar. See Figure
"Measuring Crankshaft End Play"
. Keep a constant pressure on the pry bar and zero the pointer on the dial indicator. Then, remove and insert the pry bar on the other side of the bearing cap. Force the crankshaft in the opposite direction and note the amount of end play on the dial. The end play should be 0.097-0.419 mm (0.004-0.017 in.). Insufficient end play can be the result of a misaligned No. 4 main bearing, a mislocated upper thrust washer or a burr or dirt on the inner face of one or more of the thrust washers.

Figure 10. Measuring Crankshaft End Play
- Assemble the timing wheel and crankshaft gear on the crankshaft. Refer to "1.27.3 Installation of Crankshaft Timing Gear and Timing Wheel" .
- Install the piston and connecting rod assemblies. Refer to "1.18.5 Installation of Piston and Connecting Rod Assembly" . Torque the connecting rod cap nuts to 160-185 N·m (118-137 lb·ft).
- Install the cylinder head. Refer to "1.2.5 Installation of Cylinder Head" .
- Install the flywheel housing. Refer to "1.16.3 Installation of Flywheel Housing" .
- Replace the rear crankshaft seal with new seal and sleeve assembly. Refer to "1.8.7 Installation of Front and Rear Crankshaft Oil Seal and Wear Sleeve" .
- Install the flywheel. Refer to "1.14.3 Installation of Flywheel" .
- Install the lubricating oil pump, inlet and outlet pipes. Refer to "3.2.5 Installation of Oil Pump" .
- Install the gear case cover and engine front support. Refer to "1.10.3 Installation of Gear Case Cover" .
- Replace the front crankshaft seal with new seal and sleeve assembly. Refer to "1.8.7 Installation of Front and Rear Crankshaft Oil Seal and Wear Sleeve" .
- Install the viscous vibration damper. Refer to "1.12.3 Installation of Crankshaft Vibration Damper" .
- Install the crankshaft pulley. Refer to "1.13.3 Installation of Crankshaft Pulley" .
- Install the oil pan. Refer to "3.9.3 Installation of Oil Pan" .
- Use a chain hoist and spreader bar with hooks attached to the lifting brackets at each end of the engine and remove the engine from the overhaul stand.
- Remove the overhaul stand adapter plate from the engine block.
- Install any accessories that were removed.
- Install the engine to the equipment from which it was removed.
- Fill the cooling system. Refer to "13.5.4 Cooling System" .
- Fill the engine crankcase to correct operating level. Refer to "13.5.1 Lubricating Oil" .
- After replacing the main or connecting rod bearings or installing a new or reground crankshaft, operate the engine as outlined in the "Run-In Schedule." Refer to "11.8.2 Dynamometer Test and Run-in Procedure" .
| Series 50 Service Manual - 6SE50 |
| Generated on 10-13-2008 |