Section 1.19
Connecting Rod
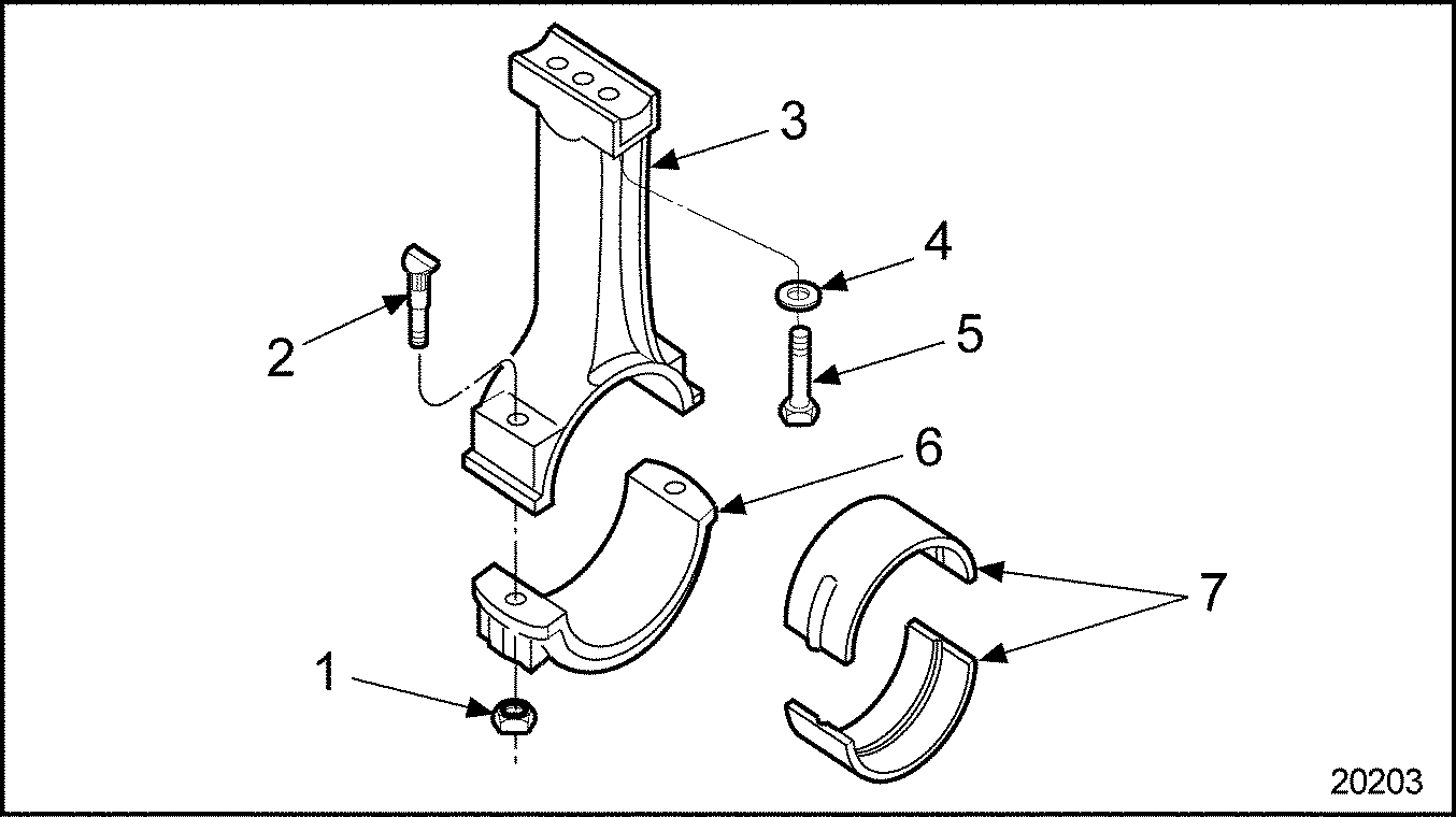
The connecting rod is forged to an "I" section with an open or saddle type contour at the upper end and a bearing cap at the lower end. The surface of the connecting rod is shot peened for added strength. Therefore, no grinding is permitted since it will remove the benefits of shot peening. See Figure "Connecting Rod and Bearing Shells" .
The upper end of the connecting rod is machined to match the contour of the piston pin. The piston pin is secured to the connecting rod with two special bolts and spacers. The lower bearing cap is secured to the connecting rod by two specially machined bolts and nuts.
The two special bolts locate the cap relative to the upper end. The assembly is machined as a unit and must not be used in the engine with any other cap or upper end. Orientation of the cap to the upper end is identified by stamped numbers.

|
1. Rod Bolt Nut |
5. Piston Pin Bolt (2) |
|
2. Connecting Rod Cap Bolt (2) |
6. Connecting Rod Bearing Cap |
|
3. Connecting Rod |
7. Bearing Shells |
|
4. Spacer |
|
Figure 1. Connecting Rod and Bearing Shells
The connecting rods replaced the former connecting rods, effective with the following engine serial numbers as listed in Table "New Connecting Rod Replacement" :
|
ENGINE MODEL |
ENGINE SERIAL No. |
|
All Series 50 Engines |
4R6665 |
This change was made to allow installation of new, wider connecting rod bearings that provide improved oil film thickness and reduced bearing pressures.
The rod chamfers on the new connecting rods are smaller than those on the former rods. This has been done to provide proper support for the wider bearings. To conform with this change, new crankshafts with smaller fillet radii have been released. Refer to "1.7 Crankshaft" for information of the new crankshafts.
Note: The new connecting rods, bearings, and crankshafts must be used together to ensure interchangeability. Former parts cannot be mixed with new parts in the same engine. The former connecting rods will continue to be available for engines built prior to the unit serial numbers as listed in Table "New Connecting Rod Replacement" .
The connecting rod bearing shells are precision made and are of the replaceable type. The upper bearing shell is seated in the connecting rod and a lower bearing shell is seated in the connecting rod cap. These bearings are not identical. The upper and lower bearing shells are located in the connecting rod by a tang at the parting line at one end of each bearing shell. See Figure "Connecting Rod and Bearing Shells" .
The tri-metal bearing wear surfaces use a steel backing. First, an optimum composition (copper, tin and lead) lining is bonded to the steel back. A nickel barrier above the lining and the overlay serves to prevent tin migration. A soft lead overlay, 0.025 mm (0.001 in.) thick, provides run-in protection, and an initial wear surface. A flash tin plate, front and back, is for added corrosion protection and resistance during shipping and handling. These bearings are identified by the satin silver sheen of the tin when new, and a dull gray of the overlay after being in service.
The oil hole through the upper bearing shell supplies oil to the oil passage in the connecting rod, thereby providing a supply of lubricating oil from the crankshaft to the connecting rod bearings, piston-pin bushing, and underside of the piston dome. The upper shell is grooved from one edge to the oil hole. The lower shell has a full-length (180°) groove. See Figure "Connecting Rod Bearing Detail" .
The connecting rods bearing caps are numbered according to the cylinder position with matching numbers stamped on the connecting rod tang side.

Figure 2. Connecting Rod Bearing Detail
New, wider connecting rod bearings replaced the former connecting rod bearings as listed in Table "New Connecting Rod Replacement" .
This change was made to improve oil film thickness and reduce bearing pressures. The new bearings are 47.44-47.14 mm (1.868-1.856 in.) wide. The former bearings were 43.44-43.14 mm (1.710-1.698 in.) wide. To provide full support for the wider bearings, new connecting rods with smaller rod chamfers and new crankshafts with smaller fillet radii were also released. Refer to "1.7 Crankshaft" for information on the new crankshafts.
Note: The new connecting rod bearings, connecting rods, and crankshafts must be used together to ensure interchangeability. Former parts cannot be mixed with new parts in the same engine. The former bearing shells will be available for engines built prior to the unit serial numbers as listed in Table "New Connecting Rod Replacement" .
Section 1.19.1
Repair or Replacement of Connecting Rod
To determine if repair is possible or replacement is necessary, perform the following procedure. See Figure "Flowchart for Repair or Replacement of Connecting Rod" .

Figure 3. Flowchart for Repair or Replacement of Connecting Rod
Section 1.19.2
Cleaning and Removal of the Connecting Rod
Before removal, make sure the connecting rods and caps are stamped with their correct cylinder location. If not marked, stamp location (1-4) on the tang side (cooler side) of the rod and cap.
Refer to "1.18.2 Cleaning and Removal of Piston and Connecting Rod" for piston and connecting rod assembly removal procedure.
Section 1.19.3
Disassembly of Connecting Rod
Disassemble the connecting rod as follows:
Note: It is best to disassemble, inspect and assemble each connecting rod separately. It's very important to keep the connecting rod cap, and the upper and lower bearing shells to the original connecting rod.
- Loosen and remove the two bolts.
- Remove connecting rod cap and bearings shells.
Section 1.19.3.1
Inspection of Connecting Rod
Clean the bearings prior to inspection as follows:
- Clean the bearings with fuel oil.

EYE INJURY
To avoid injury from flying debris when using compressed air, wear adequate eye protection (face shield or safety goggles) and do not exceed 276 kPa (40 psi) air pressure.
- Dry the bearings with compressed air.
Inspect the connecting rod as follows:
- Inspect the connecting rod saddle at the piston pin contact surface for traces of fretting and corrosion.
- To repair, wet with fuel oil and smooth with crocus cloth.
Section 1.19.4
Assembly of Connecting Rod
Assemble connecting rod as follows:
- Install the connecting rod cap with the numbers on the same (oil cooler) side on the connecting rod.
- Lubricate the bolt threads with clean engine oil.
NOTICE:
Be sure the connecting rod bolt has not turned in the connected rod before torque is applied to the nut.
NOTICE:
Do not over torque the connecting rod bolt nuts. Over torque may permanently distort the connecting rod cap.
- Torque the bolt nuts to 160-185 N·m (118-137 lb·ft).
Section 1.19.4.1
Inspection of Assembled Connecting Rod
Measure the connecting rod bearing diameter at five locations. See Figure "Dimensional Inspection of Cross-head Piston Connecting Rods" .

Figure 4. Dimensional Inspection of Cross-head Piston Connecting Rods
- Calculate size of diameter at split line, W. [W=(A+B) ÷ 2].
- Calculate the average bore out-of-round, X. [X=W-C] X must be between -0.012 and 0.012 mm (-0.0005 and 0.0005 in.).
- Calculate the average connecting rod bearing bore size, Y. [Y=(W+X) ÷ 2] Y must be between 91.288 and 91.313 mm (3.594 and 3.595 in.).
- Determine taper, Z. [Z=D2-D1] Z must be between -0.012 and 0.012 mm (-0.0005 and 0.0005 in.).
- Determine the rod length by finding the distance between E1 and E2. See Figure
"Dimensional Inspection of Cross-head Piston Connecting Rods"
.
- The acceptable rod length specification for the Series 50 Engine is: 269.25-269.35 mm (10.6004-10.6043 in.), for Series 50G Engines is: 262.90-263.00 mm (10.3504-10.3543 in.).
- If the connecting rod bore is not to specifications, the rod must be scrapped and cannot be machined.
- If a new service connecting rod is required, stamp the cylinder number on the connecting rod and cap. Refer to "1.18.2 Cleaning and Removal of Piston and Connecting Rod" .
Section 1.19.4.2
Inspection of Connecting Rod Bearings and Bearing Bores
Inspect the connecting rod bearing as follows:
|
EYE INJURY |
|
To avoid injury from flying debris when using compressed air, wear adequate eye protection (face shield or safety goggles) and do not exceed 276 kPa (40 psi) air pressure. |
- Clean the rust preventive from a service replacement connecting rod and blow compressed air through the drilled oil passage to be sure it is clean of obstructions. Also make sure the split line (cap to rod) is thoroughly cleaned.
- Check connecting rod bearing wear surfaces for scoring, pitting, flaking, chipping, cracking, loss of overlay, or signs of overheating.
- Overlay plated bearings may develop very small cracks or small isolated cavities ("checking") on the bearing surface during engine operation. These are characteristics of and are NOT detrimental to this type of bearing. The bearings should not be replaced for these minor surface imperfections. The upper bearing shells, which carry most of the load, will normally show signs of distress before the lower bearing shells do. If the overlay is worn through to the copper across the bearing shell, all the bearing shells must be replaced.
- If any of these conditions are detected, replace the bearings.
- Inspect the backs of the connecting rod bearing shells.
- Check for bright spots that indicate shells have been shifting in their bores.
- If bright spots are evident, replace the bearings shells.
- Inspect the connecting rod bearing bores.
- Check for burrs or foreign particles.
- Use an emery cloth to smooth bore surface, otherwise replace part.
- Inspect the bearings shells.
- Measure the thickness of the bearing shells, using a micrometer and ball attachment, refer to "1.9.2.1 Inspection of Crankshaft Main Bearings" . The minimum thickness of a worn standard connecting rod bearing shell should not be less than 3.086 mm (0.1215 in.).
- If either bearing shell is thinner than this dimension, replace both bearing shells.
- Inspect the bearing shells and the crankshaft journals.
- Check the clearance between the connecting rod bearing shells and the crankshaft journals using a soft plastic measuring strip which is squeezed between the journal and the bearing. Refer to "Additional Information" and see Figure "Standard Crankshaft Keyway Dimensions" .
- If the connecting rod bearing-to-journal clearance exceeds 0.151 mm (0.006 in.) with used parts, replace with a new bearing.
Note: Before installing the bearings, inspect the crankshaft journals. Refer to "1.7 Crankshaft" . Do NOT replace one connecting rod bearing shell alone. If one bearing shell requires replacement, install both new upper and lower bearing shells. Also, if a new or reground crankshaft is to be used, install all new bearing shells.
Note: Bearing shells are NOT reworkable from one undersize to another under any circumstances.
Bearing shells are available in 0.250, 0.500 and 0.750 mm (approximately 0.010, 0.020, and 0.030 in.) undersize for service with reground crankshafts. To determine the bearing size required, refer to "Additional Information" , and listed in Table "Crankshaft Journal Specifications" .
Section 1.19.5
Installation of Connecting Rod
Refer to "1.18.5 Installation of Piston and Connecting Rod Assembly" to install the piston and connecting rod assembly.
| Series 50 Service Manual - 6SE50 |
| Generated on 10-13-2008 |