Section 1.6
Rocker Cover
The Series 50 Engines use a two-piece rocker cover that is constructed of cast aluminum. The top piece or cap is held in place by six bolts and is removable for access to the valve, engine brake and fuel injector adjusting mechanisms. See Figure "Two-piece Rocker Cover-Series 50 Diesel" , see Figure "Two Piece Rocker Cover-Series 50G with Remote Coil Ignition" and see Figure "Two Piece Rocker Cover-Series 50G with Coil Over Plug Ignition" .

|
1. Limiting Sleeve |
6. Rocker Cover Gasket |
|
2. Isolator |
7. Rocker Cover Base |
|
3. Washer |
8. Isolator Rim Seal |
|
4. Bolt |
|
|
5. Rocker Cover Cap |
|
Figure 1. Two-piece Rocker Cover-Series 50 Diesel

|
1. Gasket |
9. Ring Seal |
|
2. O-ring Seal |
10. Bolt |
|
3. Tube |
11. Cover |
|
4. Gasket |
12. Bolt |
|
5 Bolt |
13. Isolator |
|
6. Washer |
14. Spacer |
|
7. Retainer |
15. Rocker Cover Base |
|
8. Cover |
16. Gasket |
Figure 2. Two Piece Rocker Cover-Series 50G with Remote Coil Ignition

|
1. Gasket |
8. Cover |
|
2. Seal Ring |
9. Bolt |
|
3. Tube |
10. Isolator |
|
4. Seal Ring |
11. Spacer |
|
5. Screw |
12. Rocker Cover Base |
|
6. Cover |
13. Gasket |
|
7. Bolt |
|
Figure 3. Two Piece Rocker Cover-Series 50G with Coil Over Plug Ignition
A one-piece diamond-shaped perimeter seal is located in a groove in the rocker cover base and seals the cap to the base.
Two caps are available with the Series 50 diesel engines. One is for use with a Jake Brake, and one without a Jake Brake.
Two caps are available with the Series 50G engines. One is used with the remote coil ignition system and one is used with the coil over plug ignition system.
The rocker cover base is attached to the cylinder head using eight assemblies consisting of a bolt, limiter sleeve, isolator and flat washer. All rocker covers use a silicone rim seal, seated in a groove around the edge of the rocker cover to provide an effective oil seal. The two-piece design rocker cover has a provision for a crankcase ventilation breather which is used when the gear case filler breather is not present.
Section 1.6.1
Repair or Replacement of Rocker Cover
To determine if repair is possible or replacement is necessary perform the following procedure. See Figure "Flowchart for Repair or Replacement of Rocker Cover" .

Figure 4. Flowchart for Repair or Replacement of Rocker Cover
Section 1.6.2
Cleaning and Removing of Two-piece Rocker Cover-Diesel Engines Only
Preclean the rocker cover, especially around its base on the cylinder head and in the attaching bolt recesses to keep dirt and debris out of the valve gear chamber.
To remove the two-piece rocker cover:
- Remove the six bolts that attach the rocker cover cap to the base.
- Lift the cap off the base.
- Loosen and remove the eight bolt/isolator assemblies that attach the base to the cylinder head.
- Lift the base straight up off the cylinder head.
Section 1.6.3
Disassembly of Two-piece Rocker Cover-Diesel Engines Only
Disassemble the two-piece rocker cover for diesel engine as follows:
Note: The natural gas engines have a baffle type breather in the base and the rocker cover does not disassemble.
- Disengage the clip that holds the crankcase vent breather element in the rocker cover by pressing the center of the spring steel retaining clip outward and removing the straight end.
- Rotate the clip upward to remove the curved end.
- Remove the wire mesh element.
Section 1.6.3.1
Inspection of Two-piece Rocker Cover-Diesel Engines Only
To inspect the two-piece low profile valve cover cap which had a removable breather housing:
- Remove the three screws and retainer that retains the breather housing.
- Remove the breather housing, seal, and wire mesh element.
- Wash the components in clean fuel oil.

EYE INJURY
To avoid injury from flying debris when using compressed air, wear adequate eye protection (face shield or safety goggles) and do not exceed 276 kPa (40 psi) air pressure.
- Blow dry with compressed air.
- Reassemble breather housing to rocker cover cap. See Figure
"Crankcase Vent Breather"
. Torque the screws to 2.5 N ·m (22 lb· in.).

1. Two-piece Valve Rocker Cover
6. Retainer
2. Retainer Clip
7. Two-piece Low Profile Rocker Cover Cap
3. Wire Mesh Element
8. Seal
4. Screw
9. Breather Housing
5. Retainer Cover
Figure 5. Crankcase Vent Breather
Section 1.6.4
Cleaning and Removal of Two-Piece Rocker Cover-Gas Engines with Remote Coil Ignition System Only
Preclean the rocker cover, especially around its base on the cylinder head and in the attaching bolt recesses to keep dirt and debris out of the valve gear chamber.
To remove the two-piece rocker cover:
- Remove the ignition boots from the spark plug wells. Refer to "15.5.1 Removal of Ignition Boot" .
- Remove the eight bolts that attach the ignition boot retainer from the rocker cover cap. Lift off the retainers, covers, and O-rings.
- Remove the six bolts that attach the rocker cover cap to the base.
- Lift the cap off the base leaving the four extensions tubes in the cylinder head.

EYE INJURY
To avoid injury from flying debris when using compressed air, wear adequate eye protection (face shield or safety goggles) and do not exceed 276 kPa (40 psi) air pressure.
- Blow any excess oil from the outside of the extension tube so that the oil will not enter the spark plug well when the extensions tubes are removed.
- Pull the four extension tubes from the cylinder head.
- Loosen and remove the eight bolt/isolator assemblies that attach the base to the cylinder head.
- Lift the base straight up off the cylinder head.
Section 1.6.5
Removal and Precleaning of Two-Piece Rocker Cover-Gas Engines with Coil Over Plug Ignition System Only
Preclean the rocker cover, especially around its base on the cylinder head and in the attaching bolt recesses to keep dirt and debris out of the valve gear chamber.
To remove the two-piece rocker cover:
- Remove the ignition boots from the spark plug wells. Refer to "15.5.1 Removal of Ignition Boot" .
- Lift the cap off the base leaving the four extensions tubes in the cylinder head.
- Blow any excess oil from the outside of the extension tube so that the oil will not enter the spark plug well when the extensions tubes are removed.
- Pull the four extension tubes from the cylinder head.
- Loosen and remove the eight bolt/isolator assemblies that attach the base to the cylinder head.
- Lift the base straight up off the cylinder head.
Section 1.6.6
Pre-installation of Rocker Cover Base
Perform the following steps prior to installing the rocker cover base:
Note: Be sure the rocker cover grooves and the seals are clean, free of oil and dry.
- Install the rocker cover gasket in corners of the camshaft cap section (arch at each end of the rocker cover) first.
- Install the cam cap section, starting in the center, by pushing the seal into the groove at the top of the arch. Then install each section at its halfway point. Seat the gasket completely around the arch. Be sure the corners are still firmly seated after the arch is completed. They should present a square corner parallel to the rocker cover rail. Repeat this procedure for the cam cap section on the other end. See Figure
"Rocker Cover Gasket Installation"
.

Figure 6. Rocker Cover Gasket Installation
- Install the long runs of the gasket starting in the center, by pushing the seal into the groove.
- Then install the rail portion at each halfway point. Repeat this procedure for the other rail portion. Make sure the seal is completely seated all the way around the rocker cover.
Note: The corners must be cleaned prior to RTV installation for best results.
- Apply a small 3.0 mm (3/16 in.) fillet of RTV in the corners formed by the rear camshaft cap and the head, where the cover seal contacts. Repeat this procedure for the corners formed by the front camshaft cap and the head. See Figure
"RTV Installation"
.

Figure 7. RTV Installation
Section 1.6.7
Installation of the Two-piece Rocker Cover Base
Install the two-piece rocker cover as follows:
- Position the rocker cover base on the cylinder head.
- Lubricate the valve cover limiting sleeves with clean silicone spray. Insert the sleeves into the isolators until the end of the sleeve is flush with the isolator. See Figure
"Rocker Cover Base Hold-down Hardware"
.

1. Limiting Sleeve
3. Bolt
2. Isolator
4. Flat Washer
Figure 8. Rocker Cover Base Hold-down Hardware
- Install the hold-down bolts, with washers installed, to the limiting sleeves.
- Install the hold-down assemblies to the rocker cover base, and thread the bolts two-to-three threads into the cylinder head.
Note: Use care when tightening the rocker cover base hold-down bolts that the injector wires do not get caught between the limiting sleeve and the cylinder head. See Figure "Rocker Cover Base Hold-down Bolt Installation" .

Figure 9. Rocker Cover Base Hold-down Bolt Installation
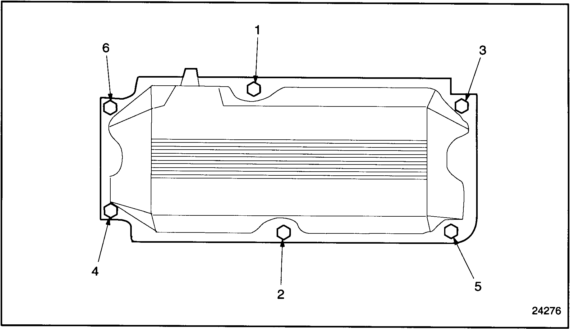
- Torque the eight rocker cover base hold-down bolts to 30-38 N·m (22-28 lb·ft) using the tightening sequence. See Figure
"Rocker Cover Base Bolt Tightening Sequence"
. Tighten the bolts in two stages, using half-torque value first.

Figure 10. Rocker Cover Base Bolt Tightening Sequence
Section 1.6.8
Installation of the Two-Piece Rocker Cover Cap - Diesel Engines Only
Install the two-piece rocker cover as follows:
- Be sure the groove in the bottom of the rocker cover base, and its mating, diamond-shaped seal are clean and dry. Install the diamond-shaped seal to the groove by pressing the seal into the groove. Use care not to stretch or twist the seal. The seal has a definite shape, and should be installed exactly as removed from the base. If the seal cannot be installed to its groove without bunching or looping, the seal is stretched and must be replaced. The same procedure applies to the intermediate cover diamond seal installation.
- Install the rocker cover cap to the base. Install the six bolts that attach the cap to the base, and torque to 22-25 N·m (16-18 lb·ft) using the torque sequence. See Figure
"Rocker Cover Bolt Cap Tightening Sequence"
. Tighten the bolts in two stages, using half-torque value first. The same procedure applies to the intermediate cover installation.

Figure 11. Rocker Cover Bolt Cap Tightening Sequence
- Install any other parts that were removed for this procedure.

PERSONAL INJURY
Diesel engine exhaust and some of its constituents are known to the State of California to cause cancer, birth defects, and other reproductive harm.
- Always start and operate an engine in a well ventilated area.
- If operating an engine in an enclosed area, vent the exhaust to the outside.
- Do not modify or tamper with the exhaust system or emission control system.
- Start the engine and check for leaks. Refer to "11.8 Engine Run-in Instructions" .
Section 1.6.9
Installation of the Two-Piece Rocker Cover Cap (Remote Mount Ignition System Only)
Install the two-piece rocker cover cap as follows:
- Clean any oil or dirt from the spark plug wells.
- Insert the four extension tubes with O-rings in the cylinder head.
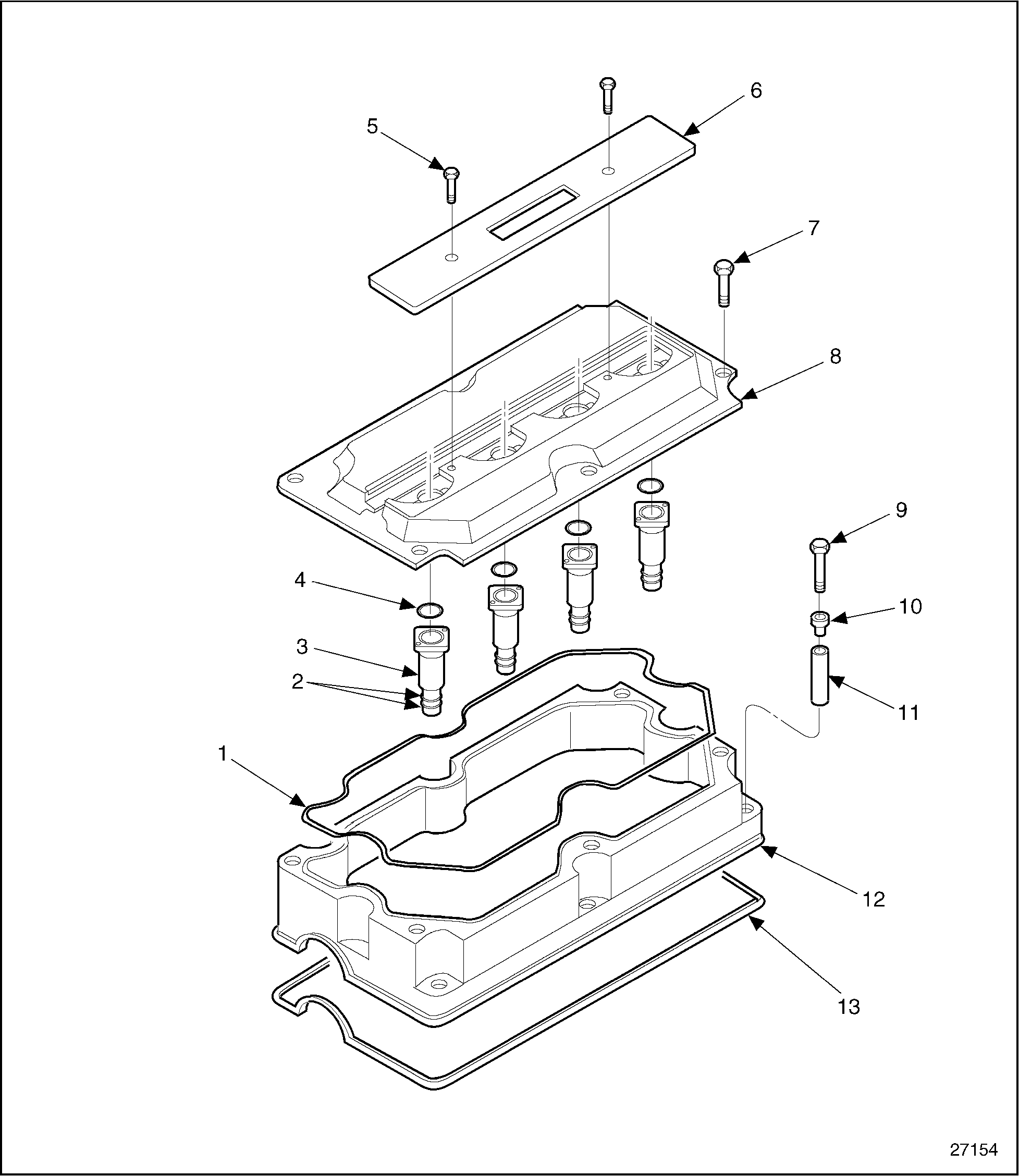
- Install the rocker cover cap to the base with the six bolts. Torque the bolts to 22-25 N ·m (16-18 lb·ft). Torque the bolts in two stages, using half torque value first. See Figure
"Two-Piece Rocker Cover"
.

1. Gasket
9. Ring Seal
2. O-ring Seal
10. Bolt
3. Tube
11. Cover
4. Gasket
12. Bolt
5. Bolt
13. Isolator
6. Washer
14. Spacer
7. Retainer
15. Rocker Cover Base
8. Cover
16. Gasket
Figure 12. Two-Piece Rocker Cover
- Install the four O-rings, extension tube covers, and ignition boot retainers using the eight attachment bolts. Torque the bolts to 13-16 N·m (10-12 lb·ft).
Note: The two types of ignition boot retainers are used for the right side ignition wire routing and they must be installed.
- Install the ignition boots into the spark plug wells and any other ignition system parts that were removed. Refer to "15.5.2 Installation of Ignition Boot" .
- Install any other parts that were removed for this procedure.

PERSONAL INJURY
Diesel engine exhaust and some of its constituents are known to the State of California to cause cancer, birth defects, and other reproductive harm.
- Always start and operate an engine in a well ventilated area.
- If operating an engine in an enclosed area, vent the exhaust to the outside.
- Do not modify or tamper with the exhaust system or emission control system.

PERSONAL INJURY
Diesel engine exhaust and some of its constituents are known to the State of California to cause cancer, birth defects, and other reproductive harm.
- Always start and operate an engine in a well ventilated area.
- If operating an engine in an enclosed area, vent the exhaust to the outside.
- Do not modify or tamper with the exhaust system or emission control system.
- Start the engine and check for leaks. Refer to "11.8 Engine Run-in Instructions" .
Section 1.6.10
Installation of the Two-Piece Rocker Cover Cap (Coil Over Plug Ignition System Only)
Install the two-piece rocker cover cap as follows:
- Clean any oil or dirt from the spark plug wells.
- Insert the four extensions tubes with O-rings in the cylinder head. See Figure
"Two-Piece Rocker Cover"
.

1. Gasket
8. Cover
2. Seal Ring
9. Bolt
3. Tube
10. Isolator
4. Seal Ring
11. Spacer
5. Screw
12. Rocker Cover Base
6. Cover
13. Seal Ring
7. Bolt
Figure 13. Two-Piece Rocker Cover
- Orient the extension tubes so that eight threaded holes are in a straight line. This will allow the coil mounting bolts to engage these holes after the rocker cover cap is installed.
- Place the rocker cover cap on base without disturbing the extension tube seals. Loosely install the six bolts that attach the cap to the base.
- Insert the coils into the spark plug wells. Engage the coil mounting bolts into the extensions tubes. Torque the bolts 13-16 N·m (10-12 lb·ft).
- Torque the six rocker cover cap mounting bolts to 22-25 N·m (16-18 lb·ft). See Figure "Two-Piece Rocker Cover" .
- Install the remaining ignition system parts. Refer to "15.11 Coil Over Plug Ignition System" .
- Apply antiseize compound to the coil cover mounting screw holes to aid removal of these parts in the future.
- Install any other parts that were removed for this procedure.

PERSONAL INJURY
Diesel engine exhaust and some of its constituents are known to the State of California to cause cancer, birth defects, and other reproductive harm.
- Always start and operate an engine in a well ventilated area.
- If operating an engine in an enclosed area, vent the exhaust to the outside.
- Do not modify or tamper with the exhaust system or emission control system.
- Start the engine and check for leaks. Refer to "11.8 Engine Run-in Instructions" .
| Series 50 Service Manual - 6SE50 |
| Generated on 10-13-2008 |