Section 1.23
Thrust Plate Perimeter Seal
The camshaft thrust plate perimeter seal forms a seal between the camshaft thrust plate and the gear case cover. If the seal should require replacement due to leakage, the seal can be replaced without removing the cylinder head. The following procedure should be used if the perimeter seal requires replacement.
Section 1.23.1
Repair or Replacement of Thrust Plate Perimeter Seal
To determine if repair or replacement of the thrust plate perimeter seal is necessary, perform the following procedure. See Figure "Flowchart for Repair or Replacement of Camshaft Thrust Plate Perimeter Seal " .

Figure 1. Flowchart for Repair or Replacement of Camshaft Thrust Plate Perimeter Seal
Section 1.23.2
Removal of Thrust Plate Perimeter Seal
Remove the thrust plate perimeter seal as follows:
- Remove the air cleaner and charge air cooler ducting from the turbocharger and air intake manifold. Refer to "6.2.2 Cleaning and Removal of Air Cleaner" .
- If the upper radiator hose prevents removal of the valve rocker cover, drain coolant into a suitable container until it is below the level of the thermostat housing outlet. Then disconnect the hose from the thermostat housing. Refer to "4.4.2 Cleaning and Removal of Pressure Control Cap" .
- Remove the valve rocker cover. Refer to "1.6.1 Repair or Replacement of Rocker Cover" .
-
Remove the five bolts that secure the camshaft drive gear access cover to the gear case cover.
See Figure
"Camshaft Drive Gear Access Cover and Adjustable Idler Gear Access
"
.

Figure 2. Camshaft Drive Gear Access Cover and Adjustable Idler Gear Access
- Remove Jake Brakes®, if equipped. Refer to "1.30 Jake Brake" .
- Remove the rocker and rocker shaft assemblies. Refer to "1.3.2 Removal of Rocker Arm Assembly" .
- Using LPS Contact Cleaner or equivalent residue-free solvent, clean the gear case back/thrust plate area to improve visual access to the seal area. Wipe the area dry with paper towels.
-
Using an appropriate marker, scribe a vertical locator line across the gear case and the back face of the camshaft thrust plate. This will ensure proper positioning of the thrust plate during reassembly.
See Figure
"Camshaft Thrust Plate Clearance
"
.

Figure 3. Camshaft Thrust Plate Clearance
- Using the square hole in the middle of the crankshaft pulley, rotate the crankshaft to align the lightening holes in the camshaft drive gear with the camshaft thrust plate mounting bolts, providing access to the bolts.
- Using an appropriate marker such as a grease pencil, mark the gear teeth. This will ensure proper cam timing during reassembly.
-
Insert the shoe of the camshaft drive gear torque holding tool, J 35652
, through a lightening hole of the camshaft drive gear. See Figure
"Installation of Camshaft Drive Gear Torque Holding Tool
"
.

Figure 4. Installation of Camshaft Drive Gear Torque Holding Tool
- Using the 3/4 in. square hole in the center of the crankshaft pulley, bar the engine over slightly so that the bolt holes in the holding tool align with the access cover bolt holes in the gear case cover.
- Install the camshaft drive gear torque holding tool, J 35652 , to the gear case, engaging one of the lightening holes in the camshaft drive gear. Use two of the access cover bolts to secure the tool to the gear case cover.
- Using a long 3/4 in. drive breaker bar and a 27 mm impact socket, remove the camshaft drive gear mounting bolt.
- Remove camshaft drive gear torque holding tool J 35652 from the gear case cover.
- Insert a clean shop towel into the gear case opening to prevent removed bolts from falling into the gear case.
NOTICE:
Do not allow bolts or the shop towel to fall into the gear case. Failure to remove loose bolts or the shop towel from the gear case may result in severe gear train damage at engine startup.
- Remove the three (current) or two (former) camshaft thrust plate mounting bolts carefully to avoid dropping them into the gear case.
- Reverse camshaft gear pilot tool J 35906 by turning it 180 degrees and install it to the camshaft drive gear access opening using three of the access cover bolt holes. The J tool number should face away from the engine and the hub end of the tool should be inside the access hole. Tighten the three tool retaining bolts.
- Engage the puller bolt in the threads of the camshaft drive gear hub until the bolt is tight. Turn the bolt clockwise, pulling the thrust plate towards the front of the engine approximately 6-7 mm (1/4 in.) until the camshaft hub contacts the J tool and the perimeter seal is clearly accessible. The gap between the end of the camshaft and the thrust plate should be wide enough to permit the perimeter seal to pass through.
-
Remove the number 1 camshaft bearing cap using socket tool J 36003
.
See Figure
"Removal of Camshaft Cap Stud
"
.

Figure 5. Removal of Camshaft Cap Stud
- Using a flat-bladed screwdriver on the side of one of the camshaft lobes, lever the camshaft back and away from the thrust plate.
- Using a hook-end pick, J 39227 , reach into the thrust plate bore in the gear case, hook the perimeter seal, and pull it off of the thrust plate. Pass the seal between the thrust plate and camshaft and discard. Pull the diamond seal from the thrust plate groove and discard.
Section 1.23.2.1
Inspection of Thrust Plate Perimeter Seal Groove
Inspect the thrust plate perimeter seal groove as follows:
- Rotate the thrust plate by hand and visually inspect to make sure all seal material is completely out of the seal groove. If necessary, use a work light or flashlight to thoroughly inspect the groove.
- Wipe the groove clean after inspection.
Section 1.23.3
Installation of Thrust Plate Perimeter Seal
Install the thrust plate perimeter seal as follows:
NOTICE: |
|
Failure to install seals properly, failure to install new, dry (no lubrication) bolts where required, or failure to tighten bolts to the required torque using an accurately calibrated hand torque wrench may result in bolt loosening and loss of clamping load, which may cause severe engine damage. |
NOTICE: |
|
Do not use RTV or any other type of sealant on the thrust plate perimeter seal. Application of sealant will prevent proper seal crush (flow), which may result in seal leakage. |
- After passing a new perimeter seal between the thrust plate and cylinder head, carefully install it in the thrust plate groove with the ribbed edges against the sides of the groove and the beveled edge facing out.
Note: The former thrust plate perimeter seal was redesigned to provide greater reliability and less susceptibility to twisting during installation. See Figure "Thrust Plate Perimeter Seal" for design configuration.

Figure 6. Thrust Plate Perimeter Seal
NOTICE:
Failure to properly seat the perimeter seal in the thrust plate groove will result in seal damage. If the seal twists at initial installation or when pushing in the thrust plate, the seal can be cut and damage will result. Any seal damage can result in seal leakage during engine operation.
- Rotate the thrust plate by hand and feel the seal to ensure it is fully seated in the thrust plate groove. If any ribs are felt on the outside edge, the seal is twisted and must be adjusted. Apply Super Lube®, or an equivalent synthetic oil containing polytetrafluorethylene (PTFE), to the inside bore of the gear case housing and not the seal.
Note: When pushing the thrust plate and seal into the gear case, the seal may appear to twist. Do not be concerned because it is only rolling a little. As long as the seal was not twisted when initially installed, the seal will straighten itself out because its profile is designed to resist rolling.
- Inspect the thrust plate face seal groove to ensure all seal material is removed. Clean the face seal groove with LPS Contact Cleaner or equivalent residue-free cleaner. Do not use mineral spirits, since this will leave a residue. Wipe and dry the area thoroughly with clean paper towels.
-
Loctite 518 gasket eliminator, or equivalent,
must
be applied to the joint face surfaces of the number 1 camshaft bearing cap before installation. For proper adhesion of the anaerobic sealant at the cam cap/cylinder head joints, this area
must
be completely cleaned and all residue removed before new sealant is applied.
Clean the cylinder head and bearing cap contact surfaces thoroughly with LPS Contact Cleaner or equivalent residue-free cleaner. Wipe dry with clean paper towels.
NOTICE:
Failure to clean surfaces completely and remove all residue may result in improper gasket eliminator application, which may cause oil seepage during engine operation.
NOTICE:
Do not use RTV or any other type of sealant or spray adhesive on the camshaft diamond seal. Application of sealant or adhesive will prevent proper seal crush (flow), which may result in seal leakage.
Note: Camshaft thrust plate face seals are not reusable. When replacement of a perimeter seal or removal of the camshaft is required, a new camshaft face seal must be installed.
- Install a new seal in the thrust plate, making sure it is securely seated in the thrust plate face seal groove.
- Apply Loctite 518 gasket eliminator, or equivalent, to the joint surfaces of the number 1 camshaft bearing cap. See Figure
"Gasket Eliminator Application
"
. To help ensure proper adhesion of the gasket eliminator to the bearing cap, do not apply oil to the number 1 cam bearing or journal before installation of the bearing cap.

Figure 7. Gasket Eliminator Application
-
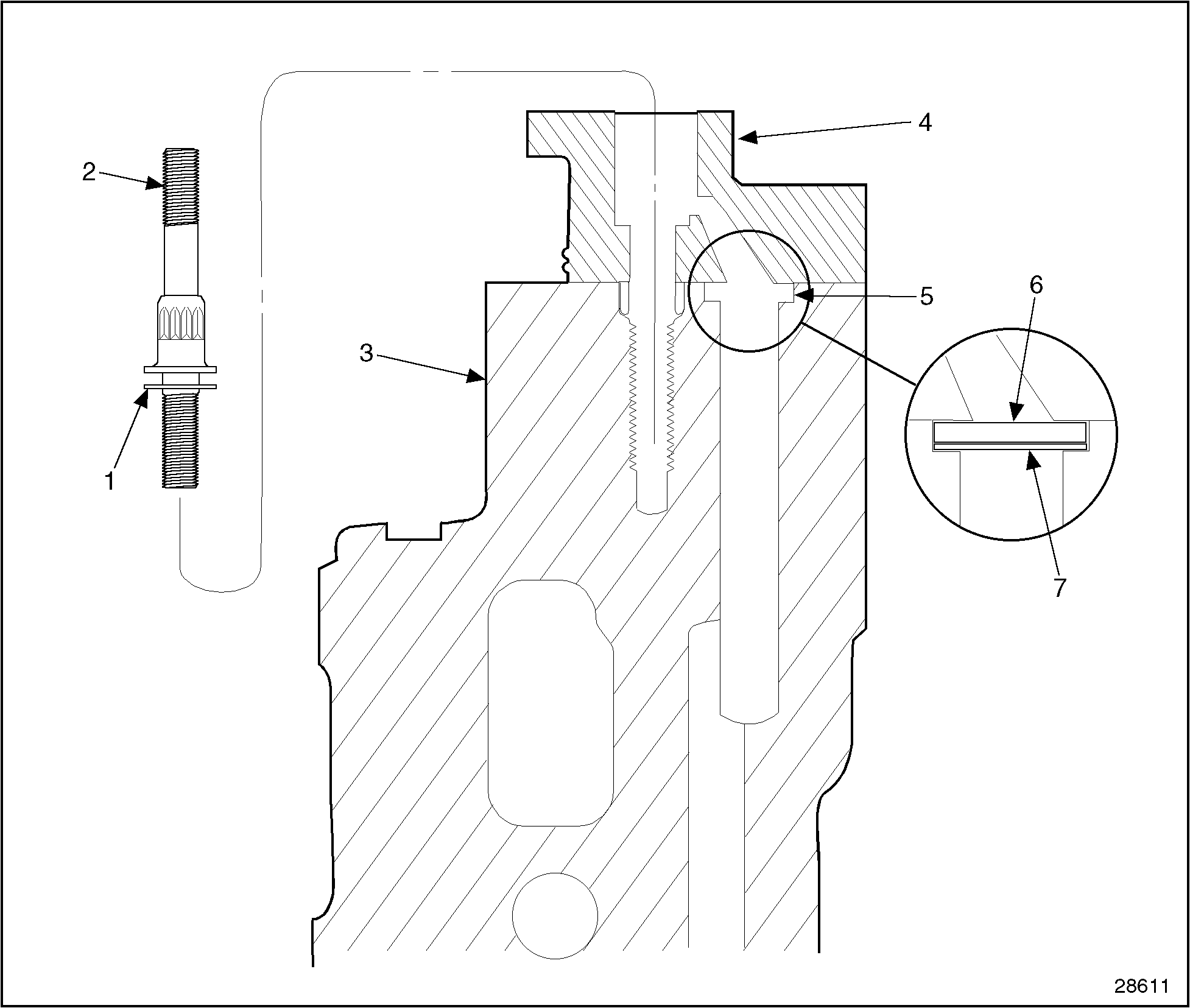
Install a new square cut seal ring in the cylinder head oil passage seal recess. Then replace the number 1 cam cap. Install a new cap stud seal (part number 23521111) onto the flange of the camshaft cap stud, then thread the stud and the camshaft cam bolt into the cylinder head.
See Figure
"Cross-Sectional View of Series 50 Cylinder Head and Camshaft Bearing Cap"
. Alternating back and forth, torque cap stud and bolt progressively to 101 - 110 N·m (74.5 - 81 lb·ft).

1. Bearing Cap Stud Seal
4. Camshaft Bearing Cap
2. Bearing Cap Stud
5. Bearing Cap Oil Passage Seal Recess
3. Cylinder Head
6. Oil Passage Seal Ring
7. Shim (if required)
Figure 8. Cross-Sectional View of Series 50 Cylinder Head and Camshaft Bearing Cap
- Loosen the large center bolt of tool J 35906 until it almost disengages from the camshaft hub.
- Align the dowel on the camshaft with the cam hub. Push rearward on the tool J 35906 bolt while centering the thrust plate in the gear case bore and observing the alignment marks made previously on the thrust plate and gear case.
-
Install a metric bolt and washer in a gear case cover bolt hole next to the access hole.
Note: To ensure proper camshaft-to thrust plate alignment, the scribe marks on the gear case and thrust plate must be aligned before the thrust plate is reinstalled in the gear case.
-
Carefully align the scribe marks on the thrust plate and gear case. Then, using a flat-bladed screwdriver or pry bar placed on the bolt washer and working from side to side, lever the thrust plate back toward the camshaft. With the thrust plate securely installed in the gear case, remove the metric bolt and washer carefully to avoid dropping them into the gear case.
NOTICE:
Improper installation of the camshaft thrust plate bolts may result in thrust plate bolt stretching or breakage. Bolt stretching may result in an inaccurate torque. Bolt breakage may cause severe gear train damage.
- Remove tool J 35906 . Carefully install new, dry (no lubrication) thrust plate mounting bolts through the thrust plate and into the cylinder head and No. 1 camshaft bearing cap. Using a 13 mm socket and an accurately calibrated hand torque wrench, torque the bolts alternately and progressively to 30 - 38 N·m (22 - 28 lb-ft). To avoid excessive tightening and possible bolt stretching, do not use an air wrench, since this may not provide an accurate torque.
-
Coat the threads and underside of the head of the camshaft drive gear-to-camshaft bolt with International Compound #2®. Check the marks previously made on the gear teeth to ensure proper cam gear timing. Install the bolt to the camshaft, finger tighten.
NOTICE:
Only tool J 35652 should be used to hold the camshaft drive gear stationary while loosening or tightening the camshaft drive gear-to-camshaft bolt to prevent component damage.
Note: The camshaft should be held in place while starting the camshaft drive gear-to-camshaft bolt, to prevent disengaging the camshaft dowel from the thrust plate hub, requiring disassembly and timing of the camshaft.
- Insert tool J 35652 through a lightening hole of the camshaft drive gear.
- Using the 3/4 in. square hole in the center of the crankshaft pulley, bar the engine over slightly to position the camshaft drive gear holding tool so that the bolt holes in the holding tool align with the access cover bolt holes in the gear case cover.
- Install two of the access cover bolts to secure the tool to the gear case cover.
- Using a 27 mm impact socket and suitable torque wrench, tighten the camshaft drive gear-to-camshaft bolt to 75 N·m (55 lb·ft) torque. Then turn the bolts clockwise 90 degrees to achieve the required torque.
- Remove camshaft drive gear torque holding tool J 35652 .
- Install the access cover plate to the gear case cover. Refer to "1.10.3 Installation of Gear Case Cover" .
- Install the rocker and rocker shaft assemblies. Refer to "1.3.3 Cleaning the Rocker Arm Assemblies" .
- Install the Jake Brakes, if equipped. Refer to "1.30.5 Installation of the Jake Brake" .
- Install the valve rocker cover. Refer to "1.6.7 Installation of the Two-piece Rocker Cover Base" and refer to "1.6.8 Installation of the Two-Piece Rocker Cover Cap - Diesel Engines Only" .
- Install or reconnect any other components that were removed or disconnected for this procedure.
| Series 50 Service Manual - 6SE50 |
| Generated on 10-13-2008 |