Section 1.36
Jake Brake
The engine brake has been designed to fit on the Series 60 engine with no additional valve cover spacers. There are three styles of valve covers for the Series 60 engine. On engines equipped with a two-piece aluminum valve cover, it is NOT necessary to remove the lower valve cover to install the engine brake. However, one style of upper valve cover may require modification at the breather housing location (inside) for engine brake clearance.
The model, part number and serial number are located on the nameplates at the top of each housing. See Figure "Nameplate Location on Housing" .

|
1. Identification Plate |
Figure 1. Nameplate Location on Housing
NOTICE: |
|
Only the specific brake model can be used with the engine model it was designed for. Also, the correct slave piston adjustment specification must be used. Failure to follow these instructions may result in serious engine or engine brake damage. |
Listed in Table "Jake Brake Model Information" are the different Jake Brake models used and the slave piston adjustment specification.
|
Model Number |
Model Year |
Engine Displacement |
Engine Brake |
Slave Piston Adjustment |
|
6067WU40 |
Pre-1991 |
11.1L |
760/760A |
0.660 mm (0.026 in.) |
|
6067GU40 |
Pre-1991 |
12.7L |
760/760A |
0.508 mm (0.020 in.) |
|
6067WU60 |
1991 |
11.1L |
760/760A |
0.660 mm (0.026 in.) |
|
6067GU40 |
1991 |
12.7L |
765 |
0.660 mm (0.026 in.) |
|
6067GU28 |
1991 |
12.7L |
765 |
0.660 mm (0.026 in.) |
|
6067GU91 |
1991 |
12.7L |
765 |
0.660 mm (0.026 in.) |
|
6067WK60 |
1994 |
11.1L |
760A |
0.660 mm (0.026 in.) |
|
6067GK60 |
1994 |
12.7L |
765 |
0.660 mm (0.026 in.) |
|
6067GK28 |
1994 |
12.7L |
765 |
0.660 mm (0.026 in.) |
|
6067EK60 |
1998 |
11.1L |
760B |
0.584 mm (0.023 in.) |
|
6067PK60 |
1998 |
12.7L |
765A |
0.584 mm (0.023 in.) |
|
6067TK60 |
1998 |
12.7L |
765A |
0.584 mm (0.023 in.) |
|
6067TK45 |
1998 |
12.7L |
765A |
0.584 mm (0.023 in.) |
|
6067MK60 |
1998 |
12.7L |
770 |
0.584 mm (0.023 in.) |
|
6067BK60 |
1998 |
12.7L |
770 |
0.584 mm (0.023 in.) |
|
6067HKXX |
1998 (Non-Line Haul) |
14L |
770 |
0.584 mm (0.023 in.) |
|
6067MK28, 6067MK45, 6067MK57, 6067MK60 |
2000 |
12.7L Standard |
790 |
0.660 mm (0.026 in.) |
|
6067BK28, 6067BK45, 6067BK57, 6067BK60 |
2000 |
12.7L Premium |
790 |
0.660 mm (0.026 in.) |
|
6067HK45, 6067HK60 |
2000 |
14L U.S. |
790A |
0.660 mm (0.026 in.) |
|
6067WK28, 6067WK60 |
2000 |
11.1L |
790B |
0.660 mm (0.026 in.) |
|
6067LK28, 6067LK45, 6067LK60 |
2000 |
11.1L |
790B |
0.660 mm (0.026 in.) |
|
6067GK28, 6067GK45, 6067GK91, 6067PK62, 6067TK28, 6067TK60, 6067TK62 |
2000 |
12.7L |
790B |
0.660 mm (0.026 in.) |
|
6067HK62 |
2000 |
14L Australian |
790C |
0.660 mm (0.026 in.) |
|
6067MK28, 6067MK45, 6067MK57, 6067MK60 |
2000 |
12.7L Standard |
795 |
0.813 mm (0.032 in.) |
|
6067BK28, 6067BK45, 6067BK57, 6067BK60 |
2000 |
12.7L Premium |
795 |
0.813 mm (0.032 in.) |
|
6067HK45, 6067HK60 |
2000 |
14L U.S. |
795 |
0.813 mm (0.032 in.) |
|
6067WK28, 6067WK60 |
2000 |
11.1L |
795 |
0.813 mm (0.032 in.) |
|
6067LK28, 6067LK45, 6067LK60 |
2000 |
11.1L |
795 |
0.813 mm (0.032 in.) |
|
6063GK60, 6067GK28, 6067GK45, 6067GK91, 6067PK62, 6067TK28, 6067TK60, 6067TK62 |
2000 |
12.7L |
795 |
0.813 mm (0.032 in.) |
|
6067HK62 |
2000 |
14L Australian |
795 |
0.813 mm (0.032 in.) |
All slave piston adjustments shown here are current as of the date of this manual and supersede all previous adjustments.
XXXX = Model numbers to be determined.
Note: All engines built after serial number 06R0004455 have the correct engine parts for engine brake installation. The model numbers have changed because of design changes in the engine brakes.
Note: All Series 60 engines with serial numbers 06R0004455 or higher are Jake Brake ready. Do not install a Jake Brake on engines with lower serial numbers.
Effective August 10, 2000, Model 795 Jake Brakes are used on all Series 60 engines requiring an engine brake.
Former Jake Brake production models for the Series 60 engine were the 760A (which replaced model 760), 760B, 765, 765A, 770 and 790.
Detroit Diesel engine model Nos. 6067GU28 and 6067GK28 are for bus/coach applications. Due to interference fits on some coach chassis, a two-housing Jake Brake kit may be required. Contact your Detroit Diesel Distributor for information on these kits.
Jake Brake® is a registered trademark of Jacobs Vehicle Systems. J-Lash™ is a trademark of Jacobs Vehicle Systems.
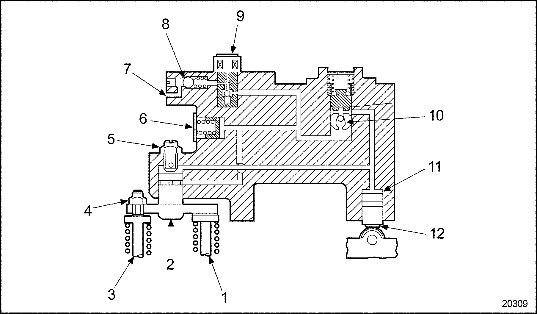
Energizing the engine brake effectively converts a power-producing diesel engine into a power-absorbing air compressor. This is accomplished through motion transfer using a master-slave piston arrangement which opens cylinder exhaust valves near the top of the normal compression stroke, releasing the compressed cylinder charge to exhaust. See Figure "Jake Brake Schematic" .

|
1. Exhaust Valve |
7. Oil In |
|
2. Slave Piston Assembly |
8. Check Valve (Model 760) |
|
3. Exhaust Valve |
9. Solenoid Valve |
|
4. Leveling Screw |
10. Control Valve |
|
5. Slave Piston Adjusting Screw |
11. Master Piston |
|
6. Accumulator |
12. Injector Pin and Roller |
Figure 2. Jake Brake Schematic
The blowdown of compressed air to atmospheric pressure prevents the return of energy to the engine piston on the expansion stroke, the effect being a net energy loss, since the work done in compressing the cylinder charge is not returned during the expansion process.
Exhaust blowdown occurs as the energized solenoid valve permits engine lube oil to flow under pressure through the control valve to both the master piston and the slave piston. See Figure "Jake Brake Schematic" .
Oil pressure causes the master piston to move down, coming to rest on the injector rocker arm roller.
The injector rocker arm begins its travel as in the normal injection cycle, moving the master piston upward and directing high-pressure oil to the slave piston. The ball check valve in the control valve traps high-pressure oil in the master-slave piston system.
High pressure oil causes the slave piston to move down, momentarily opening the exhaust valves, while the engine piston is near its top-dead-center position, releasing compressed cylinder air to the exhaust manifold.
At the bottom of its stroke, the slave piston separates from the valve in the slave piston adjusting screw, allowing high pressure oil to flow into the accumulator. This reduces the pressure in the high pressure circuit, permitting the slave piston to retract and the exhaust valves to close in preparation for the normal exhaust valve cycle. The oil pressure reserved in the accumulator ensures that the hydraulic circuit is fully charged for the next cycle. Compressed air escapes to the atmosphere, completing a compression braking cycle.
The Jake Brake is electronically controlled. Jake Brake control system wiring will vary depending on the vehicle manufacturer. For a general overview of the Jake Brake, see Figure "Typical Model 760, 765, or 770 Jake Brake Assembly" and see Figure "Typical Model 790/795 Jake Brake Assembly " .

|
1. Ball Check Valve (Model 760 Only) |
8. Control Valve Spring |
15. Power Lash Assembly |
|
2. Washer |
9. Collar Spring |
16. Slave Piston Adjusting Screw |
|
3. Master Piston |
10. Washer |
17. Slave Piston |
|
4. Master Piston Spring |
11. Snap Ring Retainer |
18. Slave Piston Leveling Screw |
|
5. Washer and Screw Assembly |
12. Solenoid Valve |
19. Bridge |
|
6. Control Valve |
13. Seal Rings |
20. Return Spring |
|
7. Collar |
14. Accumulator Piston |
21. Screw |
Figure 3. Typical Model 760, 765, or 770 Jake Brake Assembly

|
1. Solenoid Valve |
9. Master Piston Retaining Ring |
17. Slave Piston |
|
2. Solenoid Upper Seal Ring |
10. Control Valve |
18. Slave Piston Bridge |
|
3. Solenoid Center Seal Ring |
11. Outer Control Valve Spring |
19. Outer Slave Piston Spring |
|
4. Solenoid Lower Seal Ring |
12. Inner Control Valve Spring |
20. Inner Slave Piston Spring |
|
5. Master Piston |
13. Control Valve Cover |
21. Spacer Tube |
|
6. Master Piston Pushrod |
14. Retaining Ring |
22. Shoulder Bolt |
|
7. Master Piston Spring |
15. Adjusting Screw* |
23. Drive Screw |
|
8. Master Piston Retainer |
16. Locknut |
24. Wire Harness Clip |
*Note that Model 790 Jake Brake uses a J-Lash™ assembly. Model 795 Jake Brake uses a solid screw.
Figure 4. Typical Model 790/795 Jake Brake Assembly
NOTICE: |
|
This application and adjustment information must be strictly followed. Failure to follow these instructions may result in serious engine or engine brake damage. |
Section 1.36.1
Repair or Replacement of Jake Brake®
To determine if repair is possible or replacement is necessary, perform the following procedure. See Figure "Jake Brake® Repair or Replacement Flowchart" .

Figure 5. Jake Brake® Repair or Replacement Flowchart
Section 1.36.2
Removal of Model 760, 765, or 770 Jake Brake
Remove the model 760, 765, or 770 Jake Brake as follows:
Note: The following procedures apply to Model 760, 765, and 777 Jake Brake. For Model 790/795 Jake Brake removal procedures, refer to "1.36.6 Removal of Model 790/795 Jake Brake Assembly " .
|
PERSONAL INJURY |
|
To avoid injury, never remove any engine component while the engine is running. |
- Disconnect starting power for engine. Refer to OEM guidelines.
- Remove the engine rocker cover. Refer to "1.6.2 Removal and Cleaning of One-piece Rocker Cover For Diesel Engines Only"
for one-piece, refer to "1.6.3 Removal and Cleaning of Two-piece Rocker Cover For Diesel Engines Only"
for two-piece and refer to "1.6.5 Removal and Cleaning of Three-piece Rocker Cover"
for three-piece.
Note: If the engine is equipped with an aluminum two-piece valve cover, remove only the upper valve cover when installing the engine brake.
- Note the location of the rocker arm shaft, the exhaust valve rocker arm, the fuel injector rocker arm, and the intake valve rocker arm.
- Disconnect the solenoid wiring harness connectors from the engine brake solenoids. See Figure
"Jake Brake Assembly"
.

1. Cylinder Head
4. Washers (3 each)
2. Jake Brake Assembly
5. Capscrews (3 each)
3. Solenoid
6. Engine Brake Harness
Figure 6. Jake Brake Assembly
- Remove the nine capscrews and washers that secure the engine brake assemblies to the cylinder head. See Figure
"Jake Brake Assembly"
.
Note: Only the Model 760 Jake Brake uses two different length capscrews. Six bolts, 120 mm (4.72 in.) long, are used on the exhaust side of the engine. Three bolts, 110 mm (4.33 in.) long, are used on the intake side of the engine. These bolts must be reinstalled in their correct positions.
- Remove the engine brake assemblies and the spacer bar.
Section 1.36.3
Disassembly of Model 760, 765, or 770 Jake Brake
Remove the control valve as follows:
|
EYE INJURY |
|
To avoid injury from flying parts when working with components under spring tension, wear adequate eye protection (face shield or safety goggles). |
- Press down on control valve washer using an appropriate diameter rod to relieve spring pressure. See Figure
"Relieving Spring Pressure"
.

1. Jake Brake Assembly
3. Snap Ring Retainer
2. Spring
4. Snap Ring Pliers
Figure 7. Relieving Spring Pressure
- Using retaining ring pliers, remove retaining ring.
- Slowly remove cover until spring pressure ceases, then remove the two control valve springs and collar. See Figure
"Removing Control Valve Springs and Collar"
.

1. Jake Brake Assembly
5. Washer
2. Control Valve
6. Collar Spring
3. Collar
7. Control Valve Spring
4. Snap Ring Retainer
Figure 8. Removing Control Valve Springs and Collar
- Using needle-nose pliers, reach into the bore and grasp the stem of the control valve. Remove control valve.
Remove the slave piston adjusting screw as follows:
- Loosen slave piston adjusting screw locknut.
- Remove adjusting screw from housing. See Figure
"Removing Slave Piston Adjusting Screw"
.

1. Jake Brake Assembly
2. Slave Piston Adjusting Screw
Figure 9. Removing Slave Piston Adjusting Screw
Remove the solenoid valve as follows:
NOTICE: |
|
To avoid possible engine damage, do not disassemble or tamper with the solenoid valve. |
- Disconnect solenoid valve harness.
- Using a 7/8 in. socket and extension for former solenoids or a 3/4 in. 6 point socket and extension for current solenoids, unscrew solenoid valve.
- Remove and discard the three rubber seal rings. See Figure
"Removing Rubber Seal Rings"
.

1. Seal Rings (3)
2. Solenoid
Figure 10. Removing Rubber Seal Rings
- If the lower ring stays in the bottom of the housing bore, remove with a piece of wire.
Remove the accumulator as follows:
|
EYE INJURY |
|
To avoid injury from flying parts when working with components under spring tension, wear adequate eye protection (face shield or safety goggles). |
- Push down on the accumulator cover using the appropriate diameter rod, and remove the retaining ring. See Figure
"Removing Retaining Ring"
.

1. Jake Brake Assembly
3. Retaining Ring Pliers
2. Retaining Ring
Figure 11. Removing Retaining Ring
- Relieve pressure on the accumulator cover.
- Remove the cover and spring.
- Use a magnet to remove the piston from the accumulator bore. See Figure
"Removing Piston from Accumulator Bore with Magnet"
.

1. Jake Brake Assembly
4. Retaining Ring
2. Piston
5. Washer
3. Spring
Figure 12. Removing Piston from Accumulator Bore with Magnet
Remove the master piston as follows:
- Remove the screw, washer, and master piston spring from the housing.
- Remove the master piston. See Figure
"Removing the Master Piston"
.
Note: Use needle-nose pliers, if necessary.

1. Washer and Screw Assembly
3. Master Piston
2. Jake Brake Assembly
4. Master Piston Spring
Figure 13. Removing the Master Piston
On Model 760 only, remove the ball check valve as follows:
- Remove the plug.
- Remove the ball check valve and spring.
Remove the slave piston as follows:
- Remove the screw and washer that retains the slave piston return spring.
- Remove the bridge and the slave piston. See Figure
"Removing Bridge and Slave Piston"
.

1. Slave Piston Bridge
4. Return Spring
2. Jake Brake Housing
5. Washer
3. Slave Piston
6. Screw
Figure 14. Removing Bridge and Slave Piston
- Loosen the leveling screw locknut and remove the leveling screw from the bridge. See Figure
"Removing the Leveling Screw from the Bridge"
.

1. Slave Piston Bridge
2. Slave Piston Leveling Screw
Figure 15. Removing the Leveling Screw from the Bridge
The injector rocker arm contains a pin and roller for actuating the engine brake master piston. If excessive wear or damage to the roller is present, replace the rocker arm assembly. Refer to "1.6.2 Removal and Cleaning of One-piece Rocker Cover For Diesel Engines Only" .
Section 1.36.3.1
Cleaning of Model 760, 765, or 770 Jake Brake
Clean the Jake Brake as follows:
Note: Use an OSHA-approved cleaning solvent when washing parts. Be sure to coat parts with clean engine oil when reinstalling them.
- Wash the control valves with approved cleaning solvent.
- Push a wire through the hole in the base of the valve to the distance required to ensure that the ball check is free.
Note: The ball should lift with light pressure on the wire.

EYE INJURY
To avoid injury from flying debris when using compressed air, wear adequate eye protection (face shield or safety goggles) and do not exceed 276 kPa (40 psi) air pressure.
- Dry the valve with compressed air, and wipe clean with a paper towel.
- Thoroughly clean the control valve bore in the housing using clean paper towels.
- Clean slave piston adjusting screw in an approved cleaning solvent.
- Clean out the solenoid valve bore in the housing.
NOTICE:
Use clean paper towels to clean the solenoid valve bore. Never use rags, as they may leave lint and residue which can plug the oil passageways, causing Jake Brake malfunction.
- Clean the master piston in approved cleaning solvent.
Section 1.36.3.2
Inspection of Model 760, 765, or 770 Jake Brake
The Jacobs engine brake is typically a trouble-free device. However, inspections are necessary and some maintenance is required. Use the following procedures to keep the engine brake in top condition.
Inspect the Jake Brake as follows:
- Inspect slave piston adjusting screw for protrusion, spring pressure and freedom of movement.
Note: The plunger should protrude from the bottom of the screw, have light spring pressure apparent when depressed, and move freely. Be sure the retaining ring is fully engaged in its groove (groove is located on the bottom of the reset screw and top of the POWER-LASH assembly).
- If the plunger does not protrude, the spring does not have light pressure or does not move freely, replace the entire screw assembly. Refer to "1.36.4 Assembly of Model 760, 765, or 770 Jake Brake"
- If the slave piston adjusting screw meets specifications, continue with inspection.
- Inspect the accumulator for wear or damage.
- If worn or damaged, replace the accumulator. Refer to "1.36.4 Assembly of Model 760, 765, or 770 Jake Brake" .
- If accumulator is not worn or damaged, continue with inspection.
- Inspect the master piston bore for wear or damage.
Note: Some wear marks are permissible.
- If worn or damaged, replace the master piston. Refer to "1.36.4 Assembly of Model 760, 765, or 770 Jake Brake" .
- If not worn or damaged, continue with inspection.
- Apply clean lube oil to the piston, and insert into bore.
Note: Master piston should move in and out freely with no binding.
- If binding occurs, replace master piston and/or housing. Refer to "1.36.4 Assembly of Model 760, 765, or 770 Jake Brake" .
- If no binding occurs, continue with inspection.
- Inspect master piston spring for relaxation.
Note: The spring should hold the master piston completely in the housing.
- If relaxed, replace the spring. Refer to "1.36.4 Assembly of Model 760, 765, or 770 Jake Brake" .
- If spring holds tightly, continue with inspection.
- Inspect the ball check valve (Model 760 only) for wear or damage.
- If worn or damaged, replace ball check valve. Refer to "1.36.4 Assembly of Model 760, 765, or 770 Jake Brake" .
- If not worn or damaged, proceed with inspection.
- Inspect slave piston components for excessive wear or damage.
- If worn or damaged, replace slave piston component.
- If not worn or damaged, proceed with inspection.
Section 1.36.3.3
Inspection of Control Valve
Inspect the control valve as follows:
- Dip the control valves in clean lube oil.
- Holding the control valve by the stem, let it drop into the bore.
- If binding occurs or if the ball sticks in the valve, replace the control valve. Refer to "1.36.4 Assembly of Model 760, 765, or 770 Jake Brake" .
- If no binding occurs and the ball does not stick in the control valve, assemble the Jake Brake. Refer to "1.36.4 Assembly of Model 760, 765, or 770 Jake Brake" .
Section 1.36.4
Assembly of Model 760, 765, or 770 Jake Brake
Install the control valve as follows:
- Slip the control valve into the bore. See Figure
"Installing the Control Valve"
.
Note: Make sure the control valve collar is installed with the longer sleeve area facing up. If the collar is installed upside down, the engine brake cylinder will not operate.

1. Jake Brake Assembly
5. Washer
2. Control Valve
6. Collar Spring
3. Collar
7. Control Valve Spring
4. Snap Ring Retainer
Figure 16. Installing the Control Valve
- Install the control valve collar and two springs.
Note: Ensure the collar is installed with the longer sleeve area facing up. If the collar is installed upside down, the engine brake cylinder will not operate.
- Press the cover (washer) into place.
- While holding the cover tightly in place, install the retaining ring.
- Rotate retaining ring ears 90 degrees to assure ring is seated in groove.
Install the slave piston adjusting screw as follows:
- Place the screw in the housing. See Figure
"Installing the Slave Piston Adjusting Screw"
.

1. Jake Brake Assembly
2. Slave Piston Adjusting Screw
Figure 17. Installing the Slave Piston Adjusting Screw
- Torque the slave piston adjusting screw locknut to 35 N·m (25 lb·ft).
Install the solenoid valve as follows:
Note: As of October 19, 1997, former solenoids have been replaced with the current improved solenoids. The current solenoids have an increased installation torque and improved durability. The current solenoid is interchangeable with the former.
- Coat new solenoid valve seal rings with clean lube oil.
Note: Use current upper seals when installing current solenoids. New seals are identified with yellow stripes.
- Install the upper and center seal rings on the solenoid valve body and the lower seal ring into the bottom of the bore in the housing. See Figure
"Installation of Solenoid Valve Seal Rings"
.

1. Seal Rings (3)
2. Solenoid
Figure 18. Installation of Solenoid Valve Seal Rings
- Make sure the seals are seated properly.
- Using a 7/8 in. socket and extension for former solenoids or a 3/4 in., 6 point socket and extension for current solenoids, carefully screw the solenoid valve into the housing without unseating the seals.
- Torque the former solenoid to 12.4 N·m (9 lb·ft). Torque the current solenoid to 20 N·m (15 lb·ft.)
Note: Be careful not to twist the seals while installing.
Install the accumulator as follows:
- Place the piston into the accumulator bore.
- Insert the spring, and install the cover.
- Push down the accumulator cover, and insert retaining ring.
Install the master piston as follows:
- Apply clean lube oil to the piston.
- Insert master piston into bore. See Figure
"Inserting Master Piston into Bore"
.

1. Washer and Screw Assembly
3. Master Piston
2. Jake Brake Assembly
4. Master Piston Spring
Figure 19. Inserting Master Piston into Bore
- Install spring, washer, and screw.
Note: Make sure spring legs are centered around master piston boss.
- Torque screw to 10 N·m (7.4 lb·ft).
On model 760 only, install the ball check valve as follows:
- Install the ball check valve and spring. See Figure
"Installation of Ball Check Valve"
.

1. Ball Check Valve
3. Pipe Plug
2. Spring
Figure 20. Installation of Ball Check Valve
- Insert the plug. Torque pipe plug to 11.2 N·m (8.3 lb·ft).
Install the slave piston as follows:
- Install the screw from the slave piston side of the bridge.
- Install the leveling screw locknut.
- Install the bridge with the leveling screw toward the center of the housing. See Figure
"Installing Bridge with Leveling Screw Toward Center of Housing"
.

1. Washer
4. Bridge Assembly
2. Screw
5. Jake Brake Housing
3. Torsion Spring
Figure 21. Installing Bridge with Leveling Screw Toward Center of Housing
- Install the slave piston assembly torsion spring with the ends over the bridge. See Figure
"Installing the Slave Piston Assembly Torsion Spring"
.

Figure 22. Installing the Slave Piston Assembly Torsion Spring
- Install the screw and washer over the center part of the spring.
NOTICE:
While tightening the screw on the torsion spring, push the spring toward the slave piston assembly. Failure to do so may result in contact between the intake valve adjusting screw and torsion spring. Serious engine damage may result.
- Torque the screw to 20 N·m (15 lb·ft.).
- Torque the slave piston leveling screw locknut to 47 N·m (35 lb·ft.).
Section 1.36.5
Installation of Model 760, 765, or 770 Jake Brake
Install the model 760, 765, or 770 Jake Brake as follows:
Note: The following procedures apply to Model 760, 765, and 770 Jake Brake. For Model 790/795 Jake Brake installation procedures, refer to "1.36.8 Installation of Model 790/795 Jake Brake Assembly " .
- Adjust the intake and exhaust valve clearances and set the injector heights. Refer to "13.2 Valve Lash, Injector Height (Timing) and Jake Brake® Lash Adjustments"
.

EYE INJURY
To avoid injury from flying debris when using compressed air, wear adequate eye protection (face shield or safety goggles) and do not exceed 276 kPa (40 psi) air pressure.
- Attach the length of tubing to a blow gun nozzle, and blow out the oil from the bolt holes.
- Cover the holes with hand towels to minimize oil spray.
Note: Removing the oil from the bolt holes prevents the cylinder head from cracking when tightening the bolts.
- Place the spacer bar on the exhaust manifold side of the cylinder head with the "OUT" markings adjoining each other and facing the exhaust manifold. See Figure
"Spacer Bars with "Out" Marks Adjoined"
, and see Figure
"Location of Spacer Bars"
.

Figure 23. Spacer Bars with "Out" Marks Adjoined

Figure 24. Location of Spacer Bars
- Place the three engine brake housings over the rocker shafts with the solenoid valves toward the camshaft side of the engine.
Note: Be sure housings do not interfere with wiring harness.

LOSS OF BRAKING
To avoid injury from the loss of braking control due to an improperly installed engine brake, do not mix rocker arm shaft and engine brake mounting bolts.
NOTICE:
Do not mix the rocker arm shaft bolts and the Jake Brake capscrews. If the rocker arm shaft bolt is mistakenly used to mount the Jake Brake housing, the longer shoulder on the bolt will block the oil supply to the Jake Brake on the camshaft side of the housing. The brake will not retard the engine as designed. This condition could cause vehicle damage.
Note: The rocker arm shaft capscrew and Jake Brake capscrew, part of the Jake Brake assembly, are similar in appearance. Both are M12 x 110 mm (4.33 in.) long and have 12–point heads.
Note: In the event of a housing hold down bolt failure on a Jacobs engine brake housing, replace all bolts on that particular housing.
NOTICE:
Use bolts that have the Jacobs logo, circled "J". Installation of bolts that do not have the circled "J" may result in damage to the engine, engine brake or both.
- The Jake Brake bolt has the Jacobs logo (circled "J") and the letters "EF" marked on the head. The bolt length is no longer marked atop the bolt head.
- The DDC rocker arm shaft bolt has the DDC logo (spinning arrows) and the vendor I.D. (F-C) on its head.
- Jake Brake model 760 requires two bolts along with one bolt and new washers.
- The DDC bolt shoulder is much longer, 17.0 mm (0.669 in.) versus 4 mm (0.157 in.) than the Jake Brake bolt. See Figure "Jake Brake and DDC Bolt Identification" .
Note: Be sure that only Jake Brake bolts, see Figure "Jake Brake and DDC Bolt Identification" , are installed in the Jake Brake housing.

Figure 25. Jake Brake and DDC Bolt Identification
NOTICE:
The model 760 uses two lengths of capscrews. Six 120 mm bolts should be installed on the exhaust side of the engine. Three 110 mm bolts should be installed on the camshaft side of the engine. Failure to do so will result in engine damage.
- On model 760, install one washer onto each 120 mm (4.72 in.) bolt, and insert into brake housing on the exhaust manifold side (two per housing). See Figure
"Installation of Jake Brake Housing Bolts on Exhaust Manifold Side"
.

1. Washer
2. Long Bolt
Figure 26. Installation of Jake Brake Housing Bolts on Exhaust Manifold Side
- On model 760, install one washer on the 110 mm (4.331 in.) bolt, and insert into brake housing at the camshaft side (one per housing). See Figure
"Installation of Jake Brake Housing Bolts on Camshaft Side"
.

1. Jake Brake Housing Assembly
2. Capscrew
Figure 27. Installation of Jake Brake Housing Bolts on Camshaft Side
- On models 760A, 760B, 765, and 765A, lubricate each hold down bolt with clean engine oil.
Note: All the housing capscrews for these models are the same length of 110 mm (4.331 in.).
- On models 760A, 760B, 765, and 765A, install a washer on each bolt, and install into housings (three bolts per housing).
- On models 760A and 765, move the housing from side to side, and locate the housing in the center position of the movement. See Figure
"Locating Center Position of Housing"
.

Figure 28. Locating Center Position of Housing
- On models 760B and 765A, move the housing from side to side, and locate as far toward the camshaft side of the engine as possible.
- On all models, torque the engine brake capscrews using the following sequence:
- Torque the three bolts on the camshaft side of the engine to 55 N·m (40 lb·ft).
- Torque the six bolts on the exhaust manifold side of the engine to 55 N·m (40 lb·ft).
- Repeat the tightening sequence and re-torque all bolts to 136 N·m (100 lb·ft).
- Check the torque to 136 N·m (100 lb·ft).
- Secure injector wire harness to each of the six Jake Brake spacer bars with tie straps.
- Verify tie strap is properly seated on the spacer bar. See Figure "Injector Harness Tie Strap Location"
- Verify tie strap is tight on spacer bar and does not move.
- Clip excess tails from tie strap.
Note: Ensure all wires are away from moving parts.

1. Injector Harness
2. Tie Strap
3. Spacer Bar
Figure 29. Injector Harness Tie Strap Location
- Connect wiring harness solenoid connectors to solenoids. See Figure
"Jake Brake Wire Terminal Connection Identification"
One Reply to “Series 60 – Section 1.36 Jake Brake”
Leave a Reply
bonjour j ai un jack break model 797B d un moteur détroit série 60 ânée 2009 quelle son les mesure d ajustement .merci