Section 1.35
Accessory Drive
The accessory drive assembly is mounted to the front of the gear case cover and utilizes a two-groove pulley to drive the alternator. See Figure "Accessory Drive Assembly Related Parts (Former Design)" , and see Figure "Accessory Drive Assembly Related Parts (Current Design)" .

|
1. Locknut |
8. Drive Gear |
|
2. Mounting Bolts (5) |
9. O-ring |
|
3. Drive Housing |
10. Gear Case Cover |
|
4. Snap Ring (Small) |
11. Bearing Inner Race |
|
5. Ball Bearing |
12. Needle Bearing |
|
6. Snap Ring (Large) |
13. Oil Seal |
|
7. Drive Shaft |
14. Pulley |
Figure 1. Accessory Drive Assembly Related Parts (Former Design)

|
1. Locknut |
8. Drive Gear |
|
2. Mounting Bolts (5) |
9. O-Ring |
|
3. Drive Housing |
10. Gear Case Cover |
|
4. Snap Ring (Small) |
11. Needle Bearing |
|
5. Ball Bearing |
12. Oil Seal |
|
6. Snap Ring (Large) |
13. Pulley |
|
7. Drive Shaft |
|
Figure 2. Accessory Drive Assembly Related Parts (Current Design)
The accessory drive assembly is splash fed oil through two holes in the casting of the accessory drive housing. The oil returns to the crankcase via the gear case.
The accessory drive is driven by a drive gear which is pressed onto the drive shaft. The drive gear meshes with the bull gear and is driven at 2.41 times engine speed.
The drive shaft is supported by a ball bearing at the drive end and a needle bearing at the pulley end.
Note: A design change has been made to the accessory drive assembly. The needle bearing inner race is now incorporated into the drive shaft. See Figure "Accessory Drive Assembly Related Parts (Former Design)" , and see Figure "Accessory Drive Assembly Related Parts (Current Design)" .
An O-ring is used to seal the accessory drive housing to the gear case cover.
Section 1.35.1
Repair and Replacement of the Accessory Drive
To determine if repair is possible or replacement is necessary, perform the following procedures. See Figure "Flowchart for Repair or Replacement of Accessory Drive" .

Figure 3. Flowchart for Repair or Replacement of Accessory Drive
Section 1.35.2
Removal and Cleaning of the Accessory Drive
Precleaning is not necessary.
Remove the accessory drive as follows:
- Loosen the alternator mounting bolts and the adjusting rod nuts to get slack in the alternator drive belts. Remove the alternator drive belts. Refer to "14.6.9 Drive Belts" .
- Remove the five bolts that secure the accessory drive assembly to the gear case cover.
- Remove the accessory drive assembly by pulling it straight out of the gear case cover to avoid damaging the rubber O-ring. See Figure
"Accessory Drive Assembly Removal"
.

Figure 4. Accessory Drive Assembly Removal
Section 1.35.3
Disassembly of the Accessory Drive
Disassemble the accessory drive as follows:
Note: For disassembly and assembly of the accessory drive use toolset (J–36024–C). See Figure "Accessory Drive Service Tool Set (J–36024–C)" .
Note: Engines built after December 2000 use the following tools for accessory drive seal removal and installation:J–45533 seal remover, J–45833 seal installer and J–45877 seal runout gauge adapter to verify proper installation of seal in accessory drive. See Figure "Accessory Drive Service Tool Set (J–36024–C)" .
Note: The seal, pulley and pulley nut are the only serviceable parts of the accessory drive assemblies with unitized oil seal.

Figure 5. Accessory Drive Service Tool Set (J–36024–C)
- Attach the accessory drive gear to the holding fixture (J–36024–3, part of toolset J–36024–C)
using the three bolts provided. See Figure
"Holding Fixture "
.

Figure 6. Holding Fixture
- Place the accessory drive assembly holding fixture into a vise. See Figure
"Accessory Drive Pulley Locknut Removal"
.

Figure 7. Accessory Drive Pulley Locknut Removal
- Remove the accessory drive pulley locknut. See Figure "Accessory Drive Pulley Locknut Removal" .
- Remove the accessory drive pulley by tapping it with a rubber hammer or fiber mallet. If the pulley does not come off easily, use a puller to remove it.

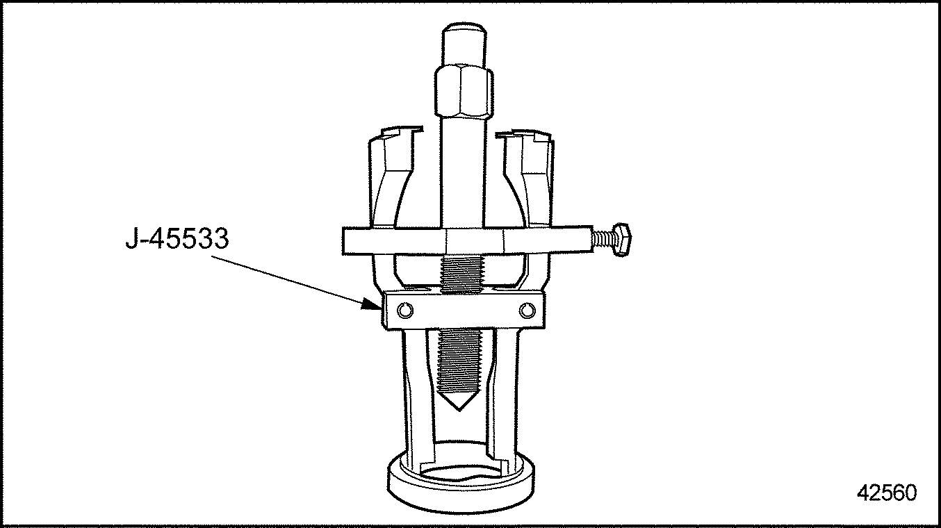
1. Seal Sleeve
Figure 8. Accessory Drive Seal Remover (J–45533)
Note: Perform steps 5, 6 and 7 unitized seal removal procedure for accessory drive assemblies on engines built after December 2000.
- Using J–45533
remove seal sleeve.
- Ensure taper end of puller bolt is pointed toward inside jaws.
- Place inside jaws of tool over sleeve. See Figure "Accessory Drive Seal Remover (J–45533)" .
- Finger tighten hex bolt on side of tool.
- Remove sleeve by tightening puller bolt.
- Removal of seal.
- Invert puller bolt. See Figure " Accessory Drive Seal Remover (J–45533)" .
- Loosen hex bolt on side of tool.
- Using a rubber mallet, gently drive outside jaws between seal and shaft through the rubber membrane of seal until tool bottoms out.
- Finger tighten hex bolt on side of tool.
- Remove seal by tightening puller bolt.

Figure 9. Accessory Drive Seal Remover (J–45533)
- Clean accessory drive housing at seal location.
- Position the accessory drive assembly on a press bed with the holding fixture supported. See Figure
"Accessory Drive Gear Removal"
.

Figure 10. Accessory Drive Gear Removal
- Using a press, apply pressure through the access hole in the holding fixture (J–36024–3, part of toolset J–36024–C) and press the drive shaft out of the gear. See Figure "Accessory Drive Gear Removal" .
- Remove the snap ring from the accessory drive housing. See Figure
"Snap Ring Removal"
.

Figure 11. Snap Ring Removal
- Turn the housing over and support the accessory drive housing on the machined surface using V-blocks.
- Using a press, apply pressure to the pulley end of the shaft and remove the shaft and bearing assembly.
- Turn the accessory drive housing over, and support it on the attaching bolt bosses using V-blocks.
Note: On current design, the shaft serves as the inner race for the needle bearing.
NOTICE:
For assemblies with inner race for needle bearing, place the accessory drive shaft in a vise with soft jaws taking care not to damage the shaft surface.
- Install J–36024–9 (part of toolset J–36024–C)
and apply pressure to remove the needle bearing. See Figure
"Needle Bearing Removal"
.

Figure 12. Needle Bearing Removal
- Remove the needle bearing inner race from the accessory drive shaft with a two jaw puller utilizing the slots provided in the shaft. See Figure
"Bearing Inner Race Removal"
.

Figure 13. Bearing Inner Race Removal
- Remove the snap ring from the accessory drive shaft. See Figure
"Snap Ring Removal"
.

Figure 14. Snap Ring Removal
- Position two steel press plates under the ball bearing outer race. See Figure
"Position of the Steel Press Plates"
.

Figure 15. Position of the Steel Press Plates
Note: Whenever the needle or ball bearing is removed from the shaft, they MUST be replaced with new bearing assemblies.
- Use a press to apply pressure to the top of the shaft and remove the ball bearing from the shaft.
Section 1.35.3.1
Inspection of the Accessory Drive
Clean the accessory drive prior to inspection as follows:
- Clean all of the parts with clean fuel oil.

EYE INJURY
To avoid injury from flying debris when using compressed air, wear adequate eye protection (face shield or safety goggles) and do not exceed 276 kPa (40 psi) air pressure.
- Dry parts with compressed air.
To inspect the accessory drive visually examine the drive shaft for damage check the drive shaft for galling, pitting, cracks, or other damage. If any damage is detected, replace with a new part. If no damage is found, reuse the part.
Section 1.35.4
Assembly of the Accessory Drive
Assemble the accessory drive as follows:
- Place a new ball bearing on the accessory drive shaft. Use tool J–36024–8 (part of toolset J–36024–C)
and a press to install the bearing onto the shaft until it bottoms out against the shoulder of the drive shaft. See Figure
"Bearing Installation"
.

Figure 16. Bearing Installation
- Install the snap ring to the accessory drive shaft making sure it is fully seated in the groove a full 360 degrees See Figure
"Snap Ring Installation"
.

Figure 17. Snap Ring Installation
- Place the needle bearing inner race on the accessory drive shaft. Use tool J–36024–8 (part of toolset J–36024–C)
and a press to install the bearing inner race to the shaft until it is tight against the shoulder. See Figure
"Needle Bearing Inner Race Installation"
.
Note: On current design accessory drive shaft, the needle bearing inner race is incorporated into the shaft.

Figure 18. Needle Bearing Inner Race Installation
- Install the needle bearing to the accessory drive housing using tool J–36024–9 (part of toolset J–36024–C)
. See Figure
"Needle Bearing Installation"
.

Figure 19. Needle Bearing Installation
Note: The end of the bearing with the identification numbers must be against the installer.
Note: The word INSTALL and an arrow are etched into the tool, J–36024–9 (part of toolset J–36024–C) , to facilitate correct bearing installation.
- Lubricate the oil seal contact area of the accessory drive housing with a thin film of engine oil.
- Install the accessory drive oil seal to the accessory drive housing using the seal installer (J–36024–10, part of toolset J–36024–C)
and a plastic hammer or fiber mallet. The oil seal must be installed flush to 0.25 mm (0.010 in.) below the face of the housing. See Figure
"Accessory Drive Oil Seal Installation"
.

Figure 20. Accessory Drive Oil Seal Installation
- Lubricate the oil seal with a thin film of engine oil.
- Support the holding fixture (J–36024–3, part of toolset J–36024–C) on two steel plates and position the accessory drive housing into the hole in the fixture. See Figure "Snap Ring Removal" .
- Install the drive shaft to the housing. See Figure
"Drive Shaft Installation"
.

Figure 21. Drive Shaft Installation
- Press the drive shaft into the housing by placing tool J–36024–8 (part of toolset J–36024–C) on the bearing outer race.
- Press the bearing into the housing until the bearing is seated against the shoulder of the housing. See Figure
"Bearing Installation"
.

Figure 22. Bearing Installation
- Install the snap ring to the accessory drive housing making sure the snap ring is fully seated in the groove a full 360 degrees See Figure
"Snap Ring Installation"
.

Figure 23. Snap Ring Installation
- Lubricate the contact surfaces of the bearing with clean engine lubricating oil.
- A film of Lubriplate® must be applied to the drive gear end of the accessory drive shaft. See Figure
"Drive Gear Installation Preparation"
.

Figure 24. Drive Gear Installation Preparation
- Use a press to install the drive gear on the accessory drive shaft until it is flush with the drive shaft end. Make sure the three threaded holes are facing up. See Figure
"Accessory Drive Gear Installation"
.
Note: Support the opposite end of the drive shaft on the press bed when pressing the gear on the shaft. A minimum press load of 17.8 kN (4000 lb) must be obtained when pressing the gear on the shaft.

Figure 25. Accessory Drive Gear Installation
Note: For accessory drive assemblies with unitized seals, effective with engines built after December 2000 perform the procedures in steps 16 and 17.
- Install seal using tool J–45833
by tightening installer nut until a positive stop is obtained. See Figure
"(J–45833) Accessory Drive Seal Installer"
.

1. Vise
Figure 26. (J–45833) Accessory Drive Seal Installer
- Measure sleeve and seal run out using tool J–45877
and a dial indicator. Total indicator deflection should not exceed 0.0762 mm (0.003 in.) for the sleeve and 0.1778 mm (0.007 in.) for the seal. If the run out is greater for either measurement, install a new seal. See Figure
"Seal Run Out Gauge Adaptor (J–45877)"
.

1. Dial Indicator
2. Seal Sleeve
Figure 27. Seal Run Out Gauge Adaptor (J–45877)
- Install the accessory drive pulley to the shaft.
Note: If necessary, use tool J–36024–8 (part of toolset J–36024–C) to seat the pulley on the shaft. If pressing is necessary, the opposite (gear) end of the shaft must be supported during the pressing operation.
- Attach J–36024–3 (part of toolset J–36024–C) to the drive gear. See Figure "Accessory Drive Service Tool Set (J–36024–C)" .
- Place the accessory drive assembly holding fixture into a vise. See Figure "Accessory Drive Pulley Locknut Tightening" .
- Install and torque the accessory drive pulley locknut to 360-400 N·m (266-295 lb·ft). See Figure
"Accessory Drive Pulley Locknut Tightening"
.

Figure 28. Accessory Drive Pulley Locknut Tightening
- Support the accessory drive assembly. See Figure
"Accessory Drive Gear TIR Measurement"
.

Figure 29. Accessory Drive Gear TIR Measurement
- Assemble a dial indicator and magnetic base, so that the indicator stem rests on the face of the accessory drive gear just inboard of the drive gear teeth. See Figure "Accessory Drive Gear TIR Measurement" .
- Zero the dial indicator.
- Rotate the drive gear two full rotations. See Figure "Accessory Drive Gear TIR Measurement" . As the gear is rotated, the dial indicator needle may register both to the left and right of zero.
- The total amount the dial indicator needle moves to the left and right of zero, added together, gives the total indicated run-out (TIR). The specified TIR is 0.04 mm (0.0015 in.).
Section 1.35.5
Installation of the Accessory Drive
Install the accessory drive as follows:
- Install the O-ring seal in the groove on the drive housing.
- Lubricate the O-ring with petroleum jelly.
- Install the accessory drive housing to its original position in the gear case cover.
Note: The word "UP" is cast into the drive housing.
- Install the bolts that secure the accessory drive housing to the gear case cover and torque to 30-38 N·m (22-28 lb·ft) using the pattern shown. See Figure
"Accessory Drive Housing Bolt Torque Sequence"
.

Figure 30. Accessory Drive Housing Bolt Torque Sequence
- Check the bull gear-to-accessory drive gear backlash. Refer to "1.24.2.1 Check Engine Timing" .
- Adjust the alternator belts. Refer to "14.6.9 Drive Belts" .
- Tighten the alternator mounting bolts.
- Install any other components removed for this procedure.
- Refer to "12.3 Running" for verification of proper accessory drive installation.
| Series 60 Service Manual - 6SE483 |
| Generated on 10-13-2008 |