Section 1.20
One-Piece Piston Assembly and Piston Ring
Series 60 engines with Exhaust Gas Recirulation (EGR) systems built after December 1, 2003 will use a one-piece piston assembly, incorporating the dome and skirt. The new piston reduces friction, improves ring cooling and has a higher compression ratio of 17.25:1 for 12L and 16.75:1 for 14L.
Note: The one-piece piston assembly is to be used only for On-Highway applications.
Ring grooves are machined into the piston assembly. The one-piece piston will not require the use of bushings see Figure "One-Piece Piston Assembly" .

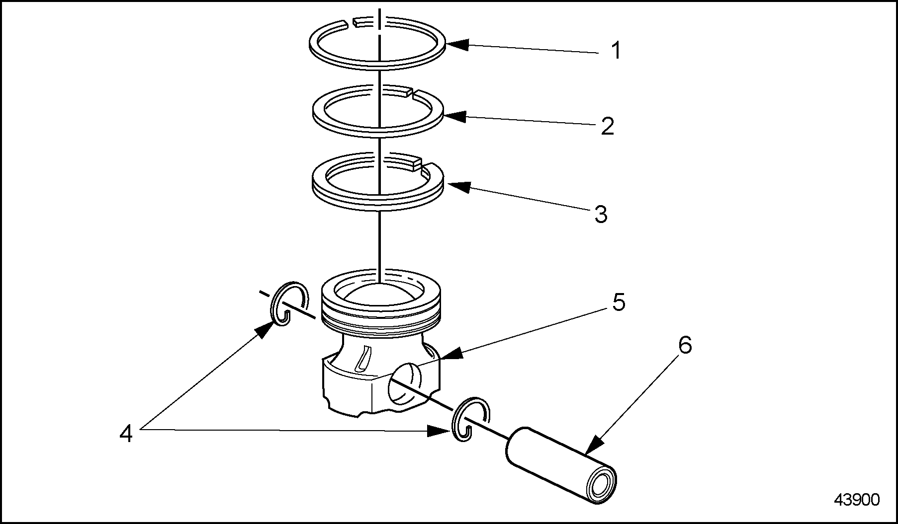
|
1. Fire Ring |
4. Retainer |
|
2. Compression Ring |
5. Piston Assembly |
|
3. Oil Control Ring with Expander |
6. Piston Pin |
Figure 1. One-Piece Piston Assembly
Each diesel piston is fitted with a fire ring, compression ring and one-piece oil control ring with expander. See Figure "One-Piece Piston Assembly Ring Location" and see Figure "Comparision of Piston Ring Packs" .

|
1. Oil Control Ring |
5. Oil Ring Expander |
|
2. Compression Ring* |
6. Oil Control Ring |
|
3. Fire Ring* |
7. Compression Ring* |
|
4. Piston Assembly |
8. Fire Ring* |
* Identification Mark to Face Top of Dome
Figure 2. One-Piece Piston Assembly Ring Location

Figure 3. Comparision of Piston Ring Packs
The fire and compression rings are installed with the “identification” mark facing up, see Figure "Fire and Compression Ring Identification" .

Figure 4. Fire and Compression Ring Identification
A one-piece oil control ring is used in the third groove. The expander is of Spira-Lox construction.

Figure 5. Solid Core Piston Pin Cross Section
The one-piece piston assembly uses a floating piston pin which rides on the one-piece bushing pressed into the end of the connecting rod. The original closed end connecting rod and solid core piston pin do not have drilled center orifices for lubrication. Oil for lubrication and steel piston cooling is supplied by oil spray from piston cooling nozzles at the bottom of each piston bore. For model year 2000 engines, an oil passage was incorporated into the connecting rod design to improve lubrication to the piston pin.
Section 1.20.1
Repair or Replacement of Piston and Piston Ring
To determine if repair is possible or replacement is necessary, perform the following procedure. See Figure "Flowchart for Repair or Replacement of Piston and Piston Rings" .

Figure 6. Flowchart for Repair or Replacement of Piston and Piston Rings
Section 1.20.2
Removal and Cleaning of Piston Assembly and Piston Ring
Refer to "1.21.2 Removal and Cleaning of Piston and Connecting Rod" for piston and connecting rod assembly removal procedure.
Section 1.20.3
Disassembly of Piston Assembly and Piston Ring
Disassemble the piston and piston rings as follows:
- Remove the piston rings with tool (J–8128)
. See Figure
"Removal of Piston Rings"
.

Figure 7. Removal of Piston Rings
- Remove oil control ring expander from oil control ring.
NOTICE:
The pin and piston assembly must be match-marked to assure proper position and orientation.
- Withdraw the piston pin and mark the front of the piston assembly with a paint pencil, so it can be returned to the correct cylinder location.
Note: The one-piece piston assembly require the removal of the retainer before withdrawing the piston pin.
Section 1.20.3.1
Inspection of Piston Assembly and Piston Rings
Clean the piston assembly and piston rings prior to inspection as follows:
|
NOTICE: |
|
Do not attempt to clean the one-piece piston by glass beading. Glass beading will remove the surface treatment. Do not refinish or polish the piston pin. |
- Clean the piston components with fuel oil.

EYE INJURY
To avoid injury from flying debris when using compressed air, wear adequate eye protection (face shield or safety goggles) and do not exceed 276 kPa (40 psi) air pressure.
- Dry the piston components with compressed air.
- If fuel oil does not remove the carbon deposits, use a chemical solvent that will not harm the coating on the piston assembly. However if a chemical solvent is to be used for the cleaning of the piston, remove the rings, some solvents can damage the top ring coating material.
NOTICE
Do not glass bead the pin bushing or pin bore.
- The piston assembly, including the compression ring grooves, is not tin-plated and may be wire-brushed to remove any hard carbon.
- Clean the ring grooves with a suitable tool or a piece of an old compression ring that has been ground to a bevel edge.
- Clean the inside surfaces of the piston dome and the oil relief channels in the oil ring grooves.
Inspect the piston assembly and piston rings as follows:
- Inspect the piston assembly.
- Check the piston assembly for score marks, cracks, damaged ring grooves or overheating indications.
- If any of these indications are present, replace the piston assembly.
Note: Burn spots may indicate an obstruction in the connecting rod oil passage.
- Inspect the piston pin.
- Check the piston pin for fretting, cracking or signs of overheating.
- If these are detected, replace piston pin.
- Measure piston pin outside diameter. Specifications are listed in Table "Articulated Steel Piston Pin" .
- If the articulated steel piston pin is out of specification, replace with new part.
NOTICE:
If the piston pin used on the one-piece piston assemblies is replaced for any reason, the piston assembly must also be replaced.
- Inspect the bushingless piston pin bore as follows.
- Check the bushingless pin bores for scoring, pitting, flaking, cracking, excessive wear or signs of overheating.
- If these conditions are present the piston assembly must be replaced.
- Inspect the edges of the piston assembly pin bore.
- Check edges of the piston assembly pin bore for dents and dings.
- If any are found it is acceptable to remove burrs at the pin bore edges by careful filing.
- Inspect the connecting rod bushing.
- Check the bushing for excessive fretting.
- If excessive fretting is evident, replace the connecting rod assembly.
Note: Remove any dirt or debris on the back of the piston pin bore that may take up clearance required for piston pin installation.
- If the piston pin used with a one-piece piston is replaced for any reason, the connecting rod bushing must be inspected for wear before the rod is installed. If the bushing is worn beyond limits, the connecting rod must be replaced. Specifications are listed in Table 1-23.
- Check the cylinder liner for excessive out-of-round and high spots which could cause failure of the piston. Specifications are listed in Table "Cylinder Liner" .
- Check the block bore for excessive out-of-round, taper, and high spots that could cause failure of the piston. Specifications are listed in Table "Cylinder Block" .
Section 1.20.4
Assembly of Piston and Piston Rings
Prior to installing the piston rings, the ring gap of each piston ring must be measured.
- Insert the piston rings inside of the cylinder liner one at a time, using a piston dome (inserted upside down into the liner) to push the ring down. The piston dome should be inserted into the liner, to the same depth as the ring being positioned.
- For the oil control ring, insert the piston dome down into the liner, until the oil control ring land is just into the liner. This will ensure that the rings are parallel with the top of the liner, and that they are positioned in the liner within the normal area of ring travel.
- After the three rings have been positioned in the liner, measure the ring gap of the top ring with a feeler gage. See Figure
"Piston Ring Gap Measurement"
. Remove the ring from the liner after the measurement is complete.

Figure 8. Piston Ring Gap Measurement
- Repeat this procedure for each ring, and record your measurements. Allowable ring end gaps are listed in Table
"Allowable Ring End Gap On-Highway Engines"
Ring
Ring End Gap
Fire Ring (2.5 mm [0.098 in.] chrome)
0.50 - 0.85 mm (0.020 - 0.033 in.)
Fire Ring (3.0 mm [0.118 in.] HVOF)
0.55 - 0.85 mm (0.022 - 0.033 in.)
Fire Ring (3.5 mm [0.138 in.] plasma)
0.50 - 0.85 mm (0.020 - 0.033 in.)
Compression Ring
0.80 - 1.15 mm (0.031 - 0.045 in.)
Oil Control Ring
0.40 - 0.65 mm (0.016 - 0.026 in.)
14L Fire Ring: (3.0 mm [0.118 in.] chrome)
0.60 - 0.86 mm (0.024 - 0.034 in.)
14L Fire Ring: (3.0 mm [0.118 in.] HVOF)
0.55 - 0.85 mm (0.022 - 0.033 in.)
14L Compression Ring
0.63 - 0.98 mm (0.025 - 0.039 in.)
14L Oil Control Ring
0.21 - 0.51 mm (0.008 - 0.020 in.)
Table 8. Allowable Ring End Gap On-Highway Engines - Refer to "1.19.5 Assembly of S60 Diesel Piston Rings" for assembly of rings for diesel engines.
Section 1.20.5
Assembly of One-Piece Piston Diesel Piston Rings
Assemble the piston rings as follows:
- Install the ring expander in the oil control ring groove in the piston. See Figure
"One-Piece Piston Assembly Installation"
.

1. Oil Control Ring
3. Piston Assembly
2. Oil Control Ring Groove
4. Oil Control Ring Expander
Figure 9. One-Piece Piston Assembly Installation
- Install the oil control ring by hand. See Figure
"Oil Control Ring Installation (Diesel)"
.
Note: The oil control ring may be installed in either direction.
Note: Install expander into inside diameter groove of ring with expander spring gap located 180° from the oil control ring gap.

Figure 10. Oil Control Ring Installation (Diesel)
Note: The oil control ring expander has a identifying paint stripe. Make sure the paint mark can be seen after the oil control ring is installed at ring gap.
Install the fire and compression rings as follows:
NOTICE: |
|
To avoid breaking or overstressing the rings, do not spread them any more than necessary to slip them over the piston dome. |
- Starting with the compression ring (second groove), install the compression ring and fire ring with tool (J–8128) . See Figure "One-Piece Piston Ring Positioning (Diesel)" . Make sure the identifying dimple on the rings is installed up, toward the dome of the piston. See Figure "Fire and Compression Ring Identification" for ring identification and locations.
- Stagger the ring gaps around the piston. see Figure
"One-Piece Piston Ring Positioning (Diesel)"
.

Figure 11. One-Piece Piston Ring Positioning (Diesel)
- Refer to "1.21.4 Assembly of Piston and Connecting Rod Assembly" for piston and connecting rod assembly procedure.
| Series 60 Service Manual - 6SE483 |
| Generated on 10-13-2008 |