Section 1.6
Rocker Cover
The rocker cover completely encloses the valve and injector operating mechanism on top of the cylinder head (and in some cases an engine brake), including the overhead camshaft.
Depending on the installation, the rocker cover may be a one-piece, two-piece or three-piece design, see Figure "Two Piece Rocker Cover - Series 60G Engine with Coil Over Plug Ignition" .
The one-piece rocker cover is molded of a sound-dampening, fiberglass-reinforced, synthetic material. It is internally ribbed to distribute the hold-down bolt clamp load for effective, full perimeter sealing. See Figure "One-piece Rocker Cover - Series 60 Diesel Engine" .
Effective July 1993, a breather baffle is installed on the low-profile aluminum rocker cover.
Note: Effective May 1999, all Series 60 engines are built with a reusable rocker cover gasket. This gasket does not need to be replaced at the time of removal provided there is not any damage observed.

|
1. Gasket |
5. Cover Plug |
|
|
2. Rocker Cover |
6. Bolt |
|
|
3. Isolator |
7. Element |
|
|
4. Washer |
8. Clip |
Figure 1. One-piece Rocker Cover - Series 60 Diesel Engine

|
1. Limiting Sleeve |
5. Rocker Cover Cap |
|
2. Isolator |
6. Diamond-Shaped Seal |
|
3. Washer |
7. Rocker Cover Base |
|
4. Bolt |
8. Isolator Rim Seal |
Figure 2. Two-piece Rocker Cover - Series 60 Diesel Engine

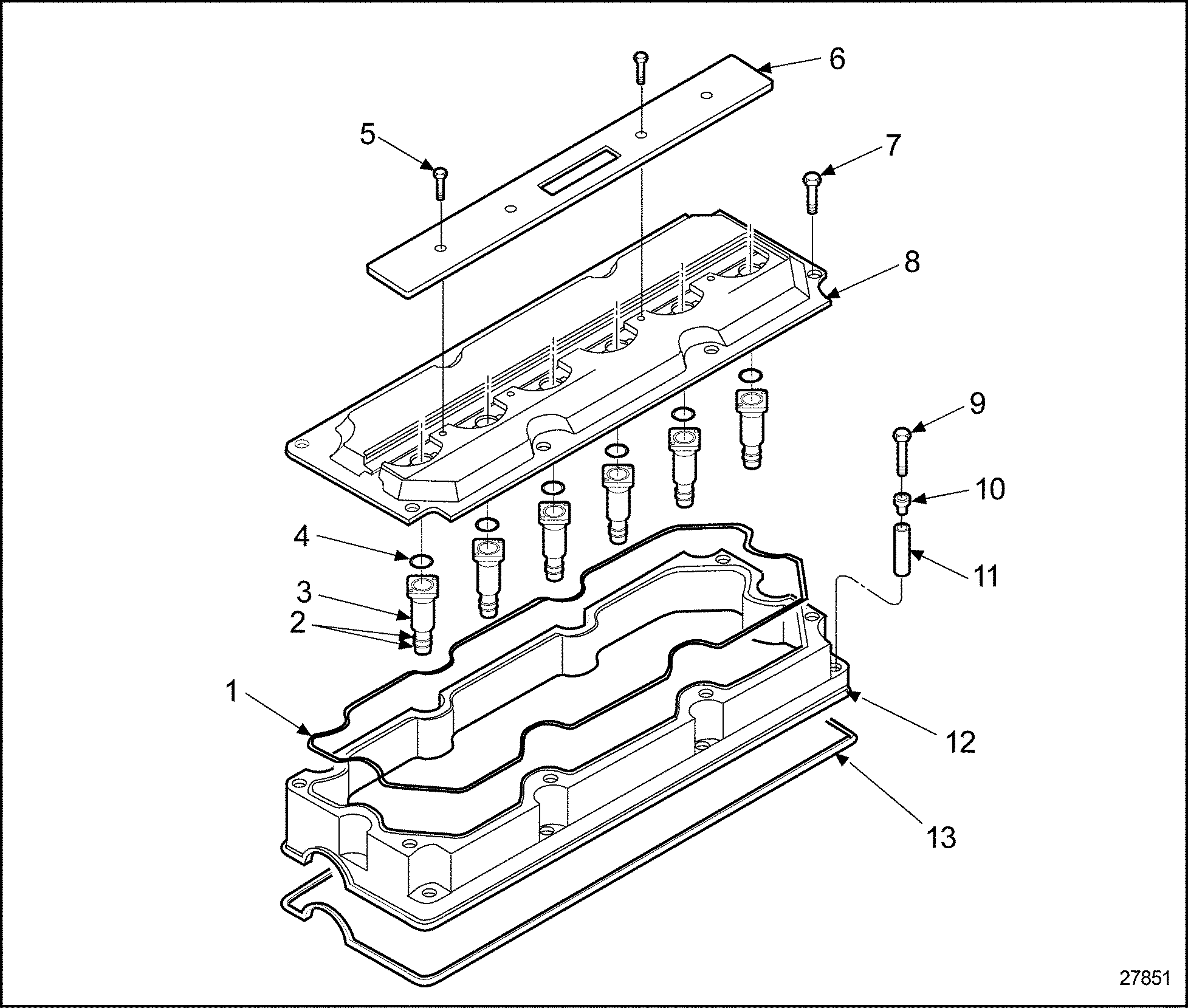
|
1. Gasket |
8. Cover |
|
2. Seal Ring |
9. Bolt |
|
3. Tube |
10. Isolator |
|
4. Seal Ring |
11. Spacer |
|
5. Screw |
12. Rocker Cover Base |
|
6. Cover |
13. Gasket |
|
7. Bolt |
|
Figure 3. Two Piece Rocker Cover - Series 60G Engine with Coil Over Plug Ignition
The two-piece rocker cover is constructed of cast aluminum. The top piece or cap is held in place by eight bolts and is removable for access to the valve, engine brake and fuel injector adjusting mechanisms. A one-piece diamond shaped perimeter seal is located in a groove in the rocker cover base and seals the cap to the base. See Figure "Two-piece Rocker Cover" .

|
1. Limiting Sleeve |
5. Rocker Cover Cap |
|
2. Isolator |
6. Diamond-Shaped Seal |
|
3. Washer |
7. Rocker Cover Base |
|
4. Bolt |
8. Isolator Rim Seal |
Figure 4. Two-piece Rocker Cover
The three-piece rocker cover is similar to the two-piece cover but with an additional intermediate cover and diamond seal and new cover cap. See Figure "Three-piece Rocker Cover" .

|
1. Limiting Sleeve |
6. Rocker Cover Cap |
|
2. Isolator |
7. Bolt |
|
3. Washer |
8. Intermediate Cover |
|
4. Bolt |
9. Rocker Cover Base |
|
5. Bolt |
|
Figure 5. Three-piece Rocker Cover
Two caps are available with the Series 60 diesel engines. One is for use with a Jake Brake®, and one without a Jake Brake®.
Only one cap is available with the Series 60G engines.
The rocker cover base is attached to the cylinder head using ten assemblies consisting of a bolt, limiter sleeve, isolator and flat washer. All rocker covers use a silicone rim seal, seated in a groove around the bottom edge of the rocker cover base to provide an effective oil seal. The one-piece and two-piece design rocker covers incorporate a crankcase ventilation breather outlet. The three-piece design and the Series 60G cap incorporate a combination filler/breather at the camshaft cover (gear case cover) position.
Section 1.6.1
Repair or Replacement of Rocker Cover
To determine if repair is possible or replacement is necessary, perform the following procedure. See Figure "Flowchart for Repair or Replacement of Rocker Cover" .

Figure 6. Flowchart for Repair or Replacement of Rocker Cover
Section 1.6.2
Removal and Cleaning of One-piece Rocker Cover For Diesel Engines Only
Preclean the rocker cover, especially around its seat on the head, and in the attaching bolt recesses, to keep dirt and debris out of the valve gear chamber.
Perform the following steps to remove the one-piece rocker cover:
- Remove the center plugs, hold-down bolts, washers and isolators.
- Lift the rocker cover straight up off the engine.
Section 1.6.2.1
Cleaning and Inspection of the One-piece Rocker Cover For Diesel Engines Only
Inspect the rocker cover as follows:
- Remove the breather element and retainer clip.
NOTICE:
To avoid damaging the silicone isolators, do not clean them with mineral spirits, fuel oil or any petroleum based solvents.
- Remove bolt assemblies and isolators and clean in detergent and water solution.
- Remove gasket from rocker cover and clean the gasket and rocker cover. Remove old RTV sealant from the corners of the gasket and clean the gasket and rocker cover components in clean fuel oil.
Note: Pay special attention to the breather element. Clean thoroughly or replace as required.

EYE INJURY
To avoid injury from flying debris when using compressed air, wear adequate eye protection (face shield or safety goggles) and do not exceed 276 kPa (40 psi) air pressure.
- Blow dry with compressed air.
- Clean the breather recess in the rocker cover.
- Check for damage. Replace as necessary.
- Reinstall the breather element and retainer clip.
Section 1.6.3
Removal and Cleaning of Two-piece Rocker Cover For Diesel Engines Only
Preclean the two piece rocker cover, especially around its seat on the head, and in the attaching bolt recesses, to keep dirt and debris out of the valve operating chamber.
Perform the following steps to remove the two-piece rocker cover:
- Remove the eight screws that attach the rocker cover cap to the base.
- Lift the cap off the base.
- Loosen and remove the ten bolt and isolator assemblies that attach the base to the cylinder head.
- Lift the base straight up off the cylinder head.
Section 1.6.3.1
Inspection of Two-piece Rocker Cover
Perform the following steps to inspect the two-piece valve rocker cover which has a removable breather housing:
- Remove the three screws and retainer that retains the breather housing. See Figure "Two-piece Rocker Cover Assembly" .
- Remove the breather housing, seal, and wire mesh element.
- Wash the components in clean fuel oil.

EYE INJURY
To avoid injury from flying debris when using compressed air, wear adequate eye protection (face shield or safety goggles) and do not exceed 276 kPa (40 psi) air pressure.
- Blow dry with compressed air.
- Reassemble breather housing to valve cover cap. See Figure
"Two-piece Rocker Cover Assembly"
. Torque the screws to 2.5 N·m (22 lb·in.).

1. Two-Piece Valve Rocker Cover Cap
6. Retainer
2. Retainer Clip
7.Two-Piece Low Profile Rocker Cover Cap
3. Wire Mesh Element
8. Seal
4. Screw
9. Breather Housing
5. Baffle
Figure 7. Two-piece Rocker Cover Assembly
Section 1.6.4
Removal and Precleaning of Two-Piece Rocker Cover-Gas Engines with Coil Over Plug Ignition System Only
Preclean the rocker cover, especially around its base on the cylinder head and in the attaching bolt recesses to keep dirt and debris out of the valve gear chamber.
To remove the two-piece rocker cover:
- Remove the ignition boots from the spark plug wells. Refer to "16.4.1 Removal of Ignition Boot" .
- Lift the cap off the base leaving the six extensions tubes in the cylinder head.
- Blow any excess oil from the outside of the extension tube so that the oil will not enter the spark plug well when the extensions tubes are removed.
- Pull the six extension tubes from the cylinder head.
- Loosen and remove the ten bolt/isolator assemblies that attach the base to the cylinder head.
- Lift the base straight up off the cylinder head.
Section 1.6.5
Removal and Cleaning of Three-piece Rocker Cover
Preclean the three-piece rocker cover, especially around its seat on the head, and in the attaching bolt recesses, to keep dirt and debris out of the valve gear chamber.
Perform the following steps to remove the three-piece rocker cover:
- Remove the eight screws that attach the rocker cover cap to the intermediate cover. See Figure "Three-piece Rocker Cover" .
- Lift the cap off the intermediate cover.
- Loosen and remove the eight bolts that attach the intermediate rail to the base.
- Lift intermediate off the base.
- Loosen and remove the ten bolt/isolator assemblies that attach the base to the cylinder head.
- Lift the base straight up off the cylinder head.
Before inspecting the rocker cover, clean the isolators as follows:
NOTICE: |
|
To avoid damaging isolators, do not use solvents of any kind, or any petroleum distillates to clean them. The isolators can be cleaned with mild soap and water if necessary. Install new seals and isolators clean and dry. |
- Wash isolators with mild soap and water.

EYE INJURY
To avoid injury from flying debris when using compressed air, wear adequate eye protection (face shield or safety goggles) and do not exceed 276 kPa (40 psi) air pressure.
- Be sure to completely dry gasket grooves in the rocker cover with compressed air.
- Use new gaskets (do not reuse old gaskets).
NOTICE:
Reuse gaskets with manufacturing date after May 28, 1999.
- Inspect the lower rocker cover base-to-cylinder head gasket for damage replace if gasket is damaged.
- If gasket is not damaged clean off excess RTV, clean gasket with clean fuel oil dry completely and reuse part.
Section 1.6.5.1
Inspection of Three-piece Rocker Cover
Inspect the three-piece valve cover as follows:
- Wash the components in clean fuel oil.

EYE INJURY
To avoid injury from flying debris when using compressed air, wear adequate eye protection (face shield or safety goggles) and do not exceed 276 kPa (40 psi) air pressure.
- Blow dry with compressed air.
- Clean the breather recess in the rocker cover.
- Check for damage. Replace as necessary.
Section 1.6.6
Disassembly of Rocker Cover
Disassemble the rocker cover as follows:
- Disengage the clip that holds the crankcase vent breather element in the valve cover by pressing the center of the spring steel retaining clip outward and removing the straight end.
- Rotate the clip upward to remove the curved end.
- Remove the wire mesh element.
Section 1.6.7
Pre-installation of Rocker Cover
Preform the following steps prior to installing the rocker cover:
- Install the rocker cover seal in corners of the camshaft cap section (arch at each end of the valve cover) first.
Note: Be sure the rocker cover grooves and the seals are clean, free of oil and dry.
- Install the cam cap section, starting in the center, by pushing the seal into the groove at the top of the arch. Then install each section at its halfway point. Seat the seal completely around the arch. Be sure the corners are still firmly seated after the arch is completed. They should present a square corner parallel to the rocker cover rail. Repeat this procedure for the cam cap section on the other end. See Figure
"Rocker Cover Gasket Installation"
.

Figure 8. Rocker Cover Gasket Installation
- Install the long runs of the gasket starting in the center, by pushing the seal into the groove.
- Then install the rail portion at each halfway point. Repeat this procedure for the other rail portion. Make sure the seal is completely seated all the way around the valve cover.
Note: The corners must be cleaned prior to RTV installation for best results.
- Apply a small 4.75 mm (3/16 in.) fillet of RTV in the corners formed by the rear camshaft cap and the head, where the cover seal contacts. Repeat this procedure for the corners formed by the front camshaft cap and the head. See Figure
"RTV Installation"
.

Figure 9. RTV Installation
Section 1.6.8
Installation of One-Piece Rocker Cover
Perform the following steps to install a one-piece rocker cover:
- Position the rocker cover on the cylinder head.
- Install the two bolts, with isolators and washers installed, into their recesses in the one-piece rocker cover.
- Torque the two bolts, starting with the center bolts and working out, to 20-25 N·m (15-18 lb·ft).
- Press the two protective plugs into the two center holes until they are firmly seated.
- Install any other components that were removed for their procedure.

PERSONAL INJURY
Diesel engine exhaust and some of its constituents are known to the State of California to cause cancer, birth defects, and other reproductive harm.
- Always start and operate an engine in a well ventilated area.
- If operating an engine in an enclosed area, vent the exhaust to the outside.
- Do not modify or tamper with the exhaust system or emission control system.
- Start the engine and check for leaks.
Section 1.6.9
Installation of Two-Piece and Three-Piece Rocker Covers
Perform the following steps to install a two or three-piece rocker cover:
- Position the rocker cover base on the cylinder head.
- Lubricate the valve cover limiting sleeves with clean silicone spray. Insert the sleeves into the isolators until the end of the sleeve is flush with the isolator. See Figure
"Rocker Cover Base Hold Down Hardware"
.

1. Limiting Sleeve
3. Bolt
2. Isolator
4. Flat Washer
Figure 10. Rocker Cover Base Hold Down Hardware
- Install the hold-down bolts, with washers installed, to the limiting sleeves.
- Install the hold-down assemblies to the rocker cover base, and thread the bolts two to three threads into the cylinder head.
Note: Use care when tightening the rocker cover base hold-down bolts that the injector wires do not get caught between the limiting sleeve and the cylinder head. See Figure "Rocker Cover Base Hold-down Bolt Installation" .

Figure 11. Rocker Cover Base Hold-down Bolt Installation
- Torque the ten rocker cover base hold-down bolts to 30-38 N·m (22-28 lb·ft). See Figure
"Rocker Cover Base Bolt Tightening Sequence"
.
Note: Torque the bolts in two stages, using half-torque values first.

Figure 12. Rocker Cover Base Bolt Tightening Sequence
- Be sure the groove in the top of the rocker cover base, and its mating, diamond-shaped seal are clean and dry. Install the diamond-shaped seal to the groove by pressing the seal into the groove. Use care not to stretch or twist the seal. The seal has a definite shape, and should be installed exactly as removed from the base. If the seal cannot be installed to its groove without bunching or looping, the seal is stretched and must be replaced. The same procedure applies to the intermediate cover diamond seal installation.
- Install the rocker cover cap to the base. Install the eight screws that attach the cap to the base, and torque to 22-25 N·m (16-18 lb·ft) using the torque sequence. See Figure
"Rocker Cover Bolt Tightening Sequence"
. Tighten the bolts in two stages, using half-torque value first. The same procedure applies to the intermediate cover installation.

Figure 13. Rocker Cover Bolt Tightening Sequence
- Install any other parts that were removed for this procedure.
- Refer to "1.6.8 Installation of One-Piece Rocker Cover" for the exhaust caution before preceeding. Start the engine and check for leaks. Shutdown engine after checking for leaks.
Section 1.6.10
Installation of the Two-Piece Rocker Cover Cap - Diesel Engines Only
Install the two-piece rocker cover as follows:
- Be sure the groove in the bottom of the rocker cover base, and its mating, diamond-shaped seal are clean and dry. Install the diamond-shaped seal to the groove by pressing the seal into the groove. Use care not to stretch or twist the seal. The seal has a definite shape, and should be installed exactly as removed from the base. If the seal cannot be installed to its groove without bunching or looping, the seal is stretched and must be replaced. The same procedure applies to the intermediate cover diamond seal installation.
- Install the rocker cover cap to the base. Install the eight bolts that attach the cap to the base, and torque to 22-25 N·m (16-18 lb·ft) using the torque sequence. See Figure
"Rocker Cover Bolt Cap Tightening Sequence"
. Tighten the bolts in two stages, using half-torque value first. The same procedure applies to the intermediate cover installation.

Figure 14. Rocker Cover Bolt Cap Tightening Sequence
- Install any other parts that were removed for this procedure.
- Refer to "1.6.8 Installation of One-Piece Rocker Cover" for the exhaust caution before preceeding. Start the engine and check for leaks. Refer to "12.7 Engine Run-in Instructions" .
Section 1.6.11
Installation of the Two-Piece Rocker Cover Cap (Gas Engines with Coil Over Plug Ignition System Only)
Install the two-piece rocker cover cap as follows:
- Clean any oil or dirt from the spark plug wells.
- Insert the six extension tubes with O-rings in the cylinder head.
- Orient the extension tubes so that twelve threaded holes are in a straight line. This will allow the coil mounting bolts to engage these holes after the rocker cover cap is installed.
- Place the rocker cover cap on base without disturbing the extension tube seals. Loosely install the eight bolts that attach the cap to the base.
- Insert the coils into the spark plug wells. Engage the coil mounting bolts into the extension tubes. Torque the bolts 13-16 N·m (10-12 lb·ft).
- Torque the eight rocker cover cap mounting bolts to 22-25 N·m (16-18 lb·ft).
- Install the remaining ignition system parts. Refer to "16.2 Coil Over Plug Ignition System" .
- Apply antiseize compound to the coil cover mounting screw holes to aid removal of these parts in the future.
- Install any other parts that were removed for this procedure.
- Refer to "1.6.8 Installation of One-Piece Rocker Cover" for the exhaust caution before preceeding. Start the engine and check for leaks. Refer to "12.7 Engine Run-in Instructions" .
| Series 60 Service Manual - 6SE483 |
| Generated on 10-13-2008 |