Section 1.3
Engine Brake
The constant throttle valves are small valves which are built into the cylinder head. When the engine brake is switched on, the constant-throttle valves are put under pressure, which in turn opens the valves. On the 6-cylinder model, the constant throttles are activated by engine oil pressure. On 4-cylinder engines, the constant throttles are activated by vehicle air pressure. The engine brake is activated by the DDEC-VCU.
Section 1.3.1
Constant-Throttle Valve Removal
Remove the constant-throttle valve as follows:
- Remove the cylinder head. Refer to "1.1.1 Cylinder Head Cover Removal"
.
NOTICE:
Do not place the head mating surface down on a flat surface. This would damage the injection nozzles, which protrude slightly.
- Remove the nozzle holder. For detailed procedures, refer to "2.3.1 Nozzle Holder Removal" .
- From the top of the cylinder head, remove the constant throttle valve end cover. See Figure
"Constant-Throttle Valve (exploded view)"
.

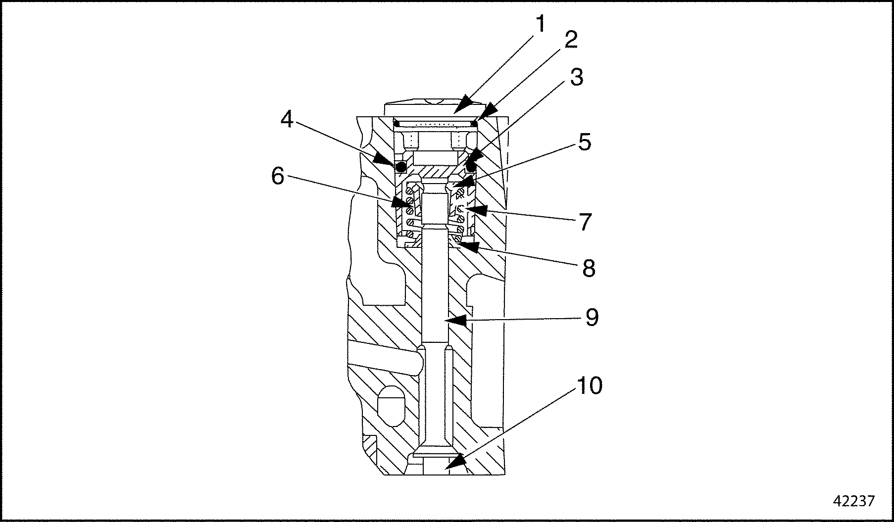
1. End Cover
6. Spring Retainer
2. O-ring
7. Spring
3. Seal
8. Spring Guide
4. Piston
9. Valve
5. Collet
Figure 1. Constant-Throttle Valve (exploded view)
Note: Insert a spacer beneath the valve head to prevent the valve from opening while doing the rest of the removal procedures.
- From the bottom of the cylinder head, insert a suitable spacer about 5.3 mm (7/32 in.) in height. See Figure
"Constant-Throttle Valve (cutaway view, with spacer installed)"
.

1. End Cover
6. Spring Retainer
2. O-ring
7. Spring
3. Seal
8. Spring Guide
4. Piston
9. Valve
5. Collet
10. Spacer [5.3 mm (0.21 in.)]
Figure 2. Constant-Throttle Valve (cutaway view, with spacer installed)
- From the top of the cylinder head, insert the constant-throttle valve (CTV) piston remover J-46400
into the valve bore until it contacts the piston. Pull the piston out of the valve bore. See Figure
"Removing the Piston"
.

1. Seal
2. Piston
Figure 3. Removing the Piston
- Inspect the seal around the piston for damage and signs of wear. If necessary, replace the piston and seal.
- Insert the CTV spring remover J-46401
down onto the spring retainer. Remove the collets with a magnetic pin. See Figure
"Compressing the Spring"
.

1. Magnetic Pin
3. Spring Retainer
2. Collet
4. Spring
Figure 4. Compressing the Spring
- Relieve the pressure on the spring. Remove the spring retainer, spring and spring guide. For ease of installation, mark the location of the spring retainer and spring guide with a paint pen.
- From the bottom of the cylinder head, draw out the valve and spacer. For ease of installation, mark the location of the valve with a paint pen.
- Do the same procedure for each valve.
Section 1.3.2
Constant-Throttle Valves Installation
Install constant-throttle valves as follows:
- Lubricate the valve stem with a light coating of engine oil. From the bottom of the cylinder head, push the valve, as marked on removal, into the valve bore. See Figure
"Constant-Throttle Valve (exploded view)"
.
Note: Insert a spacer beneath the valve head to prevent the valve from opening while installing the valve spring and piston.
- Insert a suitable spacer about 5.3 mm (7/32 in.) in height. See Figure "Constant-Throttle Valve (cutaway view, with spacer installed)" .
- From the top of the cylinder head, fit the spring guide, spring, and spring retainer, as marked on removal, onto the valve stem.
- Push the spring down with the CTV spring remover J-46401 and insert the collets into the spring retainer. Push until they lock into place.
- Install the piston and seal, as removed. Be careful not to damage the seal on installation. See Figure "Removing the Piston" .
- Remove the spacer from the bottom of the cylinder head.
- Install a new O-ring on the end cover.
- Install the end cover.
- Install the nozzle holder. For detailed procedures, refer to "2.3.2 Nozzle Holder Installation" .
- Install the cylinder head. For detailed procedures, refer to "1.2.2 Cylinder Head Installation" .
- Perform the same procedure for each valve, as required.
| MBE 900 Service Manual - 6SE414 |
| Generated on 10-13-2008 |