Section 1.2
Cylinder Head
The single-piece cylinder head is made of cast iron. The cylinder head gasket is a three-layer, adjustment-free seal with Viton sealing elements.
Section 1.2.1
Cylinder Head Removal
Remove cylinder head as follows:
|
PERSONAL INJURY |
|
To avoid injury from scalding, drain the radiator when the engine and coolant are cool. |
- Drain the coolant from the radiator.
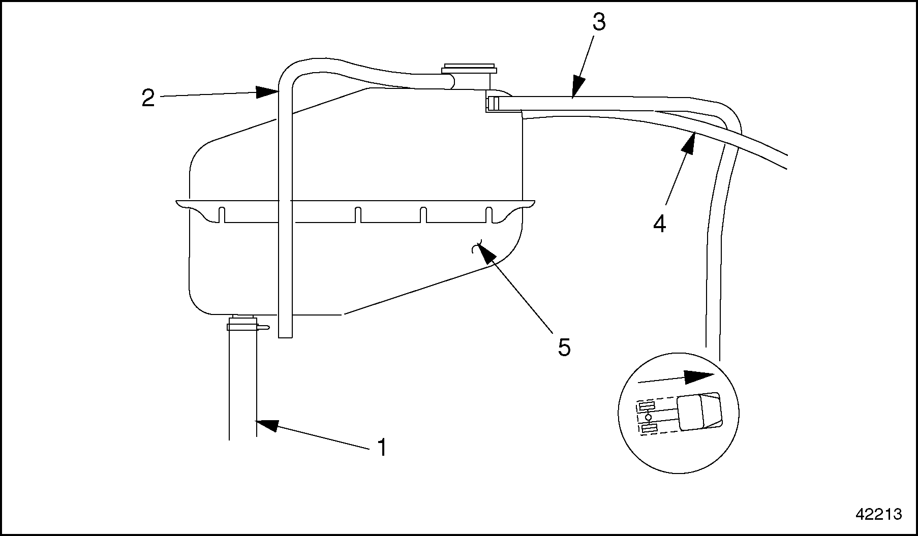
- Remove the coolant delivery hoses from the surge tank. See Figure
"Coolant Hoses at the Surge Tank"
.

1. Drain Hose
4. Hose from Radiator
2. Overflow Hose
5. Surge Tank
3. Hose from Engine
Figure 1. Coolant Hoses at the Surge Tank
- Remove the coolant hose standoff bracket.
- Remove the air cleaner, charge-air inlet, and turbocharger outlet pipes and hoses. See Figure
"Charge-Air Pipes and Hoses"
.

1. Air Cleaner Pipe
3. Intake Manifold Inlet Pipe
2. Turbocharger Outlet Pipe
4. Crankcase Breather Hose (closed crankcase shown)
Figure 2. Charge-Air Pipes and Hoses
- Remove the air cleaner assembly.
- Remove the engine trim panel.
Note: Clean the cylinder head cover before removing it.
- Remove the cylinder head cover. Refer to "1.1.1 Cylinder Head Cover Removal" .
- Remove the sensor cover and disconnect the intake manifold pressure/temperature sensor.
- Remove the charge-air manifold and gasket. See Figure
"Cylinder Head Exposed"
.

1. Charge-Air Manifold
7. Coolant Temperature Sensor
2. Rocker Arm Assembly
8. Water Pump Connector Fitting
3. Valve Bridge
9. Coolant Line
4. Pushrod
10. Front Connector Housing
5. High Pressure Fuel Injection Line
11. Gasket
6. Engine Wiring Harness/Connector
Figure 3. Cylinder Head Exposed
- Disconnect the turbocharger oil inlet line.
- Remove the exhaust brake cylinder and heat shield.
- Using the exhaust manifold socket set J-46379
, remove the exhaust manifold bolts.
Note: Use the short socket for the rearmost bolt. Use the long socket for the other bolts.
- Pull the exhaust manifold away from the engine towards the frame rail and remove the gaskets.
- Remove the front connector housing assembly.
- Disconnect the temperature sensor from the engine wiring harness connector.
- Disconnect the coolant line.
- Remove the front connector housing and gasket from the cylinder head.
- Remove the water pump connector fitting from the water pump.
- Remove the rocker arm assembly. Mark the pushrods in order of removal.
- Remove the valve bridges. Mark the valve bridges in order of removal.
NOTICE:
Do not move the thrust bolt, because there is danger of causing a change in the position of the transfer tube within the cylinder head. If the position of the fuel transfer tube is changed, engine damage could result.
- Using two wrenches, loosen the high pressure line fittings. The procedure that follows will need to be performed on each high pressure line fitting. See Figure
"High Pressure Line Fittings"
.

1. Thrust Bolt
4. Unit Pump
2. High Pressure Line Fitting
5. Open-Ended Wrenches
3. Transfer Tube Line
Figure 4. High Pressure Line Fittings
- Using a paint pen, mark the location of the thrust bolt.
- Place one wrench on the thrust bolt to secure the transfer tube. Place the other wrench on the high pressure line fitting.
- Turn the wrench on the high pressure line fitting while holding the other wrench on the thrust bolt.
- Remove the high pressure injection line from the head and unit pump.
- To prevent any dirt from entering, cover the openings in the unit pump and the transfer tube.
- Remove the heater hose from the back of the cylinder head.
- Disconnect the fuel return line from the cylinder head.
- Remove the constant-throttle valve line.
- Disconnect the coolant delivery line from the cylinder head to the air compressor.
- Using the head bolt impact socket J-45390
, remove the cylinder head bolts.
NOTICE:
Do not place the head mating surface down on a flat surface. This would damage the injection nozzles, which protrude slightly.
- Attach the cylinder head lifting device J-46387 .
- Remove the cylinder head, see Figure
"Cylinder Head Removed"
, and set it on wooden blocks or on its side.

1. Cylinder Head
6. Cylinder Head Gasket
2. Cylinder Head Bolt
7. Constant Throttle Valve Line
3. Intake Manifold Pressure/Temperature Sensor
8. Coolant Delivery Line
4. Lifting Eye
9. Alignment Pin
5. Heater Hose
10. Fuel Return Line
Figure 5. Cylinder Head Removed
- Remove the head gasket.
- Thoroughly clean the cylinder head and head mating surface of excess oil, grime, and paint chips.
- With a straightedge, check the cylinder head surface for warpage. The warpage limits on the 6-cylinder engine are listed in Table
"Head Warpage Limits, 6-Cylinder Engine"
and the allowable warpage limits on the 4-cylinder engine are listed in Table
"Head Warpage Limits, 4-Cylinder Engine"
.
Description
Limit
Over entire length
0.07 mm (0.003 in.)
Over a length of 150 mm (6 in.)
0.02 mm (0.001 in.)
Table 9. Head Warpage Limits, 6-Cylinder EngineDescription
Limit
Over entire length
0.05 mm (0.002 in.)
Over a length of 150 mm (6 in.)
0.02 mm (0.001 in.)
Table 10. Head Warpage Limits, 4-Cylinder Engine - With a straightedge, check the cylinder block mating surface for warpage. The cylinder block warpage is listed in Table
"Cylinder Block Warpage Limits, 4- and 6-Cylinder Engines"
.
Description
Limit
Over entire length
0.030 mm (0.0012 in.)
Over a length of 150 mm (6 in.)
0.015 mm (0.0006 in.)
Table 11. Cylinder Block Warpage Limits, 4- and 6-Cylinder Engines - Inspect the cylinder head for cracks or signs of damage. Replace if necessary.
Section 1.2.2
Cylinder Head Installation
Install the cylinder head as follows:
- Install a new head gasket.
- Lower the cylinder head back into place. Remove the cylinder head lifting device.
- Using a dial caliper, measure the length of the cylinder head bolts from the end of the bolt to the bottom of the flange. See Figure
"Measuring Head Bolts"
. The acceptable bolt length is listed in Table
"Cylinder Head Bolts, Length"
.

1. Dial Caliper
3. Bottom of Flange
2. End of Cylinder Head Bolt
Figure 6. Measuring Head Bolts
Description
Length
Shaft length when new
149.0 mm (5.87 in.)
Maximum shaft length
151.0 mm (5.94 in.)
Table 13. Cylinder Head Bolts, Length - Lubricate the cylinder head bolts with engine oil.
- Using the head bolt impact socket J 45390
, install the cylinder head bolts. The specific stages in the tightening sequence are listed in Table
"Tightening Stages, Cylinder Head"
. See Figure
"Tightening Sequence, 6-Cylinder Engine"
for the torque sequence on the 6-cylinder engine and see Figure
"Tightening Sequence, 4-Cylinder Engine"
for the torque sequence on the 4-cylinder engine.
Size
Max. Shaft Length
Tightening Stage
Torque Values
M16
151.0 mm (5.94 inches)
Stage 1
20 N·m (15 lb·ft)
Stage 2
70 N·m (52 lb·ft)
Stage 3
170 N·m (125 lb·ft)
Stage 4
280 N·m (207 lb·ft)
Stage 5
additional 90 degrees
Stage 6
additional 90 degrees
Table 14. Tightening Stages, Cylinder Head
Figure 7. Tightening Sequence, 6-Cylinder Engine

Figure 8. Tightening Sequence, 4-Cylinder Engine
- Connect the coolant delivery line from the cylinder head to the air compressor.
- Replace the seal and connect the fuel return line to the cylinder head.
- Replace the seal and install the constant-throttle valve supply line.
- Install the heater hose to the back of the cylinder head.
NOTICE:
Correct torque on the high pressure fuel lines is critical. Incorrect torques could result in leaks or lack of power due to restricted fuel flow.
- Without turning the transfer tube thrust bolts, install the high pressure fuel injection lines in the as-removed positions.
- Tighten the high pressure fuel injection line fittings 25 N·m (18 lb·ft).
- Install new exhaust manifold gaskets.
- Using the exhaust manifold socket set J-46379
, install the exhaust manifold bolts.
Note: Use the short socket for the rearmost bolt. Use the long socket for the other bolts.
- Install the exhaust manifold and tighten the bolts. The specific torque stages and values are listed in Table
"Tightening Stages, Exhaust Manifold Bolts"
.
Size
Maximum Shaft Length
Tightening Stage
Torque Value
M10
47.5 mm (1.87 in.)
Stage 1
10 N·m (7 lb·ft)
Stage 2
55 N·m (41 lb·ft)
Stage 3
additional 90 degrees
Table 16. Tightening Stages, Exhaust Manifold Bolts - Install the exhaust brake cylinder and heat shield.
- Using new gaskets, install the charge-air manifold. Tighten the fasteners to 25 N·m (18 lb·ft).
- Connect the charge-air pressure/temperature sensor to the back of the charge-air manifold. Install the charge-air sensor cover.
- Lubricate the pushrods with a light coating of engine oil and install the pushrods, in the as-removed locations.
- Install the valve bridges in the as-removed locations.
- Install the rocker arm assembly in the as-removed locations. Tighten each rocker arm mounting bolt 30 N·m (22 lb·ft).
- Install the front connector housing assembly.
- Install the water pump connector fitting on the water pump.
- Install a new gasket on the cylinder head.
- Install the front connector housing.
- Install the coolant line.
- Connect the engine wiring harness to the coolant temperature sensor.
- Install the crankshaft turning tool and adjust the valves. Refer to "1.17.3 Adjusting Valve Lash" .
- Remove the crankshaft turning tool.
- Install the inspection hole end cover on the flywheel housing. Tighten the fasteners 25 N·m (18 lb·ft).
- Install the air cleaner, charge-air inlet, and turbo outlet pipes and hoses.
- Install the coolant delivery hoses that connect to the surge tank. See Figure "Coolant Hoses at the Surge Tank" .
- Check that the coolant drain plug is tight and not leaking.
- Fill the radiator with coolant.
- Install the cylinder head cover. Refer to "1.1.2 Cylinder Head Cover Installation" .
- Install the engine trim panel.
Note: Bleed the fuel system.

PERSONAL INJURY
To avoid injury before starting and running the engine, ensure the vehicle is parked on a level surface, parking brake is set, and the wheels are blocked.

PERSONAL INJURY
Diesel engine exhaust and some of its constituents are known to the State of California to cause cancer, birth defects, and other reproductive harm.
- Always start and operate an engine in a well ventilated area.
- If operating an engine in an enclosed area, vent the exhaust to the outside.
- Do not modify or tamper with the exhaust system or emission control system.
- Turn on the ignition key switch and run the engine. Observe the oil pressure gauge to verify the correct oil pressure. The minimum oil pressure reading at idle speed is listed in Table
"Oil Pressure Readings"
. Pay attention to the coolant temperature gauge, warning lights, fluid leaks, and any other signs of a problem.
Description
Minimum Oil Pressure Reading
Engine at Idle Speed
50 kPa (7 psi)
Engine at Max. rpm
250 kPa (36 psi)
Table 19. Oil Pressure Readings - Stop the engine, check the coolant level, and top off if necessary.
Section 1.2.2.1
Cylinder Head Inspection
Inspect the cylinder head as follows:
- Measure cylinder-head overall height and variation of parallelism from top-to-bottom contact surfaces. See Figure
"Measuring the Cylinder Head"
. If the measurement is less than the permissible minimum height, replace the cylinder head.

Figure 9. Measuring the Cylinder Head
- Inspect the bottom contact surface of the cylinder head for the permissible difference of flatness in the longitudinal direction. The specifications for cylinder head height and mating surface warpage are listed in Table
"Cylinder Head Height Specifications"
and in Table
"Cylinder Head Mating Surface Warpage"
.
Height of Cylinder Head
6-Cylinder
4-Cylinder
When New
107.9 to 108.1 mm (4.25 to 4.26 in.)
107.9 to 108.1 mm (4.25 to 4.26 in.)
After Machining
106.9 mm (4.21 in.)
106.9 mm (4.21 in.)
Table 20. Cylinder Head Height SpecificationsMaximum Lengthwise Head Mating Surface Warpage
6-Cylinder
4-Cylinder
Over Entire Length
0.07 mm (0.003 in.)
0.05 mm (0.002 in.)
Over a Length of 150 mm (6 in.)
0.02 mm (0.0008 in.)
0.02 mm (0.0008 in.)
Table 21. Cylinder Head Mating Surface Warpage
Section 1.2.2.2
Compression Testing
To do compression testing the nozzle holder will need to be removed and the compression tester installed.
- Set the parking brake and chock the tires.
Note: To do this procedure, coolant temperature must be between 70 to 95°C (158 and 203°F).

PERSONAL INJURY
To avoid injury before starting and running the engine, ensure the vehicle is parked on a level surface, parking brake is set, and the wheels are blocked.

PERSONAL INJURY
Diesel engine exhaust and some of its constituents are known to the State of California to cause cancer, birth defects, and other reproductive harm.
- Always start and operate an engine in a well ventilated area.
- If operating an engine in an enclosed area, vent the exhaust to the outside.
- Do not modify or tamper with the exhaust system or emission control system.
- Turn on the ignition key switch and run the engine until it reaches operating temperature.
- Shut down the engine.
- Remove the nozzle holder. See Figure
"Removing the Nozzle Holder"
.

1. Nozzle Holder
3. Hold-Down Clamp
2. Bolt
Figure 10. Removing the Nozzle Holder
- Insert the compression test adaptor J-46386
into the cylinder head. See Figure
"Installing the Connector"
. Use the hold-down clamp and bolt included in the kit.

1. Bolt
3. End Cover (constant throttle)
2. Hold-Down Clamp
Figure 11. Installing the Connector
- Make sure the smooth surface on the O-ring is pointing toward the test adaptor J-46386 .
- Install the hold-down clamp with the two prongs around the test adaptor. Turn the hold-down clamp (at the cylinder head) until the button in the base of the hold-down clamp is aligned with the locating element in the end cover of the constant throttle valve end cover.
- Tighten the hold-down clamp bolt 30 N·m (22 lb·ft) for a hex-head bolt, or 35 N·m (26 lb·ft) for the 12-point head with the spherical collar.
Note: Follow the equipment manufacturer's operating instructions to connect the compression tester.
- Attach the compression tester J-6692–B
to the test adaptor J-46386
. Thread the fitting at the end of the tester to the top of the test adaptor. See Figure
"Testing Compression Pressure"
.

1. Hold-Down Bolt
3. End Cover (constant throttle)
2. Hold-Down Clamp
4. O-ring
Figure 12. Testing Compression Pressure
Test as follows:
- Remove either of the electrical connectors from the DDEC-ECU control unit. When this is done, the engine will not start.
- For each cylinder, use the starter to crank the engine at least 8 engine revolutions. The results will be recorded on the gauge of the tester.
- Compare measurements on the gauge with the values listed in Table
"Compression Testing"
.
Description
Pressure
Compression Pressure at Starter Speed
2800 kPa (406 psi)
Permissible Difference Between Individual Cylinders
400 kPa (58 psi)
Table 27. Compression Testing - If the pressure measured is below the chart compression pressure or above the permissible difference, determine the cause and correct the problem.
Install the nozzle holder as follows:
- Connect the DDEC-ECU control unit.
- Connect minidiag2 to the vehicle and clear all inactive fault codes.
Note: Follow the equipment manufacturer's operating instructions.
- Disconnect the compression tester from the test adaptor. See Figure "Testing Compression Pressure" .
- Remove the compression test adaptor. See Figure "Installing the Connector" .
- Install the nozzle holder. See Figure "Removing the Nozzle Holder" .
- Install and adjust the hold-down clamp.
- Position the hold-down clamp on the nozzle holder and install the hold-down clamp bolt.
- Tighten the hold-down bolt 30 N·m (22 lb·ft) for a hex-head bolt, or 35 N·m (26 lb·ft) for the 12-point head with the spherical collar.
- Repeat this procedure for each cylinder.
- Remove the chocks from the tires.
Section 1.2.3
Oil Separator Removal
Remove oil separator as follows:
- Apply the parking brakes, and chock the tires.
- Open the hood.
- Remove the engine trim panel.
- Remove the cylinder head cover.
- Remove the oil separator front cover from the cylinder head cover. See Figure
"Oil Separator and Components"
.

1. Cylinder Head Cover
5. Oil Separator Front Cover
2. Wire Filter (Short)
6. Oil Separator Front Cover Gasket/Diaphragm
3. Wire Filter (Long)
7. Spring
4. Oil Separator Front Cover Screws
Figure 13. Oil Separator and Components
- Remove the oil separator front cover gasket/diaphragm and spring.
- Remove both wire filters from inside the cylinder head cover.
Section 1.2.3.1
Oil Separator Inspection
Inspect and clean the wire filters and the sealing surfaces. Replace, if necessary.
Section 1.2.4
Oil Separator Installation
Install the oil separator as follows:
- Install both wire filters into the cylinder head cover. First insert the shorter filter, then the longer one.
- Install the spring and the oil separator front cover gasket/diaphragm.
- Install the oil separator front cover and bolts. Torque bolts to 25N·m (18 lb·ft).
- Install the cylinder head cover. Refer to "1.1.2 Cylinder Head Cover Installation" .
- Install the engine trim panel.
- Close the hood and remove the chocks from the tires.
| MBE 900 Service Manual - 6SE414 |
| Generated on 10-13-2008 |