Section 1.1
Cylinder Head Cover
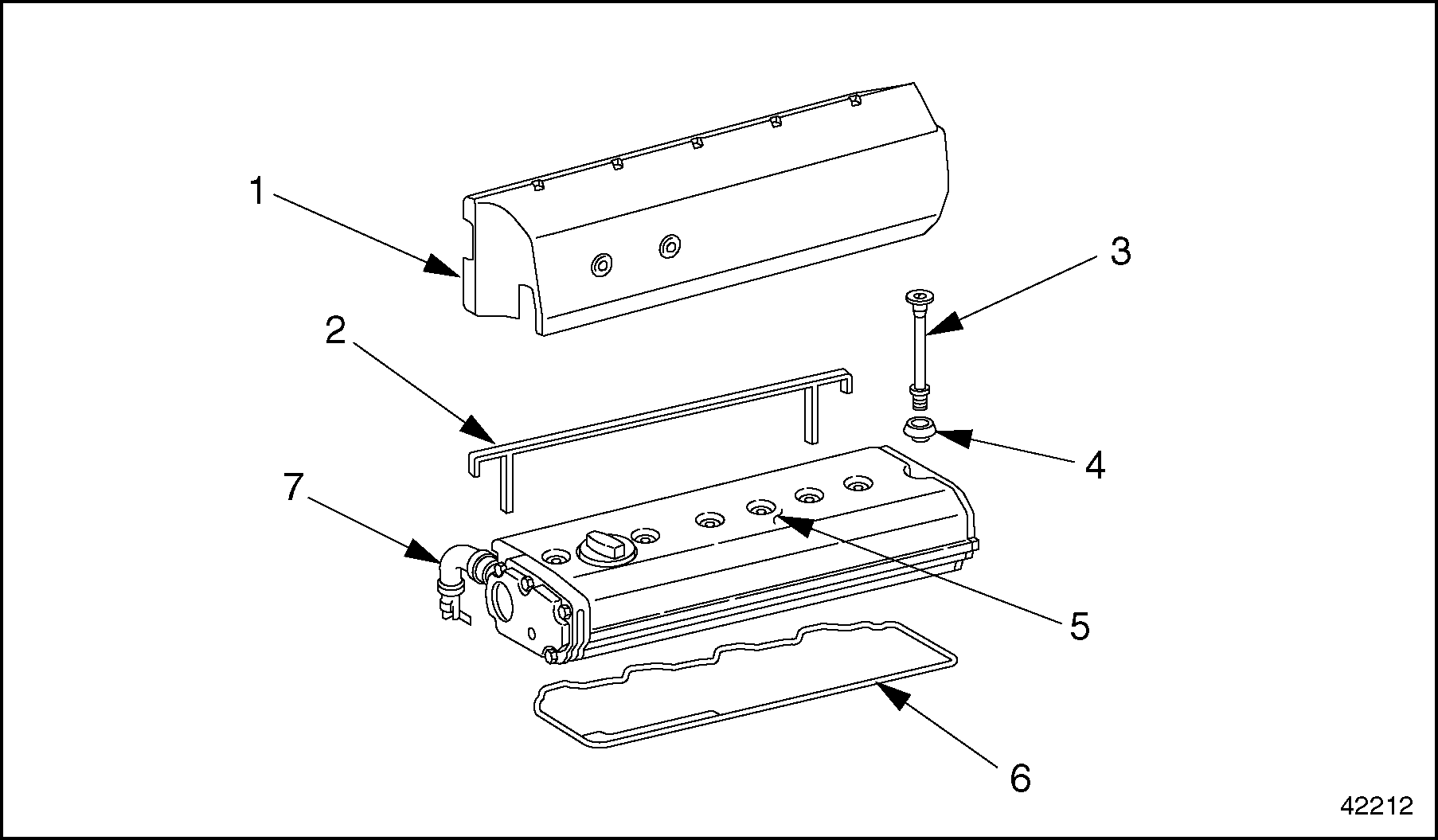
See Figure "Cylinder Head Cover " for an exploded view of the cylinder head cover.

|
1. Engine Trim Panel |
5. Cylinder Head Cover |
|
2. Charge-air Manifold Gasket |
6. Cylinder Head Cover Gasket |
|
3. Hexagon Socket-head bolt |
7. Breather Hose |
|
4. Sealing Washer |
Figure 1. Cylinder Head Cover
Section 1.1.1
Cylinder Head Cover Removal
Remove the cylinder head cover as follows:
- Remove the engine trim panel.
- For the EGR models, remove the EGR charge air intake housing. Refer to "10.3.1 EGR Charge Air Intake Housing Removal" .
- For the EGR models loosen two bolts securing the charge air intake housing mounting bracket before removing cylinder head cover.
- Detach the breather hose at the cylinder head cover.
- Remove the hexagon socket-head bolts.
- Remove the sealing washers.
- Remove the cylinder head cover and gasket.
- Remove the gasket between the cylinder head cover and the charge-air manifold.
- Clean the sealing surfaces of the cylinder head cover and the cylinder head.
Section 1.1.2
Cylinder Head Cover Installation
Install the cylinder head cover as follows:
- Install a new cylinder head cover gasket.
- Install a new gasket between the cylinder head cover and the charge-air manifold.
- Place the cylinder head cover in position on the cylinder head.
- Install new sealing washers.
- Install the hexagon socket-head bolts. Tighten the bolts 30 N·m (22 lb·ft).
- Attach the breather hose at the cylinder head cover.
- For the EGR models, replace the EGR charge air intake housing. Refer to "10.3.2 EGR Charge Air Intake Housing Installation" .
- For the EGR models tighten two bolts securing the charge air intake housing mounting bracket before replacing cylinder head cover.
- Install the engine trim panel.
| MBE 900 Service Manual - 6SE414 |
| Generated on 10-13-2008 |