Section 2.8
Fuel Filter Housing Assembly
The fuel system incorporates two fuel filter housing assemblies. The Secondary assembly includes a replaceable fuel filter (spin-on). To prevent filter mismatching, the word Secondary is cast into the top of the appropriate adaptor. See Figure "Fuel Filter Housing Location" .

|
1.Secondary Fuel Filter |
2.Word "Secondary" cast into top of adaptor |
Figure 1. Fuel Filter Housing Location
Section 2.8.1
Repair or Replacement of Fuel Filter Housing Assembly
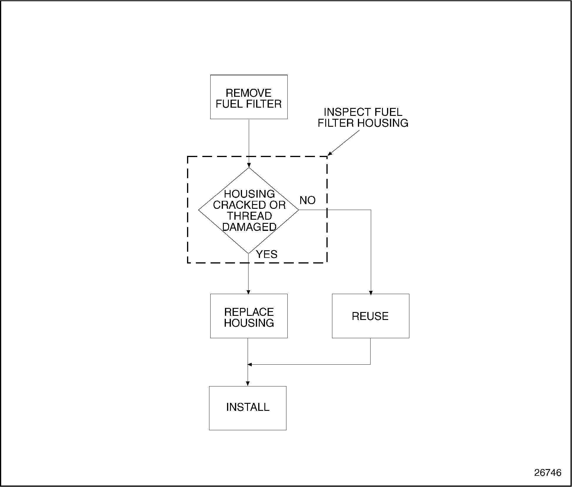
To replace the fuel filter (spin-on), perform the following procedure. See Figure "Flowchart for Repair or Replacement of Fuel Filter Housing Assembly" .

Figure 2. Flowchart for Repair or Replacement of Fuel Filter Housing Assembly
Section 2.8.2
Removal of Fuel Filter Housing Assembly
Remove the fuel filter housing as follows: See Figure "Removal of Fuel Filter Housing Assembly" .
- Turn off the fuel shutoff valve.
- Use a suitable band wrench or filter wrench, such as J 22775, to remove the filter.
- Remove the inlet and outline fuel lines to the fuel filter housing assembly.
- Remove the two mounting bolts securing the filter assembly to cylinder block.

|
1.Secondary Fuel Filter |
3.Fuel Filter Housing Assembly |
|
2.Fuel Filter Housing Assembly Mounting Bolts (2) |
|
Figure 3. Removal of Fuel Filter Housing Assembly
Section 2.8.3
Installation of Fuel Filter Housing Assembly
Install the fuel filter housing assembly as follows: See Figure "Assembly of Fuel Filter Housing Assembly" .
- Position fuel filter housing assembly against the cylinder block and torque the mounting bolts to 58-73 N · m (43-54 lb · ft).
- Install inlet and outlet fuel lines to filter housing.
- Lightly coat the filter replacement cartridges with clean clean fuel oil, and fill the cartridges with clean fuel oil.
- Thread the new filters on the adaptor, turning them until they contact the gasket fully with no side movement of the filter evident. Turn the filter an additional one-half turn by hand.
Note: Mechanical tightening of the fuel filters is not recommended. This may result in seal damage, cartridge damage, or both. Tighten the fuel filters by hand only.
- Start the engine and check for leaks.

1.Secondary Fuel Filter
3.Fuel Filter Housing Assembly
2.Fuel Filter Housing Assembly Mounting Bolts (2)
Figure 4. Assembly of Fuel Filter Housing Assembly
| Series 55 Service Manual - 6SE55 |
| Generated on 10-13-2008 |