Section 2.1
Overview of Fuel System
The fuel system includes separate Electronic Unit Pumps (EUP), high pressure fuel lines, injector nozzles, integral fuel galleries in the cylinder block, a fuel pump, an Electronic Control Module (ECM), a primary fuel filter (OEM supplied, mounted on vehicle frame rail), and a secondary fuel filter.
The ECM receives data (such as temperature and speed), analyzes this data, and modulates the fuel system accordingly to ensure efficient engine operation. The signal that the ECM sends to the unit pump determines the timing and amount of fuel delivered to the engine.
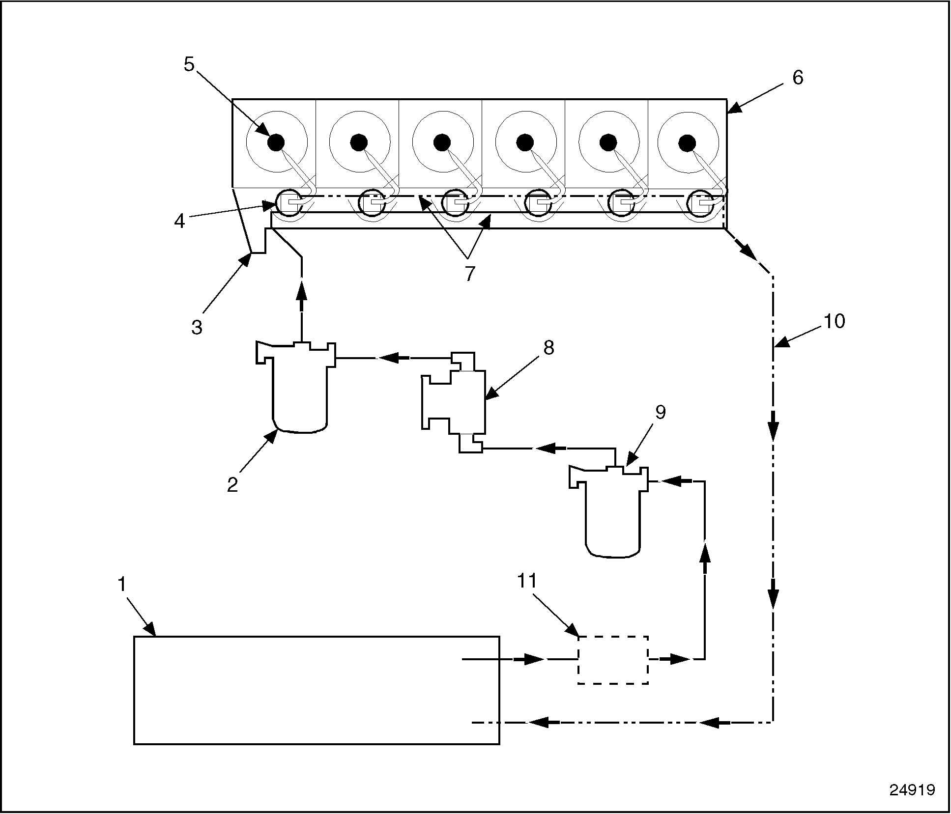
For a schematic view of a typical fuel system. See Figure "Fuel System Schematic Diagram " .

|
1.Fuel Tank |
7.Integral Block (Fuel Galleries) |
|
2.Secondary Fuel Filter |
8.Fuel Pump |
|
3.Cylinder Block |
9.Primary Fuel Filter |
|
4.Electronic Unit Pump (E.U.P.) |
10.Return Line |
|
5.Injector Nozzle |
11.Location for Optional Fuel/Oil Water Separator (OEM Supplied) |
|
6.Cylinder Head |
|
Figure 1. Fuel System Schematic Diagram
|
|
|
To avoid injury from fire caused by heated diesel-fuel vapors:
Diesel fuel is relatively harmless at ambient temperatures. |
|
|
|
To avoid injury from flying debris when using compressed air, wear adequate eye protection (face shield or safety goggles) and do not exceed 40 psi (276 kPa) air pressure. |
Note: Before a reconditioned or new replacement cylinder block is used, steam clean it to remove the rust preventive, and blow out the oil galleries with compressed air.
| Series 55 Service Manual - 6SE55 |
| Generated on 10-13-2008 |