Section 2.2
Electronic Unit Pump
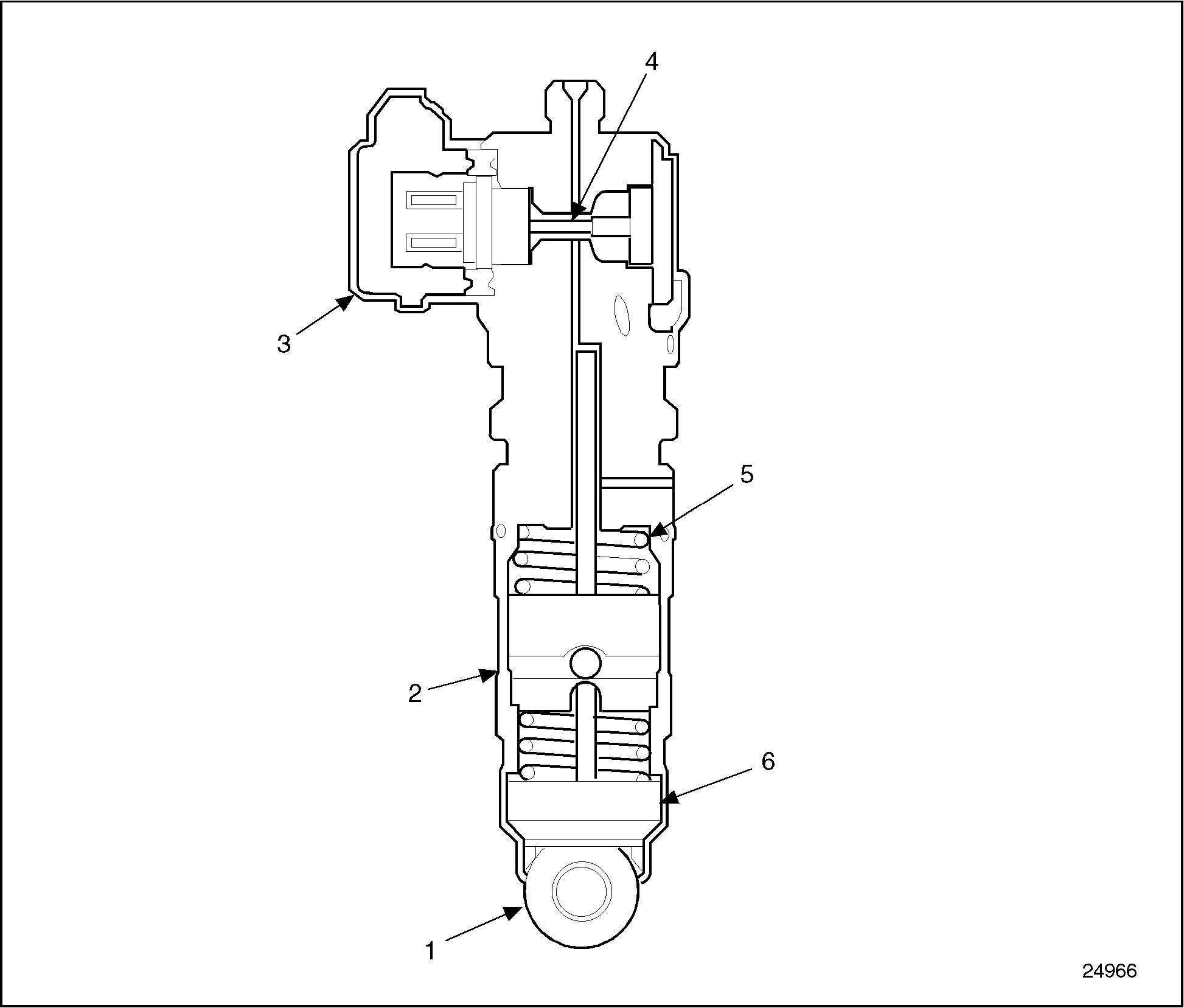
The Electronic Unit Pump (EUP) provides fuel to the fuel injector nozzle. The nozzle directs pressurized fuel directly into the compression chamber. There are three basic fuel movements through the unit pump: fill, injection, and spill. Each of these movements takes place during one camshaft revolution. See Figure "Electronic Unit Pump Assembly" .

|
1.Camshaft Roller |
4.Fuel Outlet Port |
|
2.Unit Pump Assembly |
5.Unit Pump Solenoid |
|
3.Fuel Gallery Channels |
6.Seal Rings |
Figure 1. Electronic Unit Pump Assembly
Fuel fills the chamber as the cam begins its downward motion. As the plunger moves downward with the cam, the engine fuel supply pushes fuel into the pumping chamber.
While the plunger is moving upward, the ECM sends a signal to the pump. This signal moves the control valve to the closed position. In this position, the valve acts as a dam that creates high pressure fuel for injection to the cylinder. Injection ends when the control valve re-opens during the upward motion of the cam. The opening of the valve is controlled by the ECM. When the valve opens, the dam that created the high pressure is released, allowing fuel to spill back into the fuel tank. Fuel continues to spill until the plunger reaches the top of the cam cycle.
The actual time of one cam revolution is about 60 ms. High pressure injection takes place only when the valve is closed and the plunger is rising. Low pressure spilling takes place when the valve is open and the plunger is moving downward. See Figure "Electronic Unit Pump Cutaway" .

|
1.Camshaft Roller |
4.Solenoid Plunger |
|
2.Unit Pump Body |
5.Plunger Spring |
|
3.Solenoid |
6.Plunger |
Figure 2. Electronic Unit Pump Cutaway
Section 2.2.1
Repair or Replacement of Electronic Unit Pump
The electronic unit pump is not serviceable and must be replaced as an assembly.
To replace the electronic unit pump, perform the following procedure. See Figure "Electronic Unit Pump Replacement Flowchart" .

Figure 3. Electronic Unit Pump Replacement Flowchart
Section 2.2.2
Removal of Electronic Unit Pump
Remove electronic unit pump as follows:
- Remove external high pressure fuel line. See Figure
"High Pressure Fuel Line and Terminal Wires"
.

1.External High Pressure Line
4.Electronic Unit Pump
2.Retaining Nut
5.Solenoid Connectors
3.Cylinder Head
Figure 4. High Pressure Fuel Line and Terminal Wires
Note: Whenever the EUP is removed from the engine, replace the O-ring seals.
- Loosen the solenoid terminal screws.
- Remove the terminal wires. See Figure "High Pressure Fuel Line and Terminal Wires" .
- Remove M10 EUP mounting bolts, and lift the unit pump from the cylinder block. See Figure
"Electronic Unit Pump Removal"
.

1.Cylinder Block
3.Electronic Unit Pump
2.O-ring Seals
4.M10 Bolts
Figure 5. Electronic Unit Pump Removal
Section 2.2.3
Disassembly of Electronic Unit Pump
The Electronic Unit Pump (EUP) is not serviceable. If the EUP is defective, it must be replaced.
Section 2.2.4
Cleaning of Electronic Unit Pump
Clean and inspect the pump assembly as follows:
|
|
|
To avoid injury from flying debris when using compressed air, wear adequate eye protection (face shield or safety goggles) and do not exceed 40 psi (276 kPa) air pressure. |
- Clean the unit pump exterior with clean solvent. Dry it with compressed air.
Section 2.2.4.1
Inspection of Electronic Unit Pump
Clean and inspect the pump assembly as follows:
- Visually inspect the unit pump for damage.
- If scratches, dents, or jammed roller/follower are evident, install a new unit pump. Refer to "2.2.5 Installation of Electronic Unit Pump" .
- If no scratches, dents, or jammed roller/follower are evident, reinstall the unit pump. Refer to "2.2.5 Installation of Electronic Unit Pump" .
Section 2.2.5
Installation of Electronic Unit Pump
Perform the following steps for electronic unit pump installation:
- Ensure the EUP bore is clear.
- Apply a thin coat of clean ethylene glycol to the O-ring seals, and install them on the unit pump body. See Figure
"Electronic Unit Pump Assembly"
.

1.Camshaft Roller
4.Fuel Outlet Port
2.Unit Pump Assembly
5.Unit Pump Solenoid
3.Fuel Gallery Channels
6.O-ring Seals
Figure 6. Electronic Unit Pump Assembly
- Insert the EUP into the appropriate bore, ensuring that the camshaft roller properly meets the camshaft lobe. See Figure
"Electronic Unit Pump Installation"
.

1.Electronic Unit Pump
2.Mounting Bolts
Figure 7. Electronic Unit Pump Installation
- Install two EUP mounting bolts, torque to 58-73 N · m (43-54 lb · ft).
- Torque retaining nut to 35 N · m (26 lb · ft).
- Install the high pressure fuel line. Torque nuts to 25 N · m (18 lb · ft). See Figure
"Electronic Unit Pump Solenoid Connections"
.

1.High Pressure Fuel Line
4.Electronic Unit Pump
2.Retaining Nut
5.Solenoid Connections
3.Cylinder Head
Figure 8. Electronic Unit Pump Solenoid Connections
- Reattach the solenoid leads. Torque the two retaining screws to 8-13 N · m (7-11 in. · lb).
| Series 55 Service Manual - 6SE55 |
| Generated on 10-13-2008 |