Section 1.9
Crankcase Reconditioning
Follow these steps to recondition the crankcase:
Section 1.9.1
Engine Overhaul
The best way to clean the crankcase during engine overhaul is in a chemical bath or hot tank. This removes all carbon material and mineral deposits that collected in the cooling passages. If the hot tank is not available, use the following cleaning procedure:
- Clean all old gasket material from the surfaces of the crankcase using a scraper and a sanding block.
- Clean the cylinder liner bores using soap, water and a nylon brush.
- Remove main oil gallery cup plug, located at rear of crankcase by using a hammer and chisel, knock out the main oil gallery plug. See Figure
"Main Oil Gallery"
.

1. Hammer
3. Oil Gallery Plug
2. Crankcase
4. Chisel
Figure 1. Main Oil Gallery
- With the plugs removed from the crankcase, clean the crankcase as follows:
- Use a nylon brush with soap and water to clean the oil galleries.
- Clean the cross drillings using a nylon brush with soap and water. See Figure "Clean Cross Drillings" .
- Blow out all oil galleries and cross drillings using filtered compressed air.
- Clean all threaded holes using a tap of appropriate size.

1. Oil Galleries
2. Nylon Brush
Figure 2. Clean Cross Drillings
To avoid injury from flying debris when using compressed air, wear adequate eye protection (face shield or safety goggles) and do not exceed 40 psi (276 kPa) air pressure.
- Clean all threaded holes using a tap of appropriate size
- Clean mating surfaces on plug and crankcase.
- Apply Loctite® 262 to the outside edge of the cup plug.
- Drive the cup plug in using an arbor approximately 6 mm (1/4 in.) smaller in diameter than the plug being installed.
- Recess the plug 3.2 mm (1/8 in.).
- Install new plugs into rear of crankcase.
Section 1.9.1.1
Inspection and Repair
Follow these steps to inspect and repair the crankcase.
Note: Threaded holes with damaged threads may be salvaged with the use of a thread insert.
- Inspect the crankcase deck for flatness using a straightedge and feeler gage. Use the checking pattern shown. See Figure
"Checking Pattern "
. If a 0.076 mm (0.003 in.) feeler gage can pass, the crankcase must be replaced.

Figure 3. Checking Pattern
Note: Do not resurface the crankcase. Surface defects beyond those listed in step one, above, are not correctable. Replace the crankcase.
- Visually inspect the piston oil jet tubes for blockage as follows. See Figure
"Piston Oil Jet Tubes Inspection"
.

1. Piston Jet Tube Small Orifice
3. Bearing Saddle
2. Piston Jet Tube Large Orifice
4. Light Source
Figure 4. Piston Oil Jet Tubes Inspection
- Shine a light source under the small orifice in the tube end that protrudes into the crankcase from its insertion point in the bearing saddle.
- Position your eye to align with the large orifice of the piston cooling jet. If the light source is visible, the jet tube is clear and requires no further service.
- If the light source is not visible, the piston cooling jet tube is blocked. Clean the tube to remove any blockage.
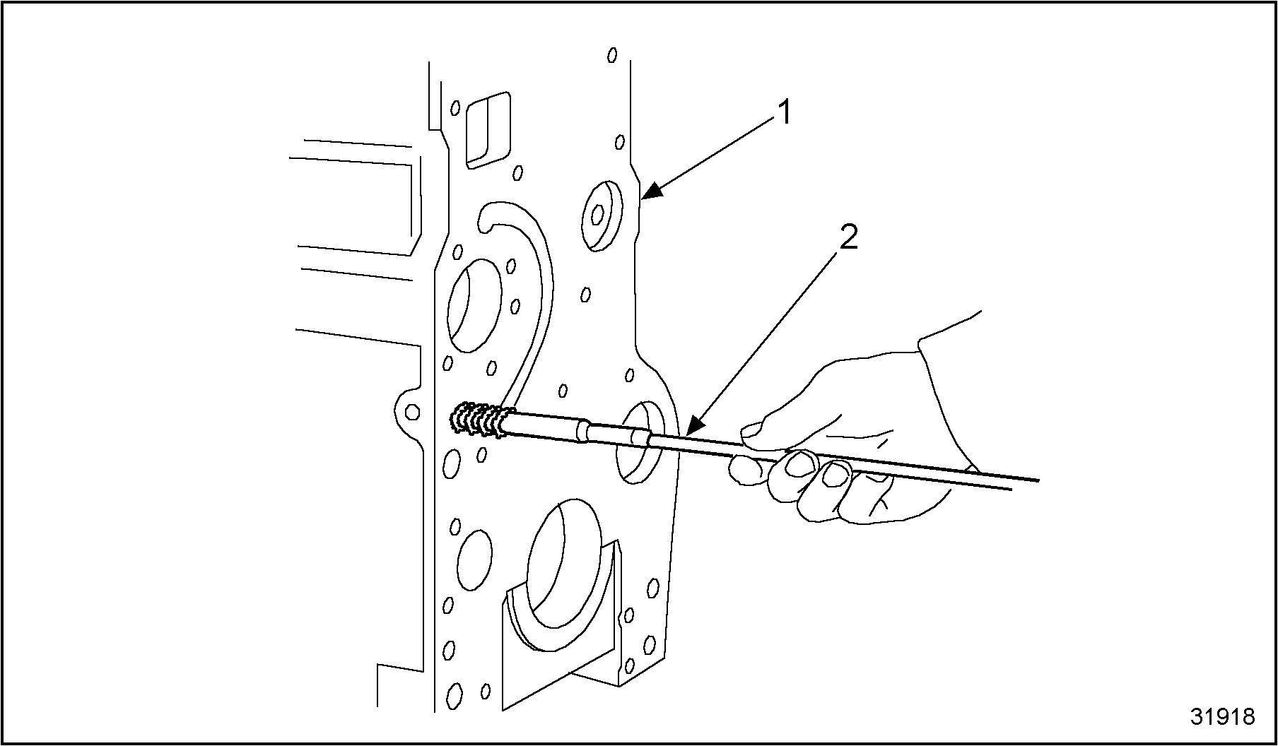
- Clean piston oil jet tube blockage as follows:
- Run an appropriately sized wire or torch tip cleaner through the tube orifice to remove blockage. See Figure "Cleaning Piston Oil Tube" .
- Using filtered compressed air, blow loosened debris out from the jet tube orifice.
- Reinspect piston cooling jet tube using a light source as previously described.

Figure 5. Cleaning Piston Oil Tube
To avoid injury from flying debris when using compressed air, wear adequate eye protection (face shield or safety goggles) and do not exceed 40 psi (276 kPa) air pressure.
Note: Do not remove piston cooling jet tubes unless they are damaged or cannot pass the visual inspection after cleaning.
| Series 40E Service Manual - 6SE410 |
| Generated on 10-13-2008 |