Section 1.20
Valves
The valves are controlled by mushroom tappets, pushrods, and rocker arms. The intake and exhaust valves are opened and closed by a valve-guided bridge.
Section 1.20.1
Valve Lift Checking
Check the valve lift as follows:
Note: Do this procedure to determine, without removing the camshaft, if the camshaft, or parts of the valve train, have suffered excessive wear. If the camshaft itself is suspect, check the lift on every valve.
- Remove the cylinder head cover. Refer to "1.1.1 Removal of Cylinder Head Cover" .
- Install the engine barring tool (J–46392)
. Refer to "1.16.1 Engine Barring Tool Installation"
.
Note: Check cylinders one at a time.
- Select the first cylinder. Using the engine barring tool (J–46392) , turn the flywheel until the piston in that cylinder is at ignition TDC (top dead center).
- Adjust the valve lash. See Figure
"Valve Lash and Valve Lift"
. Refer to "1.20.3 Valve Lash Adjusting"
.

1. Rocker Arm
2. Valve Bridge
3. Valve Spring Retainer
Figure 1. Valve Lash and Valve Lift
- Check the valve lift on the intake valves. See Figure
"Checking Valve Lift, Intake Valves"
. Listed in Table
"Valve Lift Specifications"
are the specifications.

1. Dial Gauge
3. Intake Rocker Arm
5. Intake Valve
2. Gauge Holder
4. Pushrod
Figure 2. Checking Valve Lift, Intake Valves
Description
Specification: mm (in.)
Specified Dial Gauge Preload for Checking Valve Lift
15 (0.60)
Valve Lift with Intake Valves Completely Open
11.546 (at least 0.4546)
Valve Lift with Exhaust Valves Completely Open
11.963 (at least 0.4710)
Inspection Cover Bolt Torque
25 N·m (18 lb·ft)
Table 3. Valve Lift Specifications- Mount a dial gauge and a gauge holder on the valve bridge. Mount the dial gauge with a preload of approximately 15 mm (0.60 in.) to provide adequate travel for checking the intake valve lift.
- Set the scale on the dial gauge to "0" (zero).
- Using the engine barring tool (J–46392)
, turn the flywheel in a counterclockwise direction (as viewed from the flywheel end).
Note: The dial gauge will show the highest reading when the valve is completely open.
- When the valves are completely open, read off the value on the dial gauge. If the intake valve lift reaches at least 11.546 mm (0.4546 in.) at its highest point, the intake valves are lifting OK. Check the exhaust valves.
If the intake valve lift fails to reach 11.546 mm (0.4546 in.) at its highest point, remove the camshaft and inspect the cams for wear. Refer to "1.23.1 Camshaft Removal" .
Note: If the gauge reading fails to reach 11.546 mm (0.4546 in.), be sure the valves were completely open. The dial gauge will show the highest reading when the valve is completely open.
- Check the lift on the exhaust valves. See Figure
"Checking Valve Lift, Exhaust Valves"
.

1. Dial Gauge
3. Exhaust Rocker Arm
5. Exhaust Valve
2. Gauge Holder
4. Pushrod
Figure 3. Checking Valve Lift, Exhaust Valves
- Turn the flywheel in a counterclockwise direction until both valves are closed.
- Move the dial gauge and gauge holder to the spring retainer on the exhaust valve. Make sure the dial gauge still has a preload of approximately 15 mm (0.60 in.) to provide adequate travel for checking the exhaust valve lift.
- Set the scale on the dial gauge to "0" (zero).
- Using the engine barring tool, (J–46392)
turn the flywheel in a counterclockwise direction (as viewed from the flywheel end).
Note: The dial gauge will show the highest reading when the valve is completely open.
- When the valve is completely open, read off the value on the dial gauge. If the exhaust valve lift reaches at least 11.963 mm (0.4710 in.) at its highest point, the exhaust valve is lifting OK. Check the next cylinder.
If the exhaust valve lift fails to reach 11.963 mm (0.4710 in.) at its highest point, remove the camshaft and inspect the cams for wear. Refer to "1.23.1 Camshaft Removal" .
Note: If the gauge reading fails to reach 11.963 mm (0.4710 in.), be sure the valves were completely open. The dial gauge will show the highest reading when the valve is completely open.
- Check the valve lift, both intake and exhaust, on the remaining cylinders, one at a time, until all have been checked.
- Remove the dial gauge and holder from the cylinder head.
- Remove the engine barring tool (J–46392) from the flywheel housing. Refer to "1.16.2 Engine Barring Tool Removal" .
- Install the cylinder head cover. Refer to "1.1.2 Installation of Cylinder Head Cover" .
Section 1.20.2
Valve Lash Checking
Check and adjust the valve lash as follows:
Note: Adjust the valve lash when the engine is cold. Wait at least 30 minutes after shutdown, even if the engine ran only a short time.
Select a method for adjusting the valves. There are two acceptable methods for adjusting the valves, prior to checking the valve lash:
- In order, according to the timing sequence used for fuel injection (see Method One—Adjust Each Cylinder in Firing Order);
- By type of valve, depending on crankshaft position (see Method Two—Adjust All Valves Using Two Crankshaft Positions).
See Figure "Cylinder and Valve Layout" for the cylinder and valve layout on MBE 4000 engines.

Figure 4. Cylinder and Valve Layout
Section 1.20.2.1
Method One — Adjust Each Cylinder in Firing Order
Method one allows you to adjust each cylinder in the order in which fuel is injected. The crankshaft must be repositioned after each cylinder is adjusted as listed in Table "Valve Adjustment (Method One)" .
|
Crankshaft Position |
Cylinders |
Cylinders |
Cylinders |
Cylinders |
Cylinders |
Cylinders |
|
Ignition TDC |
1 |
5 |
3 |
6 |
2 |
4 |
|
Valve Overlap |
6 |
2 |
4 |
1 |
5 |
3 |
Note: Clean each cylinder head cover before removing it.
- Remove the cylinder head covers. See Figure
"Cylinder Head Cover, (exploded view)"
. Refer to "1.1.1 Removal of Cylinder Head Cover"
.

1. Socket-Head Bolt
3. Gasket
2. Cylinder Head Cover
4. Cylinder Head
Figure 5. Cylinder Head Cover, (exploded view)
- Remove the inspection cover on the flywheel housing.
- Fit the engine barring tool (J–46392)
into the inspection hole on the flywheel housing and secure with bolts of sufficient length.
See Figure
"Placement of the Barring Tool"
.
Note: The bolts from the inspection cover are not long enough to secure the engine barring tool properly. Use bolts of sufficient length to secure the barring tool.

1. Inspection Cover
2. Cranking Device
Figure 6. Placement of the Barring Tool
- For each cylinder, use the barring tool to turn over the crankshaft until the piston is exactly at top dead center (TDC) in the compression stroke. The valves must be closed and it must be possible to turn the pushrods without effort.
Note: When the piston in cylinder #1 is at ignition TDC, the valves of cylinder #6 will overlap, meaning that both intake and exhaust valves are partially open, and show no measurable play when tested with a feeler gauge.
- Check each valve and adjust it (if necessary), using the procedures under the headings "Checking Valve Lash" and "Adjusting Valve Lash."
- For each valve, measure the valve lash with a feeler gauge between the rocker arm and valve bridge. It should be possible to pull the feeler gauge through with no more than light resistance.
- If the value measured is within the range given in the "Check For" column listed in Table
"Valve Lash Checking and Adjustment"
, check the next valve.
Valve Type
Check For: mm (in.)
Adjust to: mm (in.)
Intake
0.30 to 0.60 (0.012 to 0.024)
0.40 (0.016)
Exhaust
0.50 to 0.80 (0.020 to 0.032)
0.60 (0.024)
Table 8. Valve Lash Checking and Adjustment
If the value measured is outside the range given in the "Check For" column listed in Table "Valve Lash Checking and Adjustment" , adjust the valve lash.
Section 1.20.2.2
Method Two — Adjust All Valves Using Two Crankshaft Positions
Method two allows you to adjust all the valves using just two crankshaft positions.
Note: Clean each cylinder head cover before removing it.
- Remove the cylinder head covers. See Figure
"Cylinder Head Cover, (exploded view)"
. Refer to "1.1.1 Removal of Cylinder Head Cover"
.

1. Socket-Head Bolt
3. Gasket
2. Cylinder Head Cover
4. Cylinder Head
Figure 7. Cylinder Head Cover, (exploded view)
- Remove the inspection cover on the flywheel housing.
- Fit the engine barring tool (J–46392)
into the inspection hole on the flywheel housing. See Figure
"Placement of the Barring Tool"
.

1. Inspection Cover
2. Cranking Device
Figure 8. Placement of the Barring Tool
- Using the barring tool, turn the crankshaft until cylinder #1 is at the ignition TDC position (all valves are closed) and cylinder #6 is at the valve overlap position (all valves are open).
Note: When the piston in cylinder #1 or #6 is at ignition TDC, there will be a small bevelled alignment mark visible through the inspection hole. See Figure "Flywheel Alignment Mark" .

Figure 9. Flywheel Alignment Mark
- Check the valves in the "Ignition TDC" row listed in Table
"Valve Adjustment (Method Two)"
, and adjust them (if necessary), using the procedures under the headings "Checking Valve Lash" and "Adjusting Valve Lash."
Cylinder #1 Crankshaft
Position
Cylinder Valve Types*
Cylinder Valve Types*
Cylinder Valve Types*
Cylinder Valve Types*
Cylinder Valve Types*
Cylinder Valve Types*
Cylinder #
1
2
3
4
5
6
Ignition TDC
I/E
I
E
I
E
—
Valve Overlap
—
E
I
E
I
I/E
Table 11. Valve Adjustment (Method Two)
* I= Intake Valve and E= Exhaust Valve - Using the barring tool, turn the crankshaft until cylinder #6 is at the ignition TDC position (all valves are closed) and cylinder #1 is at the valve overlap position (all valves are open).
- Using the same procedure, check the valves in the "Valve Overlap" row listed in Table "Valve Adjustment (Method Two)" and adjust them (if necessary), using the procedures under the headings "Checking Valve Lash" and "Adjusting Valve Lash."
- For each valve, measure the valve lash with a feeler gauge between the rocker arm and valve bridge. It should be possible to pull the feeler gauge through with no more than light resistance.
- If the value measured is within the range listed in Table
"Valve Lash Checking and Adjustment"
in the "Check For" column, check the next valve.
Valve Type
Check For: mm (in.)
Adjust to: mm (in.)
Intake
0.30 to 0.60 (0.012 to 0.024)
0.40 (0.016)
Exhaust
0.50 to 0.80 (0.020 to 0.032)
0.60 (0.024)
Table 12. Valve Lash Checking and Adjustment
If the value measured is outside the range given in the "Check For" column listed in Table "Valve Lash Checking and Adjustment" , adjust the valve lash.
Section 1.20.3
Valve Lash Adjusting
Adjust the valve lash as follows:
- If adjustment is needed, unscrew the locknut. See Figure
"Valve Lash Adjustment"
. Turn the adjusting screw until the valve lash is correct. Use the exact settings given in the "Adjust To" column listed in Table
"Valve Lash Checking and Adjustment"
.

1. Adjusting Screw
2. Locknut
Figure 10. Valve Lash Adjustment
Note: When adjusting the valves, adjust to the exact setting. Use the range only for checking adjustment.
- Tighten the locknut 50 N·m (37 lb·ft).
- Check the valve lash again. Adjust again if necessary.
- Install the cylinder head covers. Refer to "1.1.2 Installation of Cylinder Head Cover" .
- Remove the barring tool from the inspection hole in the flywheel housing.
- Replace the end cover on the inspection hole and tighten the bolts 25 N·m (18 lb·ft).
Section 1.20.4
Measuring Valve Protrusion
Measure the valve protrusion as follows:
- Remove the cylinder head from the engine. Refer to "1.2.1 Cylinder Head Removal" .
- Set up a dial gauge and dial gauge holder with a preload on the lower contact surface of the cylinder head. See Figure
"Setting the Dial Gauge Preload"
.

1. Lower Contact Surface of Cylinder Head
3. Dial Gauge
2. Valve Head
4. Dial Gauge Holder
Figure 11. Setting the Dial Gauge Preload
Note: Before doing this procedure, make sure the valve head is making contact with the valve seat.
- Measure the valve protrusion listed in Table
"Valve Protrusion"
, from the cylinder head. See Figure
"Measuring Valve Protrusion"
.
Note: The valve protrusion is the difference in height between the lower contact surface of the cylinder head and the valve head, when it is touching the valve seat.

1. Cylinder Head
2. Valve Head
3. Valve Stem
Figure 12. Measuring Valve Protrusion
Valve Type
Description
Specification: mm (in.)
Intake
Normal
0.7-1.1 (0.03-0.04)
Intake
Wear Limit
1.6 (0.06)
Exhaust
Normal
0.7-1.1 (0.03-0.04)
Exhaust
Wear Limit
1.6 (0.06)
Table 16. Valve Protrusion- Set the scale of the dial gauge to "0" (zero).
- Move the dial gauge enough so that its probe is touching the valve head.
- If the gauge reads between 0.7 and 1.1 mm (0.03 and 0.04 in.), the valve protrusion is within specifications for new cylinder heads. Skip down to "Install the cylinder head..."
If the gauge reads less than 0.7 mm (0.03 in.), or more than 1.1 mm (0.04 in.), the valve protrusion is not within specifications.
- For used heads, if the gauge reads more than 1.6 mm (0.06 in.), inspect valve and valve seats. Listed in Table "Valve Removal/Installation Specifications in mm (in.)" are the specifications.
- Install the cylinder head. Refer to "1.2.2 Cylinder Head Installation" .
Section 1.20.5
Valve Removal
Remove the intake and exhaust valves as follows:
Note: The MBE 4000 engine has individual heads for each cylinder. To replace the valves on one head, follow these instructions, step by step. To replace all the valves, repeat these instructions for all six cylinder heads.
- Remove the cylinder head from the engine. Refer to "1.2.1 Cylinder Head Removal" .
- Using a dial gauge and holder, measure the valve protrusion from the cylinder head. Refer to "1.20.4 Measuring Valve Protrusion"
. Listed in Table
"Valve Protrusion"
are the normal tolerances and wear limits.
Valve Type
Description
Specification: mm (in.)
Intake
Normal
0.7-1.1 (0.03-0.04)
Intake
Wear Limit
1.6 (0.06)
Exhaust
Normal
0.7-1.1 (0.03-0.04)
Exhaust
Wear Limit
1.6 (0.06)
Table 17. Valve ProtrusionNote: If the measurement is not within tolerance, machine the valve seat insert, using the procedures . If the measurement is beyond the wear limit, replace the valve seat insert.
- Place the cylinder head on wooden blocks.
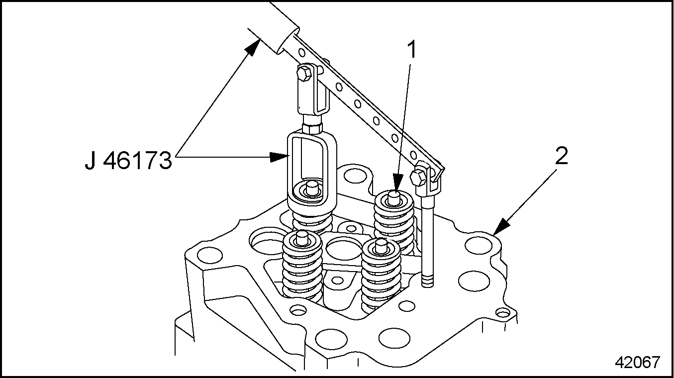
- Attach the valve spring adaptor and remover (J–46173)
, to the cylinder head. See Figure "Valve Removal"
.

1. Valve
2. Cylinder Head
Figure 13. Valve Removal
- Using the adaptor/remover tool (J–46173)
, press down on the valve spring retainer. Remove the collets with a magnetic pin. See Figure
"Valves (exploded view)"
.

1. Collet
4. Spacer Washer
7. Cylinder Head
2. Spring Retainer
5. Exhaust Valve
3. Valve Spring
6. Intake Valve
Figure 14. Valves (exploded view)
- Relieve the pressure on the adaptor/remover. Remove the valve spring retainers, valve springs, and spacer washers.
- Turn over the cylinder head and remove the valves.
Note: Mark the valves in order for ease of installation.
- With the cylinder head again in the upright position, remove and discard the valve stem seals. See Figure
"Valve Stem Seals"
.

1. Valve Stem Seal
2. Valve Guide
3. Cylinder Head
Figure 15. Valve Stem Seals
- Inspect the valve guides for wear. See Figure
"Measuring the Inside Diameter of the Valve Guide"
. Listed in Table
"Inside Diameter of Valve Guide"
are the specifications.

1. Valve Guide
2. Cylinder Head
Figure 16. Measuring the Inside Diameter of the Valve Guide
Description
Specification: mm (in.)
Normal
9.000-9.022 (0.3543-0.3552)
Wear Limit
9.050 (0.3563)
Table 22. Inside Diameter of Valve Guide - Clean the valves thoroughly. Remove any traces of combustion residue.
- Check the valves to see if they can be re-used. Replace the valves if the stem ends are damaged or bent, if the valve grooves are deformed, if the seat is burned, or if the chrome surface of the shaft is not entirely intact.
- Check the following critical valve dimensions, and repair as necessary. See Figure
"Critical Dimensions, Valve Stem and Head"
to determine the dimensions given in the table. Listed in Table
"Valve Removal/Installation Specifications in mm (in.)"
are the dimensions.
- Valve stem diameter (A)
- Valve seat diameter at the contact surface of the cylinder head (B)
- Valve head diameter (C)
- Valve seat height (D)
- Valve seat width at the valve head (E)
- Valve seat angle (F)
- Valve length (G)

Figure 17. Critical Dimensions, Valve Stem and Head
Description
Intake: mm (in.)
Exhaust: mm (in.)
Valve Stem Diameter (A)
8.935-8.950 (0.3518-0.3524)
8.925-8.940 (0.3514-0.3520)
Valve Seat Diameter, at Head Contact Surface (B)
42.0 (1.65)
39.0 (1.54)
Valve Head Diameter (C)
45.4-45.6 (1.79-1.80)
40.9-41.3 (1.61-1.63)
Valve Seat Height-New (D)
3.1-3.3 (0.12-0.13)
2.8-3.1 (0.11-0.12)
Minimum Valve Seat Height-After Grinding (D)
2.9 (0.11)
2.3 (0.09)
Valve Seat Width, at Valve Head (E)
3.5-4.5 (0.14-0.18)
3.5-4.5 (0.14-0.18)
Valve Seat Angle (F)
30 degrees
45 degrees
Valve Length (G)
145.0 (5.71)
145.0 (5.71)
Table 23. Valve Removal/Installation Specifications in mm (in.) - Check the condition of the valve seat insert. Repair the valves if necessary.
- Inspect the valve springs. Check the springs for correct pressure, using the values listed in Table
"Spring Specifications, Intake and Exhaust Valves"
. If damaged, replace the springs.
Description
Specification: mm (in.)
Length, Without Load
69.7 (2.74)
Length, Under Load of 382-418 N (86-94 lbf)
49 (1.9)
Length, Under Load of 644-706 N (145-159 lbf)
37 (1.5)
Diameter of Spring Wire
4.2 (0.17)
Outside Diameter of Spring Coil
28.9 (1.14)
Inside Diameter of Spring Coil
24.5-24.9 (0.96-0.98)
Table 24. Spring Specifications, Intake and Exhaust Valves
Section 1.20.6
Valve Installation
Install the intake and exhaust valves as follows:
- Lubricate each valve with a light coating of engine oil.
- Install the valves in order, as marked on removal.
Note: Always replace the valve stem seal if the valve has been removed. Check the seal to make sure it is correctly seated on the valve guide. Refer to "1.20.7 Valve Stem Seal Replacement" .
- Install new valve stem seals. Refer to "1.20.7 Valve Stem Seal Replacement" .
- Using the adaptor/remover, (J–46173) , install the spring bases, springs, spring retainers, and collets. Check the collets to be sure they are locked in place.
- Remove the adaptor/remover, (J–46173) , from the cylinder head.
- Install the cylinder head. Refer to "1.2.2 Cylinder Head Installation" .
Section 1.20.7
Valve Stem Seal Replacement
Replace the valve stem seal as follows:
Note: Always replace the valve stem seal if the valve has been removed.
- Remove the cylinder head from the engine. Refer to "1.2.1 Cylinder Head Removal"
.
Note: Use care during removal to not damage the valve guides and valve stems.
- Remove the collets, spring retainer, valve spring, and spring base. See Figure
"Valve Stem Seal Replacement"
.

1. Valve Stem Seal
3. Valve Guide
2. Valve Stem
4. Valve Stem Sealing Ring (installed)
Figure 18. Valve Stem Seal Replacement
- Remove the valve stem seal. Do not remove the valve.
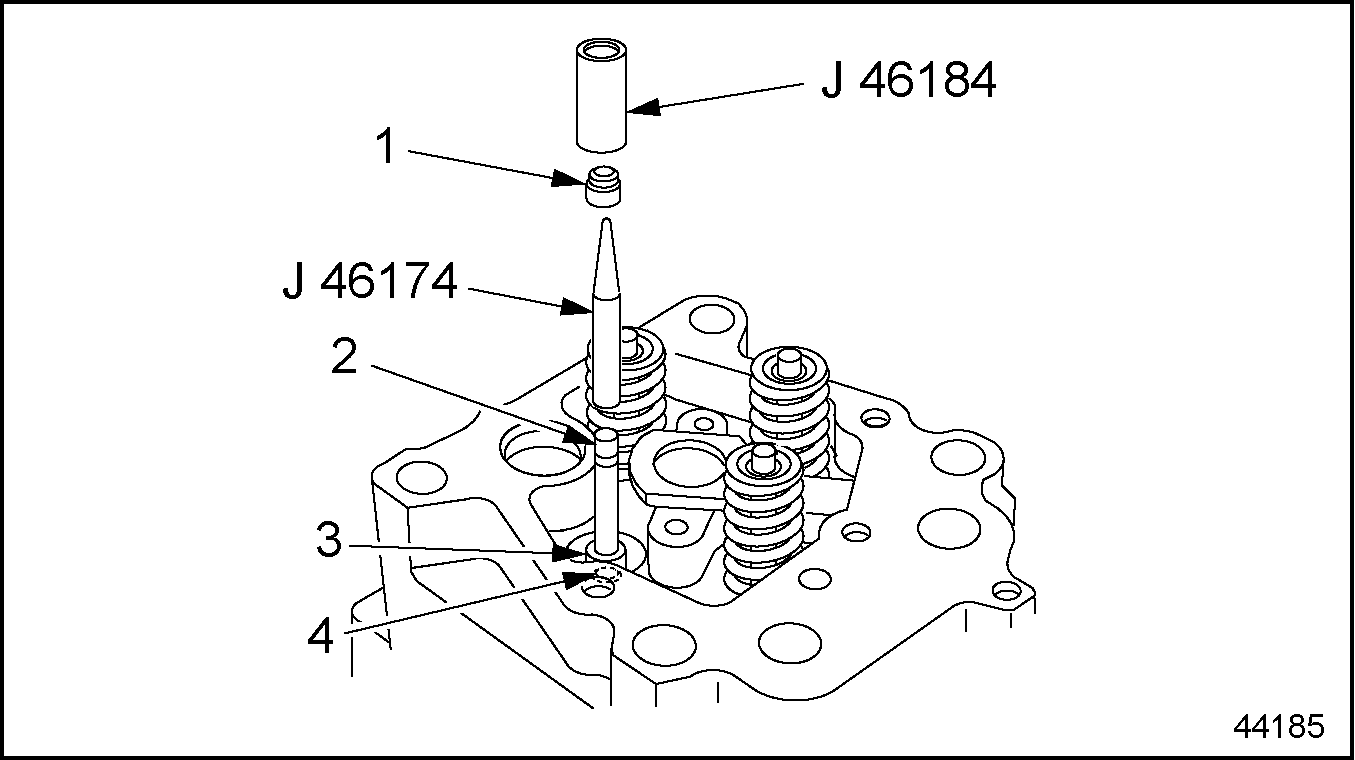
- Lubricate the valve stem and valve stem seal installer/protector
(J–46174)
with a light coating of clean engine oil.
Note: The installer prevents the groove on the valve stem from damaging the seal.
- Push the valve stem seal installer/protector (J–46174) over the valve stem until it makes contact with the valve.
-
Using valve stem seal installer (J–46184)
and the appropriate hammer, drive the valve stem seal onto the guide.
Note: Check the seal to ensure it is correctly seated on the valve guide.
- Remove the installer and protector from the valve stem seal and the valve.
- Install the valve keepers, spring retainer, valve spring and spring base, as removed.
- Repeat the procedure for the other valves.
- Install the cylinder head. Refer to "1.2.2 Cylinder Head Installation" .
| MBE 4000 Service Manual - 6SE412 |
| Generated on 10-13-2008 |