Section 1.6
Engine Brake
Engine braking is controlled by a pneumatically-operated exhaust brake on the turbocharger in conjunction with constant-throttle valves in the cylinder head. The exhaust back-pressure is used by the exhaust brake to increase braking performance. The constant-throttle valves use the air that escapes through them on the compression stroke to provide braking force.
The constant throttles are small valves which are built into the cylinder heads and positioned opposite the exhaust valves. When open, a link is created between the combustion chamber and the exhaust port. When the engine brake is switched on, the constant-throttle valves are opened by pneumatic pressure.
Note: When in emergency running mode (constant rpm), the engine brake can be activated only when the engine is in overrun. When constant rpm has been attained, the engine brake is automatically turned off.
For greater braking power, an optional turbo brake is available.
Section 1.6.1
Constant Throttle Valve Removal
Remove the Constant Throttle Valve (CTV) as follows:
- Remove the cylinder head. Refer to "1.2.1 Cylinder Head Removal" .
- Remove the injector nozzle.
- From the top of the cylinder head, remove the end cover on the CTV. See Figure
"Constant Throttle Valve (exploded view)"
.

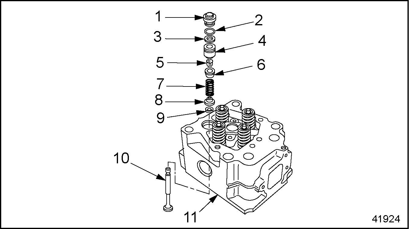
1. End Cover
5. Collets
9. Valve Stem Seal
2. O-ring
6. Spring Retainer
10. Valve
3. Piston Seal
7. Spring
11. Cylinder Head
4. Piston
8. Spring Guide
Figure 1. Constant Throttle Valve (exploded view)
Note: Insert a spacer beneath the valve head to prevent the valve from opening while doing the rest of the removal procedures. See Figure "Constant Throttle Valve (cutaway view, with spacer installed)" .
- From the bottom of the cylinder head, insert a suitable spacer about 6.0 mm (0.25 in.) in height. See Figure
"Constant Throttle Valve (cutaway view, with spacer installed)"
.

1. End Cover
5. Collets
9. Valve Stem Seal
2. O-ring
6. Spring Retainer
10. Valve
3. Piston
7. Spring
11. Spacer
4. Piston Seal
8. Spring Guide
Figure 2. Constant Throttle Valve (cutaway view, with spacer installed)
- Using needle-nose pliers, remove the piston. Pull the piston and piston seal out of the valve bore. See Figure
"Removing the Piston"
.

1. Needle-Nose Pliers
2. Piston
Figure 3. Removing the Piston
- Inspect the piston and piston seal for damage and signs of wear. If necessary, replace the piston and piston seal.
- Insert the CTV spring remover (J-46401)
down onto the spring retainer. Remove the collets with a magnetic pin. See Figure
"Compressing the Spring"
.

1. Collets
2. Spring Retainer
3. Spring
Figure 4. Compressing the Spring
- Relieve the pressure on the spring. Remove the spring retainer, spring and spring guide. For ease of installation, mark the spring retainer and spring guide with a paint pen.
- Turn over the cylinder head. From the bottom of the cylinder head, draw out the valve and spacer. For ease of installation, mark the valve with a paint pen.
- Using a small hook, remove and discard the valve stem seal.
Note: Always replace the valve stem seal whenever the constant-throttle valve is removed.
- Repeat this procedure for each constant-throttle valve.
Section 1.6.2
Constant Throttle Valve Installation
Install the Constant Throttle Valve (CTV) as follows:
- Lubricate the valve stem with a light coating of clean engine oil. From the bottom of the cylinder head, push the valve, as marked on removal, into the valve bore. See Figure
"Constant Throttle Valve (exploded view)"
.
Note: Insert a spacer beneath the valve head to prevent the valve from opening while installing the valve spring and piston.
- Insert a suitable spacer about 6.0 mm (0.25 in.) in height. See Figure "Constant Throttle Valve (cutaway view, with spacer installed)" .
- Install a new seal on the valve stem.
- With the fingers, press the seal onto the valve stem past the indentation that houses the collets when the valve is installed.
- Insert the spring guide over the end of the valve stem and push down until the spring guide bottoms out.
- From the top of the cylinder head, fit the spring and spring retainer, as marked on removal, onto the valve stem.
- Push the spring down with the CTV spring remover and insert the collets into the spring retainer. Push until they lock into place.
- Install the piston and seal, as removed. Be careful not to damage the seal on installation. See Figure "Removing the Piston" .
- From the bottom of the cylinder head, remove the spacer.
- From the top of the cylinder head, install a new O-ring on the end cover.
- Install the end cover.
- Install the injector nozzle.
- Install the cylinder head. Refer to "1.2.1 Cylinder Head Removal" .
- Repeat this procedure for each constant-throttle valve.
Section 1.6.3
Constant Throttle Valve Solenoid Removal
A Kent-Moore tool, CTV solenoid socket (J–47398) is required for this procedure.
Perform the following to remove the CTV solenoid:
-
Remove the lower exhaust manifold heat shield.

1. EPV Harness Connector
2. Wirinig Harness Bracket
Figure 5. CTV Solenoid Removal
- Disconnect the harness connector at the CTV solenoid.
- Disconnect the wiring harness bracket and harness connectors from the EPV solenoid and Oil Pressure/Temperature sensor. See Figure "CTV Solenoid Removal" .
- Remove the plastic ties securing the harness to the brackets.
-
Pull the harness to the front of the engine through the opening between the oil filter housing and engine.

Figure 6. CTV Solenoid Removal/Installation
- Position CTV solenoid socket (J–47398) under the exhaust manifold and between the engine and oil cooler. See Figure " CTV Solenoid Removal/Installation" .
-
Slide the socket from rear to front until it is positioned over the solenoid. See Figure
" CTV Solenoid Removal/Installation"
.
NOTICE:
Ensure that the CTV solenoid harness does not get pinched. Damage to the harness could cause engine braking problems.
- Using a 3/8 in. drive extension and a universal swivel remove the CTV solenoid.
- Remove the O-ring from the solenoid and discard.
Section 1.6.4
Constant Throttle Valve Solenoid Installation
Perform the following to install the CTV solenoid:
- Install a new O-ring on the CTV solenoid and lubricate with clean engine oil.
-
Position the CTV solenoid into the oil cooler housing and start threads by hand.
NOTICE:
Ensure that the CTV solenoid harness does not get pinched. Damage to the harness could cause engine braking problems.
- Using a 3/8 in. drive extension and a universal swivel, torque the CTV solenoid to 35 N·m (26 lb·ft).
- Connect the harness connectors to the CTV solenoid, Oil Pressure/Temperature Sensor, and EPV solenoid. Secure harness with nylon tie straps.
- Install the removed lower exhaust manifold heat shield. Torque the bolts to 25 N·m (18 lb·ft).
| MBE 4000 Service Manual - 6SE412 |
| Generated on 10-13-2008 |