Section 17.1
DDEC System--How It Works
The major components of the DDEC system consist of the Electronic Control Unit (ECM/ECU), the Electronic Unit Injectors (EUI) and the various system sensors. The purpose of the sensors is to provide information to the ECM/ECU regarding various engine performance characteristics. The information sent to the ECM/ECU is used to instantaneously regulate engine and vehicle performance.
Section 17.1.1
Electronic Control Unit
The engine-mounted Electronic Control Unit (ECM/ECU) (see Figure "Electronic Control Unit" ) includes control logic to provide overall engine management. The ECM/ECU continuously performs self-diagnostic checks and monitors other system components. System diagnostic checks are made at ignition-on and continue throughout all engine-operating modes.

Figure 1. Electronic Control Unit
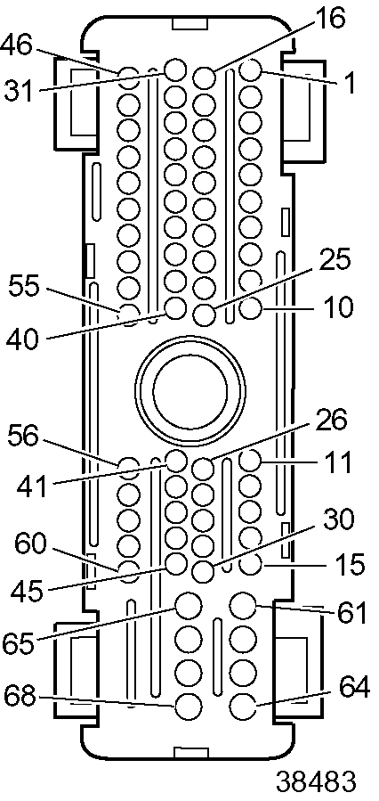
The DDEC V ECM/ECU has two 68-pin Tyco connectors - one for the engine and the other for the vehicle.
DDEC V supports three independent data links. There are two links on the Vehicle Interface Harness (VIH). One link is based on SAE J1708, and the second is SAE J1939. The other link, on the Engine Harness, is CAN based and will be used for proprietary communications such as multi-ECM/ECU applications and DDC factory programming.
Connector shrouds protect the two 68-pin Tyco connectors (see see Figure "Electronic Control Unit with Connector Shrouds" ).

Figure 2. Electronic Control Unit with Connector Shrouds
See Figure "Dimensions of Electronic Control Unit with Connector Shouds" for the ECM/ECU outline and dimensions.

Figure 3. Dimensions of Electronic Control Unit with Connector Shouds
Section 17.1.1.1
Connector Shroud
The shroud is used to protect the connectors from dirt and direct spray and to route the wires in the correct orientation. The shroud is designed for 25-30 mm conduit.
Note: The shroud is REQUIRED.
Different views of the connector shroud may be seen in the next illustration (see Figure "Electronic Control Unit Connector Shroud" ).

Figure 4. Electronic Control Unit Connector Shroud
Two screws are required to attach the shroud to the ECM/ECU. The torque specification for these screws is 50 in.·lb. (5.65 N·m).
Note: Replacement oversized screws are available in case of a thread failure of the connector.
Section 17.1.1.2
Environmental Conditions
The following environmental conditions must be considered.
Temperature
The ambient operating temperature range is -40°F (-40°C) minimum and 221°F (105°C) maximum.
Atmospheric Pressure
The engine-mounted ECM/ECU can withstand atmospheric pressures ranging from 62.0 to 120 kPa absolute that result from altitude and weather changes in the operating and non-operating conditions.
Water Intrusion
The ECM/ECU can be exposed to steam cleaning and pressure washing. Care should be taken not to pressure spray the connectors.
Section 17.1.2
Harnesses
There are two major harness: the Engine Harness (EH) and the Vehicle Interface Harness (VIH). The Engine Harness is installed at the factory and is delivered connected to all engine sensors, the fuel injection system, and the ECM/ECU.
The OEM supplied Vehicle Interface Harness connects the ECU to other vehicle systems.
Section 17.1.2.1
EH Connector and Typical Required Functions
The EH 68-pin Tyco connector pinout for the Series 60® is listed in Table "Series 60 Engine Harness Connector - Pins E-1 Through E-32" and Table "Series 60 Engine Harness Connector - Pins E-33 Through E-68" .
|
Pin |
Wire Color |
Signal Type |
Function |
Connector |
|
E-1 |
Blk |
PWM Output – Low Side |
EGR Hydraulic Valve Control |
![]() Shroud Side of Connector |
|
E-2 |
Wht |
Analog Input – 1.5k Pull-up |
Air Temp |
|
|
E-3 |
— |
Analog Input – 51k Pull-down |
Spare |
|
|
E-4 |
Blk |
PWM Output – Low Side |
VGT VPOD Control |
|
|
E-5 |
Yel |
Analog Input – 1.5k Pull-up |
Coolant Temp |
|
|
E-6 |
— |
Analog Input – 51k Pull-down |
Spare |
|
|
E-7 |
Tan |
Analog Input – 1.5k Pull-up |
Oil Temp |
|
|
E-8 |
— |
PWM Output – Low Side |
Spare |
|
|
E-9 |
Orn |
Analog Input – 1.5k Pull-up |
Fuel Temp |
|
|
E-10 |
— |
Analog Input – 1.5k Pull-up |
EGR Temp |
|
|
E-11 |
— |
PWM Output – Low Side |
Spare |
|
|
E-12 |
Gra |
Sensor Supply #3 |
Sensor Supply |
|
|
E-13 |
— |
Digital Output – Low Side |
Spare |
|
|
E-14 |
Blk |
Sensor Return #4 |
Sensor Return |
|
|
E-15 |
Blk |
Sensor Return #3 |
Sensor Return |
|
|
E-16 |
Yel |
Analog Input – 51k Pull-down |
Fuel Restriction (MAS) |
|
|
E-17 |
Ppl |
TRS (CKP) (-) |
TRS (CKP) (-) |
|
|
E-18 |
Dk Grn |
TRS (CKP) (+) |
TRS (CKP) (+) |
|
|
E-19 |
Lt Blu |
SRS (CMP) (+) |
SRS (CMP) (+) |
|
|
E-20 |
Wht |
SRS (CMP) (-) |
SRS (CMP) (-) |
|
|
E-21 |
Dk Grn |
Analog Input – 51k Pull-down |
Oil Level (MAS) |
|
|
E-22 |
Dk Blu |
Analog Input – 1.5k Pull-up |
Turbo Compressor Out Temp |
|
|
E-23 |
— |
Analog Input – 1.5k Pull-up |
Spare |
|
|
E-24 |
— |
Analog Input – 51k Pull-down |
Spare |
|
|
E-25 |
— |
Analog Input – 51k Pull-down |
Spare |
|
|
E-26 |
Gra |
Sensor Supply #4 |
Sensor Supply |
|
|
E-27 |
— |
Analog Input – 1.5k Pull-up |
Spare |
|
|
E-28 |
— |
Ground Pin |
Spare |
|
|
E-29 |
— |
Ground Pin |
Spare |
|
|
E-30 |
— |
Ground Pin |
Spare |
|
|
E-31 |
Brn |
Analog Input – 51k Pull-down |
Oil Pressure |
|
|
E-32 |
— |
Frequency Input (+) — Aux 3 |
Spare |
|
Pin |
Wire Color |
Signal Type |
Function |
Connector |
|
E-33 |
— |
Frequency Input (-) – Aux3 |
Spare |
![]() Shroud Side of Connector |
|
E-34 |
Brn |
Frequency Input (-) – Aux2 |
Turbo Speed Sensor (+) |
|
|
E-35 |
Blk |
Frequency Input (+) – Aux2 |
Turbo Speed Sensor (-) |
|
|
E-36 |
— |
Analog Input – 1.5k Pull-up |
Spare |
|
|
E-37 |
Pnk |
Analog Input – 51k Pull-down |
Barometric Pressure |
|
|
E-38 |
— |
Analog Input – 51k Pull-down |
EGR Delta Pressure |
|
|
E-39 |
Lt Grn |
Analog Input – 51k Pull-down |
Turbo Boost |
|
|
E-40 |
Dk Blue |
CAN2 (+) |
CAN2 (+) |
|
|
E-41 |
— |
Analog Input – 51k Pull-down |
Spare |
|
|
E-42 |
Bk |
Ground Pin |
VGT VPOD Gnd |
|
|
E-43 |
Bk |
Ground Pin |
Spare |
|
|
E-44 |
— |
Ground Pin |
Spare |
|
|
E-45 |
— |
Ground Pin |
Spare |
|
|
E-46 |
Lt Grn |
Digital Output – High Side |
Switched Battery (+) – VGT |
|
|
E-47 |
— |
Digital Output – High Side |
Spare |
|
|
E-48 |
Red |
Digital Output – High Side |
Jake Med/High |
|
|
E-49 |
Orn |
Digital Output – High Side |
Jake Low |
|
|
E-50 |
— |
Digital Output – High Side |
Spare |
|
|
E-51 |
Yel |
Digital Output – High Side |
Switch Battery (+) — EGR |
|
|
E-52 |
Red |
Digital Output – High Side |
Spare |
|
|
E-53 |
— |
Digital Output – High Side |
Spare |
|
|
E-54 |
Pnk |
CAN2 (-) |
CAN2 (-) |
|
|
E-55 |
Blk |
CAN2S |
CAN2 Shield |
|
|
E-56 |
— |
Analog Input – 51k Pull-down |
Spare |
|
|
E-57 |
— |
Analog Input – HWOLS |
No Connection |
|
|
E-58 |
— |
Analog Input – 1.5k Pull-up |
Spare |
|
|
E-59 |
— |
RTC BATT+ |
External RTC Battery (+) |
|
|
E-60 |
— |
Ground Pin |
Spare |
|
|
E-61 |
Wht |
Injector High Common |
S60 Common Cyl #1,2,3 |
|
|
E-62 |
Wht |
Injector High Common |
S60 Common Cyl #4,5, 6 |
|
|
E-63 |
Wht |
Injector A – LO1 |
S60 Cylinder #1 |
|
|
E-64 |
Wht |
Injector A – LO2 |
S60 Cylinder #3 |
|
|
E-65 |
Wht |
Injector A – LO3 |
S60 Cylinder #2 |
|
|
E-66 |
Wht |
Injector B – LO1 |
S60 Cylinder #5 |
|
|
E-67 |
Wht |
Injector B – LO2 |
S60 Cylinder #6 |
|
|
E-68 |
Wht |
Injector B– LO3 |
S60 Cylinder #4 |
Section 17.1.2.2
VIH Connector and Typical Required Functions
The VIH 68-pin Tyco connector pinout for the Series 60 is listed in Table "Series 60 VIH Connector On-highway Trucks – Pins V-1 – V-31" and Table "Series 60 VIH Connector On-highway Trucks – Pins V-32 – V-68" .
|
Pin |
Wire Color |
Signal Type |
Function |
Req/ Typical |
Connector |
|
V-1 |
Dk Grn/Blk |
Digital Output - Low Side |
AWL |
Required |
![]() Shroud Side of Connector |
|
V-2 |
Blk/Yel |
Digital Output - Low Side |
RSL |
Required |
|
|
V-3 |
Wht/Dk Grn |
Analog Input - 1.5k Pull-up |
Service Brake Released |
Required |
|
|
V-4 |
Blk/Lt Blu |
Digital Output - Low Side |
Fan Control #1 |
Typical: Fan |
|
|
V-5 |
Blk/Lt grn |
Digital Output - Low Side |
Top2 Shift Solenoid |
Typical: Top2 |
|
|
V-6 |
Blk/Orn |
Digital Output - Low Side |
Top2 Lockout Solenoid |
Typical: Top2 |
|
|
V-7 |
Blk/Wht |
Digital Output - Low Side |
Vehicle Power Shtdn |
Typical |
|
|
V-8 |
Wht/Orn |
Analog Input - 1.5k Pull-up |
Resume/Accel |
Typical: CC |
|
|
V-9 |
Ppl/Wht |
Analog Input - 1.5k Pull-up |
Cruise Enable |
Typical: CC |
|
|
V-10 |
Lt Grn/Wht |
Analog Input - 1.5k Pull-up |
Clutch Released |
Typical: CC |
|
|
V-11 |
Yel/Red |
Sensor Supply #1 |
Sensor Supply #1 |
Required |
|
|
V-12 |
Wht/ Red |
Sensor Supply #2 |
Sensor Supply #2 |
Required |
|
|
V-13 |
Lt Blu/Yel |
Analog Input - 300k Pull-down |
Throttle Position |
Required |
|
|
V-14 |
Ppl/Yel |
Analog Input - 300k Pull-down |
VSG or No Function |
Typical |
|
|
V-15 |
Pnk |
Ignition |
Ignition |
Required |
|
|
V-16 |
Red/Wht |
Analog Input - 1.5k Pull-up |
Idle Validation |
Required |
|
|
V-17 |
Lt Blu/ Orn |
Frequency Input (+) VSS |
Vehicle Speed (+) |
Required |
|
|
V-18 |
Lt Blu/ Blk |
Frequency Input (-) VSS |
Vehicle Speed (-) |
Required |
|
|
V-19 |
— |
No Connection |
No Connection |
No Conn |
|
|
V-20 |
— |
No Connection |
No Connection |
No Conn |
|
|
V-21 |
— |
No Connection |
No Connection |
No Conn |
|
|
V-22 |
Yel/Lt Blu |
Analog Input – 51k Pull-down |
Air Filter Restriction |
Typical: MAS |
|
|
V-23 |
Yel/Dk Grn |
Analog Input - 1.5k Pull-up |
Exhaust Temp (Bus/Coach) |
Typical |
|
|
V-24 |
Dk Grn/Wht |
Analog Input - 1.5k Pull-up |
SEO/Diag Request |
Required |
|
|
V-25 |
Grey/Wht |
Analog Input - 1.5k Pull-up |
A/C Status |
Typical: Fan |
|
|
V-26 |
Yel/Lt Grn |
Analog Input - 1.5k Pull-up |
Engine Brake Disable |
Typical |
|
|
V-27 |
Yel/Wht |
Analog Input - 1.5k Pull-up |
Turbo Compressor In Temp |
Required |
|
|
V-28 |
— |
No Connection |
No Connection |
No Conn |
|
|
V-29 |
Wht/Yel |
Analog Input – 51k Pull-down |
Exhaust Back Press or Water Pump Press or Air Compress Press |
Typical |
|
|
V-30 |
— |
No Connection |
No Connection |
No Conn |
|
|
V-31 |
Tan |
Frequency Output |
Tachometer |
Typical |
|
Pin |
Wire Color |
Signal Type |
Function |
Req/ Typical |
Connector |
|
V-32 |
Dk Blu/Orn |
Frequency Input (+) Aux 1 |
Spare |
— |
|
|
V-33 |
Dk Blu/Blk |
Frequency Input (-) Aux 1 |
Spare |
— |
|
|
V-34 |
— |
No Connection |
No Connection |
No Conn |
![]() Shroud Side of Connector |
|
V-35 |
— |
No Connection |
No Connection |
No Conn |
|
|
V-36 |
— |
No Connection |
No Connection |
No Conn |
|
|
V-37 |
Orn/Yel |
Analog Input – 120k Pull-up |
Add Coolant Level |
Typical: MAS |
|
|
V-38 |
Lt Gr/Yel |
Analog Input – 120k Pull-up |
Coolant Level Shtdn |
Req |
|
|
V-39 |
Lt Blu/Wht |
Analog Input – 1.5k Pull-up |
Engine Brake Low |
Typical: Jake |
|
|
V-40 |
Orn/Blk |
Digital Output – Low Side |
OI Alarm |
Typical: OI |
|
|
V-41 |
Dk Grn/Yel |
Analog Input – 1.5k Pull-up |
Aux Shtdn #1 |
— |
|
|
V-42 |
Grey/Yel |
Analog Input – 1.5k Pull-up |
OI Thermostat |
Typical: OI |
|
|
V-43 |
Dk Blu/Red |
J1939+ |
J1939+ |
Req |
|
|
V-44 |
Dk Blu/Yel |
J1939S |
J1939 Shield |
Required |
|
|
V-45 |
— |
No Connection |
No Connection |
No Conn |
|
|
V-46 |
Dk Grn/Brn |
PWM Output - Low Side |
Variable Speed Fan |
— |
|
|
V-47 |
Wht/Lt Blu |
Analog Input - 1.5k Pull-up |
Set/Coast |
Typical; CC |
|
|
V-48 |
Tan/ Yel |
Analog Input - 1.5k Pull-up |
Throttle Inhibit |
Typical |
|
|
V-49 |
Pink/Wht |
Analog Input - 1.5k Pull-up |
Fan Control Override |
Typical |
|
|
V-50 |
Tan/ Wht |
Analog Input - 1.5k Pull-up |
Park Brake |
Typical |
|
|
V-51 |
Dk Blu/Wht |
Analog Input - 1.5k Pull-up |
Engine Brake Medium |
Typical: Jake |
|
|
V-52 |
Dk Grn/Orn |
PWM Output Low Side |
Trans % Load |
— |
|
|
V-53 |
Blk/Red |
Digital Output - Low Side |
Ether Start |
— |
|
|
V-54 |
Blk/Pnk |
Digital Output - Low Side |
OI Starter |
Typical: OI |
|
|
V-55 |
Lt Grn/Blk |
Digital Output - Low Side |
OI Active Lamp |
Typical: OI |
|
|
V-56 |
Dk Grn/ Grey |
J1587 (+) |
J1587 (+) |
Required |
|
|
V-57 |
Dk Grn |
J1587(-) |
J1587 (-) |
Required |
|
|
V-58 |
Dk Blu |
J1939 (-) |
J1939 (-) |
Required |
|
|
V-59 |
Dk Blu |
Sensor Return #2 |
Sensor Return |
Required |
|
|
V-60 |
Yel/ Blk |
Sensor Return #1 |
Sensor Return |
Required |
|
|
V-61 |
Red/Blk |
Battery (+) |
+12V / +24V |
Required |
|
|
V-62 |
Red/ Lt Blu |
Battery (+) |
+12V / +24V |
Required |
|
|
V-63 |
Brn/Blk |
Battery (-) |
Ground |
Required |
|
|
V-64 |
Brn/ Lt Grn |
Battery (-) |
Ground |
Required |
|
|
V-65 |
Red/ Lt Grn |
Battery (+) |
+12V / +24V |
Required |
|
|
V-66 |
Red/ Pnk |
Battery (+) |
+12V / +24V |
Required |
|
|
V-67 |
Brn/Wht |
Battery (-) |
Ground |
Required |
|
|
V-68 |
Brn/Yel |
Battery (-) |
Ground |
Required |
Section 17.1.3
Sensors
The DDEC V system is designed to operate with several types of sensors
The sensors integrated into the Engine Harness are factory-installed. The sensors integrated into the Vehicle Interface Harness are installed by the OEM.
Section 17.1.4
Factory-installed Sensors
The sensors integrated into the factory-installed Engine Harness are listed in Table "Function of Factory-Installed Sensors" . Some DDEC sensors are used with optional features.
|
Sensor |
Function |
|
Barometric Pressure Sensor (Baro Sensor) |
Senses barometric pressure. |
|
EGR Delta Pressure Sensor |
Senses EGR pressure for EGR control. |
|
EGR Temperature Sensor |
Senses EGR temperature for EGR control. |
|
Engine Coolant Temperature Sensor (CTS/ECT Sensor) |
Senses coolant temperature for functions such as engine protection, fan control and engine fueling. |
|
Engine Oil Level (OLS/EOL Sensor) |
Detects oil level at four quarts low. Used in the Maintenance Alert System. |
|
Engine Oil Pressure Sensor (OPS/EOP Sensor) |
Senses gallery oil pressure for functions such as engine protection. |
|
Engine Oil Temperature Sensor (EOT Sensor) |
Senses oil temperature for functions such as reducing variation in fuel injection and fan control. |
|
FRS/Fuel Restriction Sensor |
Detects fuel restriction for replacement of fuel filter. Used in Maintenance Alert System. |
|
Intake Air Temperature Sensor (IAT Sensor) |
Senses air temperature for functions such as fan control and engine fueling. |
|
Intake Manifold Pressure Sensor (TBS/IMP Sensor) |
Senses turbo boost for functions such as smoke control and engine protection. |
|
Mass Air Flow Sensor (MAF Sensor) |
Measures EGR flow rate. |
|
Synchronus Reference Sensor (SRS/CMP) |
Indicates a specific cylinder in the firing order. |
|
Supply Fuel Temperature Sensor (FTS/SFT Sensor) |
Senses fuel temperature for functions such as engine fueling. |
|
Timing Reference Sensor (TRS/CKP) |
Senses crankshaft position and engine speed for functions such as fuel control strategy. |
|
Turbo Compressor Temperature Out Sensor |
Senses turbo out air temperature. |
|
Turbo Speed Sensor (TSS) |
Senses turbo speed for overspeed conditions. |
Section 17.1.5
Barometric Pressure Sensor
The Barometric Pressure Sensor senses barometric pressure for EGR control. See Figure "Barometric Pressure Sensor " .

Figure 5. Barometric Pressure Sensor
Section 17.1.6
EGR Delta Pressure Sensor
The EGR Delta Pressure Sensor (EGR Delta P) senses EGR pressure for EGR control. See Figure "EGR Delta Pressure Sensor " .

Figure 6. EGR Delta Pressure Sensor
Section 17.1.7
EGR Temperature Sensor
The EGR Temperature Sensor senses EGR temperature for EGR control. See Figure "EGR Temperature Sensor " .

Figure 7. EGR Temperature Sensor
Section 17.1.8
Engine Coolant Temperature Sensor
The Engine Coolant Temperature Sensor, ECT, is a thermistor type sensor that has a variable resistance, when exposed to different temperatures. The CTS/ECT Sensor senses coolant temperature. See Figure "Engine Coolant Temperature Sensor " for the CTS/ECT Sensor.

Figure 8. Engine Coolant Temperature Sensor
Section 17.1.9
Engine Oil Level Sensor
The Engine Oil Level Sensor, EOL, is factory installed at DDC and is incorporated into the DDC Engine Harness for applications which have the Maintenance Alert system (MAS). See Figure "Engine Oil Level Sensor " .

Figure 9. Engine Oil Level Sensor
Section 17.1.10
Engine Oil Pressure Sensor
The Engine Oil Pressure Sensor, EOP, is a variable capacitance sensor that produces a linear analog signal, indicating engine oil pressure. See Figure "Engine Oil Pressure Sensor " .

Figure 10. Engine Oil Pressure Sensor
Section 17.1.11
Engine Oil Temperature Sensor
The Engine Oil Temperature Sensor, EOT, is a thermistor type sensor that has a variable resistance, when exposed to different temperatures. See Figure "Engine Oil Temperature Sensor " .

Figure 11. Engine Oil Temperature Sensor
The ECU uses the EOT Sensor signal to determine the quantity and timing of fuel required to optimize starting over a range of temperatures. The EOT Sensor provides a signal to vary idle speed and injection timing resulting in improved cold starts and reduced white smoke. It also activates the engine protection, if the oil temperature exceeds the specified limits.
Section 17.1.12
FRS/Fuel Restriction Sensor
The FRS/Fuel Restriction Sensor monitors the condition of the fuel filter. The sensor is for applications which have the Maintenance Alert System (MAS). See Figure "FRS/Fuel Restriction Sensor" .

Figure 12. FRS/Fuel Restriction Sensor
Section 17.1.13
Intake Air Temperature Sensor
The Intake Air Temperature ATS/IAT Sensor, , is a thermistor type sensor that has a variable resistance, when exposed to different temperatures. The ATS/IAT Sensor provides necessary input for various functions such as varying hot idle speed, fan control, and injection timing which results in improved cold starts and reduced white smoke. See Figure "Intake Air Temperature Sensor" .

Figure 13. Intake Air Temperature Sensor
Section 17.1.14
The Intake Manifold Pressure Sensor
The Intake Manifold Pressure Sensor (IMP Sensor) provides data to the ECM/ECU for use in engine fueling (smoke control). See Figure "The Intake Manifold Pressure Sensor" for the sensor used in on-highway applications.

Figure 14. The Intake Manifold Pressure Sensor
Section 17.1.15
Synchronous and Timing Reference Sensors
The Synchronous Reference Sensor (SRS or CMP) indicates a specific cylinder in the firing order.
The Timing Reference Sensor (TRS or CKP) is a variable reluctance type sensor that indicates crank position of every cylinder. The TRS tells the ECM where the position of the crankshaft is or when to fuel each cylinder.
See Figure "SRS and TRS" for the Series 60 engine TRS and SRS.
