Section 2.2
Transfer Pump
The transfer pump draws fuel from the fuel tank through a cartridge filter and delivers it to the Bosch injector pump. See Figure "Transfer Pump Location" .

|
1.Injector Pump |
2.Transfer Pump |
Figure 1. Transfer Pump Location
Section 2.2.1
Repair or Replacement of Transfer Pump
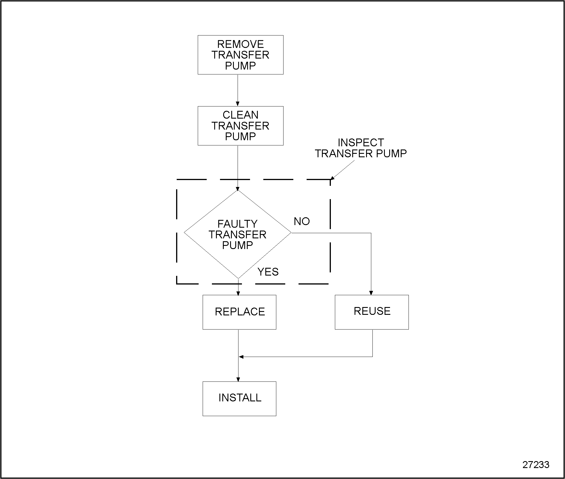
To determine if repair is possible or replacement of the transfer pump is necessary, perform the following procedure. See Figure "Flowchart for Repair or Replacement of Transfer Pump" .

Figure 2. Flowchart for Repair or Replacement of Transfer Pump
Section 2.2.2
Removal of Transfer Pump
Remove transfer pump as follows:
- Disconnect fuel inlet and outlet hoses.
- Remove two transfer pump mounting nuts.
- Remove transfer pump and gasket from cylinder block.
Section 2.2.3
Cleaning of Transfer Pump
Clean transfer pump as follows:
- Clean transfer pump and related parts with clean fuel oil.
To avoid personal injury when blow drying, wear adequate eye protection (safety glasses or face plate) and do not exceed 276 kPa (40 lb/in. 2 ) air pressure.
- Dry transfer pump and related parts with compressed air.
Section 2.2.3.1
Inspection of Transfer Pump
Inspect transfer pump as follows:
- Visually check the transfer pump for leaks or cracks.
- If any leaks or cracks are found, replace the transfer pump. Refer to "2.2.4 Installation of Transfer Pump" .
- If no leaks or cracks are found, proceed with step 2 of inspection.
- Visually check the transfer pump linkage for binding or cracks.
- If any binding or cracks are found, replace the transfer pump. Refer to "2.2.4 Installation of Transfer Pump" .
- If no binding or cracks are found, reuse the transfer pump. Refer to "2.2.4 Installation of Transfer Pump" .
Section 2.2.4
Installation of Transfer Pump
Install transfer pump as follows:
- Install transfer pump and a new seal with two nuts to the cylinder block. Torque to 28 N · m (21 lb · ft).
- Connect fuel outlet and inlet hoses.
- Run the engine to verify repair.
| Series 638 Service Manual - 6SE648 |
| Generated on 10-13-2008 |