Section 16.4
Improper Valve Clearance or Injector Height, Worn or Damaged Camshaft Lobes and Rollers
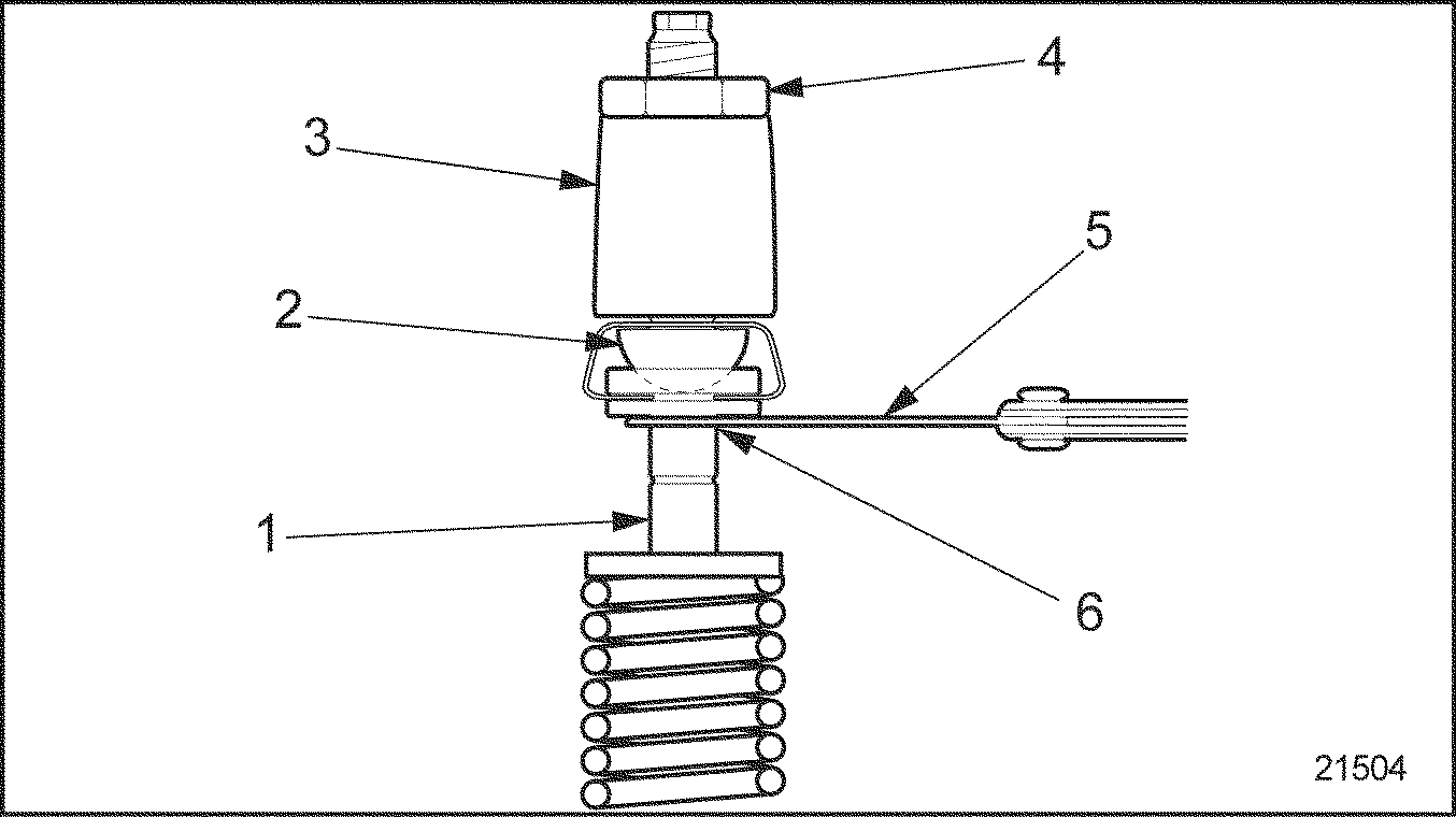
Intake valve clearance and injector height are adjusted by means of an adjusting set screw and locknut located at the valve (or injector) end of the rocker arm; see Figure "Valve and Fuel Injector Height Adjustment Components" .

|
1. Exhaust Valve |
6. Intake Valve |
|
2. Intake Valve |
7. Fuel Injector Follower |
|
3. Locknut |
8. Valve Button |
|
4. Adjusting Set Screw |
9. Exhaust Valve |
|
5. Exhaust Rocker Arm Assembly |
|
Figure 1. Valve and Fuel Injector Height Adjustment Components
Note: On engines equipped with a Jake Brake, measure valve lash and injector height before removing any brake housings. Only remove the brake housings necessary to provide access for adjustment.
NOTICE: |
|
Be sure the height gage seats on the machined surface with the tip in the pilot hole. Foreign material in the pilot hole or on the machined surface may prevent accurate setting of the injector height. |
The injector height is adjusted using the injector height gage, J 39697 (DDEC III) or J 35637-A (DDEC II). On engines equipped with a Jake Brake, move the handle on the injector height gage to the alternate position, 90° to the shank. A height gage pilot hole is provided in the fuel injector body on the machined surface contacted by the injector clamp near the solenoid; see Figure "Timing Gage" .

Figure 2. Timing Gage
To determine if improper valve clearance, injector height or both are causing the cylinder to misfire, perform the following preliminary step 1 through step 3 and repeat step 4 through step 9 for each cylinder to determine if worn or damaged lobes or rollers are causing the engine to misfire:
- Disconnect starting power for engine.
- Remove valve rocker cover(s); refer to "1.6.2 Cleaning and Removing of Two-piece Rocker Cover-Diesel Engines Only" .
- Insert a 3/4 in. drive breaker bar or ratchet into the square hole in the center of the crankshaft pulley.
- Bar the engine over and inspect camshaft and rollers for wear or damage. Stop engine rotation when any one of the injector followers has just begun its downward stroke; see Figure
"Injector Followers Downward Stroke"
.

1. Injector Follower
4. Injector Cam Lobe
2. Injector Rocker Arm Assembly
3. Injector Roller
5. Point on the Camshaft Lobe that First Produces Downward Motion of the Injector Follower
Figure 3. Injector Followers Downward Stroke
- If damage is found on the camshaft lobes or rollers, stop this procedure and replace damaged components as necessary; refer to "1.22.2 Removal of Camshaft and Camshaft Bearing" l. Once complete, refer to "16.4.1.1 Verification of Repair for Improper Valve Clearance or Injector Height Setting" .
- If no damage was found to camshaft or rollers, continue with task.
- Using timing chart, see Figure
"Timing Circle Chart"
, determine if the intake valve clearances are acceptable (listed in Table
"Valve Clearance and Injector Height Settings"
), by inserting a feeler gage between the tip of the intake valve stem and the button; see Figure
"Intake Valve Clearance"
.
- If the intake valve stem clearance is between 0.127-0.280 mm (0.005-0.011 in.); refer to step 6 .
- If the intake valve stem clearance is not between 0.127-0.280 mm (0.005-0.011 in.), reset the intake valve(s) to 0.203 mm (0.008 in.), refer to "16.4.1 Improper Valve Clearance or Injector Height Repair" , step 1 .

Figure 4. Timing Circle Chart

1. Intake Valve
4. Locknut
2. Valve Button
5. Feeler Gage
3. Intake Rocker Arm Assembly
6. Tip of Intake Valve
Figure 5. Intake Valve Clearance
- Using timing chart, see Figure
"Timing Circle Chart"
, determine if the exhaust valve clearances are acceptable, (listed in Table
"Valve Clearance and Injector Height Settings"
) by inserting a feeler gage between the tip of the exhaust valve stem and the button; see Figure
"Exhaust Valve Clearance"
.
- For exhaust valves with a machined groove between the rotator and tip, the exhaust valve stem clearance should be between 0.584-0.736 mm (0.023-0.029 in.). If the exhaust valve stem clearance is between 0.584-0.736 mm (0.023-0.029 in.), proceed to step 7 For exhaust valves without a machined groove between the rotator and tip, the exhaust valve stem clearance should be between 0.432-0.584 mm (0.017-0.023 in.). If the exhaust valve stem clearance is between 0.432-0.584 mm (0.017-0.023 in.), perform to step 7 (for DDEC III) or step 8 (for DDEC II).
- If the exhaust valve stem clearance is not between 0.584-0.736 mm (0.023-0.029 in.) for exhaust valves with a machined groove between the rotator and tip, reset the valve(s) to 0.660 mm (0.026 in.); refer to step 7 (for DDEC III) or step 8 (for DDEC II).
- If the exhaust valve stem clearance is not between 0.432-0.584 mm (0.017-0.023 in.) for exhaust valves without a machined groove between the rotator and tip, reset the valve(s) to 0.508 mm (0.020 in.); refer to "16.4.1 Improper Valve Clearance or Injector Height Repair" , step 2 .

1. Location of Identification Groove
5. Locknut
2. Valve Button
6. Exhaust Rocker Arm Assembly
3. Allen Wrench
7. Feeler Gage
4. Adjusting Screw
8. Tip of Exhaust Valve
Figure 6. Exhaust Valve Clearance
Settings and Models
Acceptable Range
Recommended Setting
Injector Heights DDEC II (6067GT40, 6067WT40, 6067WU40, 6067GU40, 6063WU00, 6063GU00, 6067WU60, 6067GU60, 6063WU60, 6063W41, 6063GU41, 6063G00, 6063GU60, 6063WU00 and 6067GU91)
78.2 mm (3.078 in.)
78.2 mm (3.078 in.)
Injector Heights DDEC III (6067WK60, 6067WK28, 6067GK60, 6067GK28, 6063WK60, 6063WK28, 6063GK05 6063GK60, 6067GK40, 6067WK40, 6063GK32, 6063WK00 and 6063GK28)
78.8 mm (3.102 in.)
78.8 mm (3.102 in.)
Intake Valve Clearance
0.127-0.280 mm (0.005.-0.011 in.)
0.203 mm (0.008 in.)
Exhaust Valve Clearance "U'' (6067GT40, 6067WT40, 6067WU40, 6067GU40, 6063WU00, 6063GU00)
0.432 -0.054 mm (0.017-0.023 in.)
0.508 mm (0.020 in.)
Exhaust Valve Clearance "H'' (6067WU60, 6067GU60, 6067WK60, 6067GK60, 6067GK28, 6067WK28 6067GU91, 6063WU60, 6063GK05, 6063GK32, 6063GK60, 6063GU41, 6063GU60, 6063WK32, 6063WK60, 6063WU00, 6063WU41, 6063GU00, 6067GK40, 6067WK40, 6063WK28 AND 6063GK28)
0.584-0.736 mm (0.023-0.029 in.)
0.660 mm (0.026 in.)
Table 6. Valve Clearance and Injector Height Settings - If troubleshooting a DDEC III engine, place the small end of J 39697
in the hole provided in the injector body, with the flat of the gage toward the fuel injector plunger; see Figure
"Timing Gage"
.
- If the tool is flush against the follower, the injector height is acceptable ; refer to step 9 , see Figure "Fuel Injector Adjustment" .
- If the tool is not flush, adjust injector height; refer to "16.4.1 Improper Valve Clearance or Injector Height Repair" , step 3 .

1. Height Gage Flag
4. Adjusting Screw
2. Height Gage
5. Locknut
3. 3/16 in. Allen Wrench
6. Fuel Injector Follower
Figure 7. Fuel Injector Adjustment
- If troubleshooting a DDEC II engine, place the small end of J 35637-A
in the hole provided in the injector body, with the flat of the gage toward the fuel injector plunger.
- If the tool is flush against the follower, the injector height is acceptable ; refer to step 9 , see Figure "Fuel Injector Adjustment" .
- If the tool is not flush, adjust injector height; refer to "16.4.1 Improper Valve Clearance or Injector Height Repair" , step 3 .
- Bar the engine over, clockwise, until the fuel injector for the next cylinder begins its downward stroke; see Figure "Timing Circle Chart" . Repeat steps 5 through step 8 and repeat until all six fuel injectors and sets of valves have been checked and reset as necessary. When all cylinders have been checked, refer to "16.4.1 Improper Valve Clearance or Injector Height Repair" , step 4
Section 16.4.1
Improper Valve Clearance or Injector Height Repair
Perform the following steps to repair improper fuel injector height, intake valve clearance, and exhaust valve clearance.
Note: Using the steps below, it will be necessary to bar the engine over only two complete revolutions. Three cylinders will be adjusted for valves, and three cylinders will be adjusted for injectors on each revolution.
If required, remove Jake Brake housing necessary to provide access for repair; refer to "1.30.2 Removal of Jake Brake" .
NOTICE: |
|
Never set the valves and injector of the same cylinder at the same time. Doing this will result in engine damage. |
- Adjust the intake valve clearances as follows:
- Insert a 0.203 mm (0.008 in.) feeler gauge between the tip of one valve stem and the valve button; see Figure "Measurement of Intake Valve Clearance" .
- Loosen the locknut, and turn the adjusting set screw until the feeler gage produces a snug, smooth pull between the intake valve stem and valve button; see Figure "Measurement of Intake Valve Clearance" .
- Torque the locknut to 41-47 N·m (30-35 lb·ft) and remove the feeler gage. Reinsert the feeler gage to ensure that the adjustment did not change when the locknut was tightened. Readjust as necessary.

1. Intake Valve
4. Locknut
2. Valve Button
5. Feeler Gage
3. Injector Rocker Arm Assembly
6. Tip of Intake Valve
Figure 8. Measurement of Intake Valve Clearance
- Perform the following steps to adjust the exhaust valve clearances:
- Insert a 0.660 mm (0.026 in.) feeler gage for valves with a machined groove between the tip of the valve stem and the valve button. Insert a 0.508 mm (0.020 in.) feeler gage for valves without machined groove; see Figure "Exhaust Valve Clearance" .
- Loosen the locknut, and turn the adjusting set screw until the feeler gage produces a snug, smooth pull between the exhaust valve stem and the valve button.
- Torque the locknut to 41-47 N·m (30-35 lb·ft) and remove the feeler gage. Reinsert the feeler gage to ensure that the adjustment did not change when the locknut was tightened. Readjust as necessary.
- Perform the following steps to adjust fuel injector heights.
- For DDEC III engines, place the small end of the height gage, J 39697 , in the hole provided in the fuel injector body, with the flat of the gage toward the fuel injector plunger; see Figure "Timing Gage" and proceed to step 3c .
- For DDEC II engines place the small end of the height gage, J 35637-A , in the hole provided in the fuel injector body, with the flat of the gage toward the fuel injector plunger.
- Loosen the locknut and turn the adjusting set screw until the extended part (flag) of the gage will just pass over the top of the injector follower. A snug feel is recommended. The objective is to adjust all six injectors to the same feel, see Figure "Measurement of Intake Valve Clearance" .
- Torque the locknut to 41-47 N·m (30-35 lb·ft).
- Check the adjustment with the height gage, J 39697 (DDEC III engines) J 35637-A (DDEC II engines), and if necessary, readjust the set screw.
- Install the valve rocker cover(s); refer to "1.6.6 Pre-installation of Rocker Cover Base" .
- Install Jake Brakes, if removed. Refer to "1.30.5 Installation of the Jake Brake" .
- Reconnect starting power to the engine.
- Verify improper clearance repair or injector height setting repair; refer to "16.4.1.1 Verification of Repair for Improper Valve Clearance or Injector Height Setting" .
Section 16.4.1.1
Verification of Repair for Improper Valve Clearance or Injector Height Setting
Perform the following to determine if valve clearance or injector height adjustment resolved the misfiring cylinder condition:
- Start the engine.
- Run the engine at 1000 r/min.
- Listen for misfiring cylinder.
- If the engine is not misfiring, shut down the engine. No further troubleshooting is required.
- If the engine is misfiring, shut down the engine and check for faulty fuel injector; refer to "16.5 Faulty Fuel Injector" .
| Series 50 Service Manual - 6SE50 |
| Generated on 10-13-2008 |