Section 2.3
Electronic Unit Injector
The Electronic Unit Injector (EUI) is a lightweight, compact unit that injects diesel fuel directly into the combustion chamber. See Figure "Electronic Unit Injector Cross Section " . The amount of fuel injected and the beginning of injection timing is determined by the ECM. The ECM sends a command pulse which activates the injector solenoid. The EUI performs four functions:
- Creates the high-fuel pressure required for efficient injection.
- Meters and injects the exact amount of fuel required to handle the load.
- Atomizes the fuel for mixing with the air in the combustion chamber.
- Permits continuous fuel flow for component cooling.
Engine combustion is obtained by injecting, under pressure, a small quantity of accurately metered and finely atomized fuel oil into the cylinder. Metering and timing of the fuel is accomplished by the ECM which actuates the solenoid poppet valve to stop the free flow of fuel through the injector. When the solenoid poppet valve closes, fuel is trapped in the injector body and under the plunger. The continuous fuel flow through the injector prevents air pockets in the fuel system and cools those injector parts subjected to high combustion temperatures.
Note: Do not test new or reliabilt® remanufactured electronic unit injectors prior to installation in the engine. The Kent-Moore® POP stand should be only be used as a diagnostic tool on fuel injectors that have been removed from an engine.

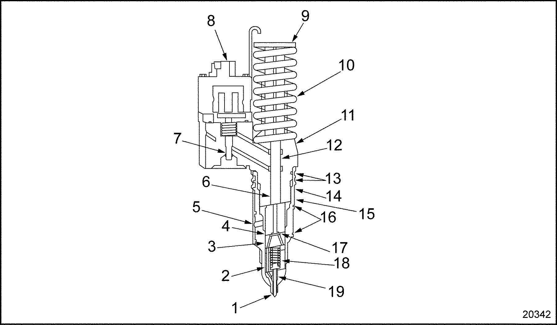
|
1. Spray Tip |
11. Injector Body |
|
2. Spring Cage |
12. Plunger |
|
3. Check Valve Cage |
13. Upper O-ring Grooves and Seals |
|
4. Spacer |
14. Fuel Outlet Openings |
|
5. Fuel Inlet Opening |
15. Injector Nut |
|
6. Fuel Supply Chamber |
16. Lower O-rings Grooves and Seals |
|
7. Poppet Control Valve |
17. Flat Disk Check Valve |
|
8. Solenoid |
18. Injector Needle Valve Spring |
|
9. Injector Follower |
19. Needle Valve |
|
10. Injector Follower Spring |
|
Figure 1. Electronic Unit Injector Cross Section
Fuel enters the injector through the two fuel inlet filter screens located around the injector body. See Figure "Electronic Fuel Injector" . Filter screens are used at the fuel inlet openings to prevent relatively coarse foreign material from entering the injector.

Figure 2. Electronic Fuel Injector
After entering the nut cavity, the fuel passes through a drilled passage into the poppet control valve and plunger area. See Figure "Electronic Unit Injector Cross Section " .
Outlet openings, through which the excess fuel oil returns to the fuel return manifold and then back to the fuel tank, are located around the injector nut. See Figure "Fuel Outlet Openings in the Fuel Injector Body" .

Figure 3. Fuel Outlet Openings in the Fuel Injector Body
The plunger operates up and down in the body bore of the injector. The motion of the injector rocker arm is transmitted to the plunger and follower that bears against the follower spring.
As the piston moves approximately two-thirds of the way up in the cylinder on the compression stroke, the injector cam lobe begins to lift causing the injector rocker arm to push down on the follower and the plunger. Just before injection begins, the ECM sends an electronic pulse which turns on the injector solenoid. The energized solenoid creates a magnetic force which pulls the armature up, closing the poppet valve and trapping fuel under the plunger and passages leading down to the needle valve. The fuel pressure increases as the plunger continues its downward stroke.
A flat disk check valve is built into the injector fuel passages between the plunger and the tip. This check valve normally has no effect on the injection process but will function to prevent cylinder gases from blowing back into the injector and fuel system if a particle of debris should become lodged between the needle and seat or the tip assembly fails.
This fuel pressure acts on the needle valve. When it creates a force high enough to overcome the valve spring force holding the needle on its seat, the needle valve moves up, allowing the high pressure fuel to spray into the combustion chamber. The high pressure of the fuel passing through the small holes in the tip creates a finely atomized spray for combustion within the cylinder.
After the pulse width time has passed, the ECM turns off the current to the injector solenoid. The de-energized solenoid allows a spring to open the poppet valve, permitting the trapped fuel to spill down, dropping the pressure within the injector. When the pressure is low enough the needle valve closes and ends injection.
The beginning of injection and metering of the fuel in relation to the crankshaft position are controlled by the ECM. Injection begins soon after the poppet valve is closed. The valve closing point information, known as the response time feedback, is returned to the ECM. This information is used to monitor and adjust injection timing, thus removing injector-to-injector variation influences on timing. The amount of fuel injected depends on the pulse width stored in the calibration which determines how long the poppet valve remains closed; the larger the pulse width the longer the valve is closed and the more fuel is injected.
When the injector rocker arm has completed its downward travel the injector follower spring returns it to the starting position. As the plunger moves up fuel enters the injector pumping cavity for another injection cycle. The constant circulation of fuel through the injector renews the fuel supply in the chamber and aids the cooling of the injector.
Section 2.3.1
Repair or Replacement of Electronic Unit Injector
To determine if repair is possible or replacement is necessary perform the following procedure. See Figure "Flowchart for Repair or Replacement of EUI" .

Figure 4. Flowchart for Repair or Replacement of EUI
Section 2.3.2
Removal of Unit Injector
The following steps must be performed prior to removing an injector:
Note: The solenoid can be replaced without removing the injector. Refer to "2.3.4 Replacement of Fuel Injector Solenoid and Seals" .
- Clean the valve rocker cover around its seat on the head, and in the attaching bolt recesses.
- Remove the valve rocker cover. Refer to "1.6.2 Cleaning and Removing of Two-piece Rocker Cover-Diesel Engines Only" .
- Drain the cylinder head fuel gallery by removing the fuel gallery plugs.
Note: Loosening the fuel line at the inlet fitting will allow fuel to flow faster. Carefully collect the drained fuel in an appropriate container.

EYE INJURY
To avoid injury from flying debris when using compressed air, wear adequate eye protection (face shield or safety goggles) and do not exceed 276 kPa (40 psi) air pressure.
NOTICE:
All the fuel must be removed from the cylinder head before removing an injector to prevent the fuel from entering the cylinder and causing hydrostatic lock or washdown. If the head is not thoroughly purged of fuel before an injector is removed, fuel remaining in the fuel manifold will drain into the cylinder filling the piston dome recess. It cannot drain from the dome and, if not removed, can cause hydrostatic lock and bend the connecting rod.
- Remove the inlet and outlet lines from the fittings at the rear of the cylinder head. Blow low pressure compressed air into the inlet fitting for 20 to 30 seconds or until all of the fuel is purged from the cylinder head. See Figure
"Cylinder Head Fuel Fitting Locations"
.
Note: Front and rear rocker shaft assemblies look identical but are not interchangeable because of different bolt hole center distances. The outboard end of each rocker shaft assembly is marked with the DDC logo for identification. Care should be taken to identify and return assemblies to the proper location if both overhead assemblies are removed.

Figure 5. Cylinder Head Fuel Fitting Locations
- Remove the two rocker shaft thru-bolts and one nut for each rocker shaft assembly, and lift the rocker shaft assembly off the engine as outlined in the first section of this manual. Refer to "1.3.2 Removal of Rocker Arm Assembly" , step 3.
To remove the injector, complete the following steps:
NOTICE: |
|
Do not remove the screws from the injector. The terminal wires have keyhole slots to fit over the screw head. Turning the screws will damage the threads in the solenoid housing. |
- Loosen the injector wire terminal screws two full turns and remove the terminal wires.
- Remove injector hold down crab.
NOTICE:
Extreme care should be used when handling an EUI to avoid costly damage by dropping or otherwise mishandling the EUI.
Note: When replacing an EUI, always replace the injector O-rings.
- Lift the injector from its seat in the cylinder head by inserting a pry bar under the injector body. See Figure
"Removing EUI"
.

Figure 6. Removing EUI
NOTICE:
Avoid wire brushing the spray holes to prevent damage.
- Cover the injector hole in the cylinder head to keep out foreign material. Remove carbon from the injector exterior in the area where the tip joins the nut, using wire buffing wheel, J 7944 .
Section 2.3.3
Disassembly of Electronic Unit Injector
On a Series 50 EUI, only the injector solenoid and seal rings are serviceable. The injector must not be disassembled.
Section 2.3.3.1
Inspection of Electronic Unit Injector
The solenoid can be tested either on or off of the injector.
To clean and inspect the injector, complete the following steps:
|
EYE INJURY |
|
To avoid injury from flying debris when using compressed air, wear adequate eye protection (face shield or safety goggles) and do not exceed 276 kPa (40 psi) air pressure. |
- Clean the exterior of the injector with clean solvent and dry it with compressed air.
Note: Do not test new or reliabilt® remanufactured electronic unit injectors prior to installation in the engine. The Kent-Moore® POP stand should be only be used as a diagnostic tool on fuel injectors that have been removed from an engine.
- Test the EUI using J 34760 part of J 34760–147A injector pop-n-fixture. Follow procedures supplied with this tool. Reuse or replace injector or injector and solenoid as indicated. Discard O-rings and replace with new.
- Inspect the fuel injector tubes at the injector seat. If required, replace the fuel injector tubes.
Section 2.3.4
Replacement of Fuel Injector Solenoid and Seals
Perform the following steps for solenoid replacement:
- Loosen the injector wire terminal screws two turns and remove terminal wires.
- Loosen four hex head screws and remove old solenoid. See Figure
"EUI Solenoid Assembly"
.

1. Spacer Seals
4. Screw
2. Solenoid
5. Follower Retainer
3. Load Plate
6. Spacer
Figure 7. EUI Solenoid Assembly
- This step is different depending on the DDEC unit used:
- For DDEC II, discard the solenoid, load plate, follower retainer, and screws. Do not reuse old screws.
- For DDEC III, discard the solenoid, follower retainer, and screws. Do not reuse old screws. The load plate must be reused.
- Remove spacer and seals from injector body.
NOTICE:
The spacer is a matched component with the armature and must remain with its respective injector.
- Discard seals, but do not discard spacer.
- Install new seal in spacer groove and position spacer on body with seal facing down. See Figure "EUI Solenoid Assembly" . Seal may be retained in groove with small quantity of grease.
- Install new seal in solenoid groove.
- Install solenoid on spacer.
NOTICE:
The load plate on each DDEC III injector is unique and must remain with the injector. The DDEC III load plate carries the injector part number, it's injector serial number in bar code format, and the injector calibration code number.
- Install new screws through load plate and follower retainer, solenoid, and spacer.
- Thread screws into body and torque all screws until heads contact retainer and load plate with a slight force of 0.6 N·m (5 lb·in.). See Figure
"EUI Solenoid Torque Sequence"
.

Figure 8. EUI Solenoid Torque Sequence
- Torque screws to 2 N·m (19 lb· in.) in the sequence shown. See Figure "EUI Solenoid Torque Sequence" .
- On DDEC II injectors only, etch the last four digits of injector part number on the load plate. See Figure "EUI Solenoid Torque Sequence" .
Section 2.3.5
Installation of the Electronic Unit Injector
Perform the following steps to install the EUI:
- If the fuel system is contaminated with coolant, perform the following:
- Drain the fuel tanks and refill with clean fuel.
- Replace both filters with new filters, and clean the fuel/water separator, if equipped.
- If the coolant system is contaminated with fuel, flush and reverse flush the system. Refer to "13.5.4 Cooling System"
.

EYE INJURY
To avoid injury from flying debris when using compressed air, wear adequate eye protection (face shield or safety goggles) and do not exceed 276 kPa (40 psi) air pressure.
NOTICE:
Leftover fuel must be removed from the injector bore before injector installation. If fuel is trapped between the top of the injector hole tube and the lower injector O-ring seal, it may seep down to the injector hole tube seal ring, causing swelling and possible seal leakage.
- Using clean compressed air, blow out any fuel remaining in the injector bore.
Note: If the engine is equipped with an auxiliary injector tube seal, replace it with a new seal when the injector is removed.
NOTICE:
Do not use a metal dowel as this may damage the seal.
NOTICE:
Injector seals are considered one-use items and cannot be reused. Any time an injector is removed, all three injector nut O-ring seals must be replaced with new seals. Failure to replace seals can result in seal leakage.
- Detroit Diesel encourages the use of an additional service seal (5104701) that is impervious to both coolant and fuel. This seal should be used in situations where injector tube seal leakage or deterioration is suspected or confirmed. Place the auxiliary seal in the injector hole and seat it against the top of the injector tube with a 41.3 mm (1-5/8 in.) diameter wood or plastic dowel.
- Check to make sure the injector bore is thoroughly clean.
- Apply a thin coat of clean ethylene glycol to the injector seal rings and install them in the injector nut ring grooves. Make sure seals are properly seated.
- Insert the injector into its respective injector tube bore. Visually align the injector body for equal clearance between valve springs (there is no locating dowel pin on the underside of the EUI). After locating the injector, press down on the top of the injector body with the heel of your hand to seat it in the injector tube.
Note: Before installing injectors, the injector tube bore should be cleaned refer to "2.4.3 Cleaning of Injector Tube" and inspected for any damage.
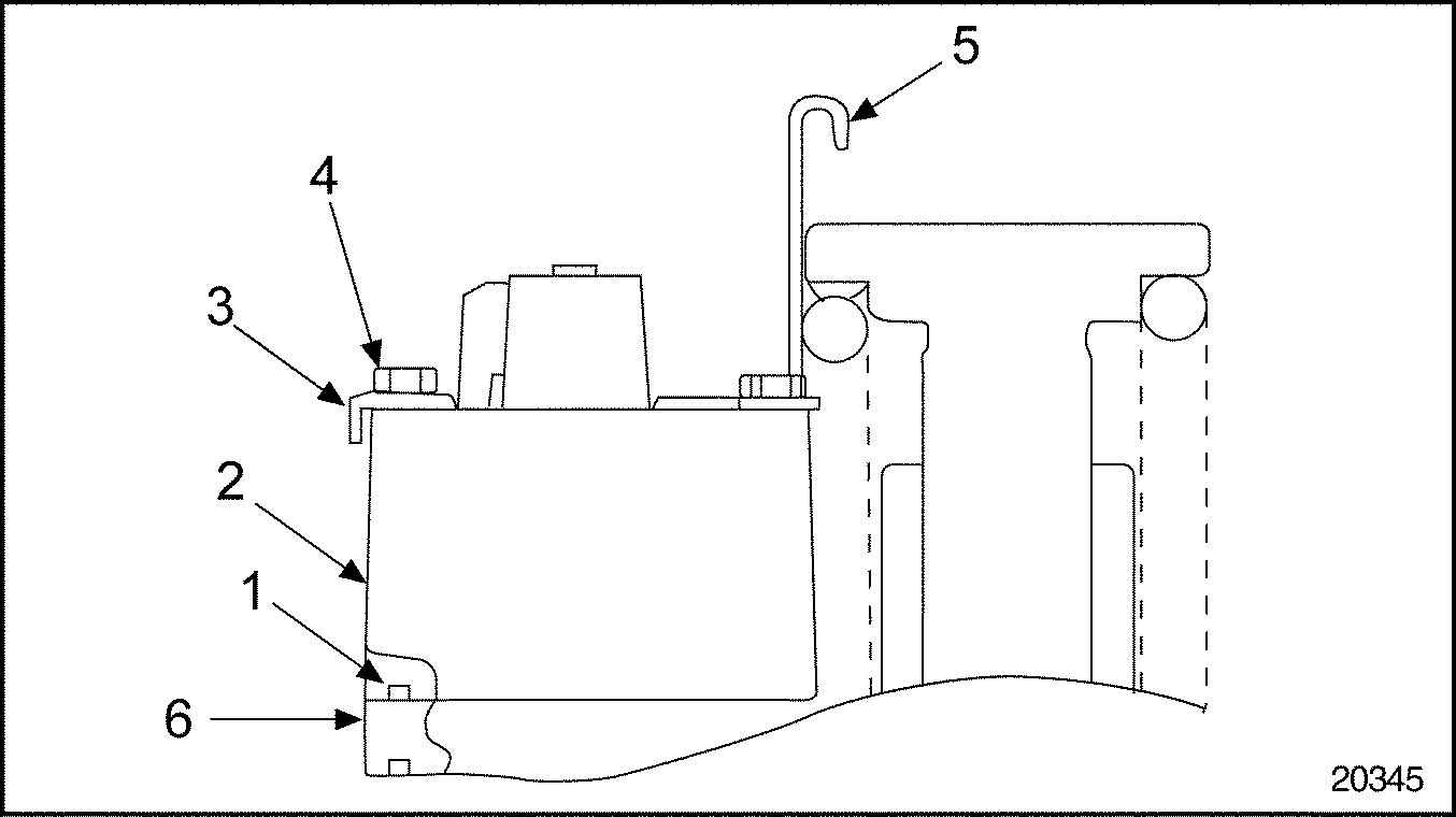
- Install the hold down crab, hemispherical crab washer (flat surface up against bolt) and hold down bolt to the injector. See Figure
"Hold-down Crab Washer Installation"
. Be sure that the clamp does not interfere with the injector follower spring or valve springs.
NOTICE:
The hemispherical portion of the hold-down crab washers must be installed facing the crab (pointing down) in order to prevent damage to the washers. See Figure "Hold-down Crab Washer Installation" .
- Torque the hold down bolt to 58-66 N·m (43-49 lb·ft).

Figure 9. Hold-down Crab Washer Installation
Perform the following steps for installation of the injector hold-down crab:
- Determine which type of hold-down crab needs to be installed by measuring the overall height between the crab and injector spring.
- Position a 0.762 mm (0.030 in.) feeler gage between the crab and injector spring on the side of the spring that faces the intake manifold.
NOTICE:
The hemispherical portion of the hold-down crab washers must be installed facing the crab (pointing down) in order to prevent damage to the washers. See Figure "Hold-down Crab Washer Installation" .
- Install the hold-down crab, hemispherical crab washer (flat surface up against bolt) and hold-down bolt to the injector. See Figure "Hold-down Crab Washer Installation" . Be sure that the clamp does not interfere with the injector follower spring or valve springs.
- Torque the hold down bolt to 58-66 N·m (43-49 lb·ft).
- If a former crab was installed, remove the feeler gage after torquing the bolt.

Figure 10. Hold-down Crab Washer Installation
Perform the following steps to complete the installation of the EUI:
- Install the EUI terminal wires by positioning the keyhole in the terminal over the screw in the injector solenoid housing. Pull the terminal end down so that the screw rests in the smaller slot in the terminal. Torque the terminal screws to 108-1.13 N·m (9.5-10.0 lb· in.). Do not bend the terminals down after installation. See Figure
"EUI Terminal Installation"
.

Figure 11. EUI Terminal Installation
Note: Front and rear rocker shaft assemblies look identical but are not interchangeable due to different bolt hole center distances. The outboard end of each rocker shaft assembly is marked with the DDC logo for identification. Care should be taken to identify and return assemblies to the proper location if both overhead assemblies were removed.
- Install the rocker arm shafts, with rocker arms in place. Refer to "1.3.4 Installation of Rocker Arm Shaft Assembly" .
- Adjust the intake and exhaust valve clearances and injector height. Refer to "12.2 Valve Lash, Injector Height (Timing) and Jake Brake
® Lash Adjustments" . - Install the inlet and outlet fuel lines to the fittings at the rear of the cylinder head.
- On DDEC III engines, record the injector calibration code from the load plate with the proper cylinder location.
- Install the valve rocker cover. Refer to "1.6.6 Pre-installation of Rocker Cover Base" .
- Turn the ignition on. Plug in DDR to DDL connector, and select injector calibration. View injector calibration to ensure injector calibration is correct for each cylinder. If not correct, select update injector calibration and set correctly.
| Series 50 Service Manual - 6SE50 |
| Generated on 10-13-2008 |