Section 2.12
Fuel Pump
Perform the following procedures for removal and installation of the fuel pump.
Section 2.12.1
Fuel Pump Removal
Remove the fuel pump as follows:
|
FIRE |
|
To avoid injury from fire, keep all potential ignition sources away from diesel fuel, including open flames, sparks, and electrical resistance heating elements. Do not smoke when refueling. |
- Disconnect the batteries.
- Open the fuel tank fill cap to release the pressure in the fuel system. Replace and tighten the cap.

PERSONAL INJURY
To avoid injury from the sudden release of a high-pressure hose connection, wear a face shield or goggles.
- Remove the fuel lines from the fuel pump. Discard the seal rings on the banjo fitting. See Figure
"Fuel Lines at the Fuel Pump"
.

1. Fuel Pump
3. Banjo (Hollow-Core) Bolt
2. Banjo Fittings
Figure 1. Fuel Lines at the Fuel Pump
Note: Catch any fuel that runs out of the fuel pump or the fuel lines.
- Remove the socket-head bolts attaching the fuel pump to the cylinder block. Discard the gasket.
- Slowly remove the fuel pump from the engine, taking care not to damage the spline shaft on the fuel pump.
- Discharge the fuel pump gasket.
Section 2.12.2
Fuel Pump Installation
Install the fuel pump as follows:
NOTICE: |
|
When inserting the fuel pump into the opening in the cylinder block directly behind the front camshaft cover, be careful not to damage the spline shaft of the pump. |
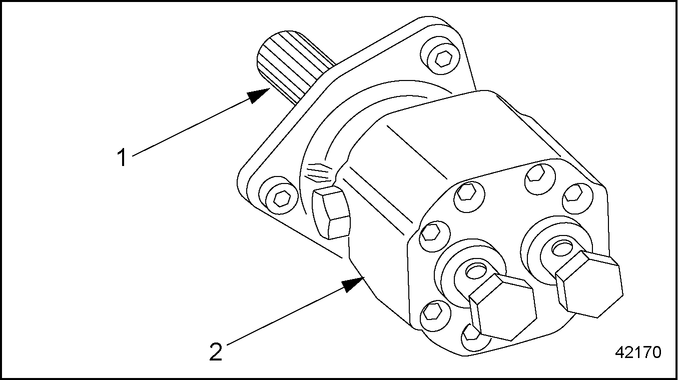
- Install the fuel pump on the cylinder block. See Figure
"Fuel Pump Shaft"
.

1. Spline Shaft
2. Fuel Pump
Figure 2. Fuel Pump Shaft
- Install a new gasket on the connection to the cylinder block.
- Work the spline shaft slowly and carefully into the opening in the cylinder block until it meshes with the camshaft drive gear.
- Install and tighten the three socket-head bolts that attach the fuel pump to the cylinder block. Tighten the socket-head bolts to 25 N·m (18 lb·ft).

PERSONAL INJURY
To avoid injury from the sudden release of a high-pressure hose connection, wear a face shield or goggles.
- Install the fuel lines, as removed. Install new seal rings on the banjo fittings. Tighten the banjo bolts to 40-50 N·m (30-37 lb·ft).
- Connect the batteries.

PERSONAL INJURY
Diesel engine exhaust and some of its constituents are known to the State of California to cause cancer, birth defects, and other reproductive harm.
- Always start and operate an engine in a well ventilated area.
- If operating an engine in an enclosed area, vent the exhaust to the outside.
- Do not modify or tamper with the exhaust system or emission control system.
- Prime the fuel system.
- With the engine running, check the fuel pump and the rest of the fuel system for leaks. Shut down the engine.
| MBE 4000 Service Manual - 6SE412 |
| Generated on 10-13-2008 |