Section 2.4
Fuel Injector Nozzle
Perform the following procedures for removal and installation of the fuel injector nozzle.
Section 2.4.1
Fuel Injector Nozzle Removal
Remove the fuel injector nozzle as follows:
- Remove the engine trim covers.
Note: The MBE 4000 engine has individual heads for each cylinder. To remove the injector nozzle for one cylinder, do these procedures step by step. To remove all the injector nozzles, repeat each step in these instructions, as applicable, for all six cylinders.
- Remove the cylinder head cover for each cylinder head, as required.
- Remove the charge-air manifold.

FIRE
To avoid injury from fire, keep all potential ignition sources away from diesel fuel, including open flames, sparks, and electrical resistance heating elements. Do not smoke when refueling.

FIRE
To avoid injury from fire caused by heated diesel-fuel vapors:
- Keep those people who are not directly involved in servicing away from the engine.
- Stop the engine immediately if a fuel leak is detected.
- Do not smoke or allow open flames when working on an operating engine.
- Wear adequate protective clothing (face shield, insulated gloves and apron, etc.).
- To prevent a buildup of potentially volatile vapors, keep the engine area well ventilated during operation.
- Remove the injector line. See Figure
"Fuel Injection System (exploded view)"
. Refer to "2.3.1 Removal of High Pressure Fuel Line and Transfer Tube"
.

1. Retaining Bolt
6. Constant-Throttle End Cover
2. Tensioning Arm
7. O-ring (transfer tube)
3. Nozzle
8. Transfer Tube
4. O-ring
9. Thrust Bolt
5. Heat Isolator
10. Injector Line
Figure 1. Fuel Injection System (exploded view)
- Remove the thrust bolt and the transfer tube. Discard the old O-ring.
Note: If the transfer tube is stuck in the cylinder head, use the injector unit pump puller (J–46375) to remove the transfer tube.
- Remove the tensioning arm.
- Attach the injector unit pump puller (J-46375) and adaptor (J-46384). Thread the narrow end of the adaptor onto the internal M8 threading in the head of the nozzle. Thread the impact extractor onto the wide end of the adaptor. See Figure
"Pulling the Nozzle"
.

1. Nozzle
3. Heat Isolator
2. O-ring
4. Constant-Throttle End Cover
Figure 2. Pulling the Nozzle
Note: Do not attempt to take apart the nozzle. If there is a problem, replace the nozzle.
- Using the impact extractor (J-46375), remove the nozzle from the cylinder head. Discard the O-ring and the heat isolator
.
NOTICE:
Pull the nozzle straight out of the cylinder head. Do not twist it, turn it, or use pliers. This could damage the nozzle.
- Remove the impact extractor (J-46375) and adaptor (J-46384) from the nozzle.
- Remove the O-ring and heat isolator from the nozzle holder and discard. If necessary, remove the heat isolator from the cylinder head using the heat isolator puller (J-46933).
- Install the end of the puller (J-46933) into the tip in the cylinder head. Turn the shaft of the tool to expand into the tip.
- Use the slide hammer on the puller tool and remove and discard the heat isolator.
- Cap off or cover the openings on the unit pump and nozzle to prevent contamination.
Section 2.4.2
Fuel Injector Nozzle Installation
Install the fuel injector nozzle as follows:
- Using a dial caliper, measure the length, of the tensioning arm
M10 retaining bolt, from the end of the bolt to the bottom of the flange. See Figure
"Measuring the Tensioning Arm
Retaining Bolt"
. The acceptable lengths are listed in Table
"M10 Tensioning Arm
Retaining Bolt, Length"
. Replace any bolt which does not meet these specifications.

1. Dial Caliper
3. Bottom of Flange
2. End of Retaining Bolt
Figure 3. Measuring the Tensioning Arm Retaining Bolt
Description
Length, mm (in.)
Shaft length when new
90.0 (3.54)
Maximum shaft length
91.0 (3.58)
Table 7. M10 Tensioning Arm Retaining Bolt, Length - Lubricate a new nozzle O-ring with a light coating of engine oil and install it on the nozzle.
- Using the heat isolator installer (J-46384), press the new heat isolator onto the nozzle.
- Position the new heat isolator over the nozzle.
- Place the receptacle from the heat isolator installer over the head of the nozzle holder and the pressure-fit cap over the heat isolator. See Figure
"Heat Isolator Installer Components (J-46393)"
and see Figure
"Pressure-Fitting the Heat Isolator onto the Nozzle"
.

Figure 4. Heat Isolator Installer Components (J-46393)
- Place this entire assembly in a vise and close the vise enough to pressure-fit the heat isolator around the nozzle.See Figure
"Pressure-Fitting the Heat Isolator onto the Nozzle"
.

1. Heat Isolator
3. Vise
2. Nozzle
Figure 5. Pressure-Fitting the Heat Isolator onto the Nozzle
- Open the vise and remove the two parts of the heat isolator installer from the nozzle holder. Check that the heat isolator is firmly pressed onto the nozzle.
Note: Take care that the nozzle holder is installed correctly and is aligned properly with respect to the transfer tube.
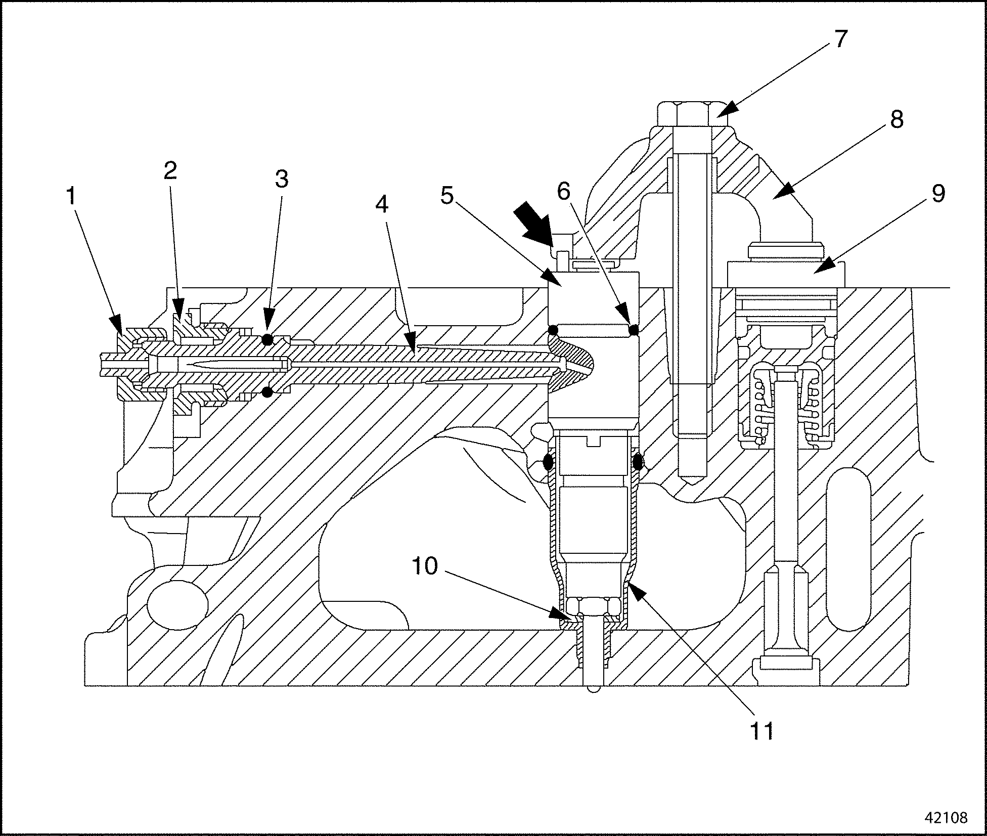
- Install the nozzle in the cylinder head. Align the notch in the tensioning arm with the pin on the top of the nozzle.See arrow in Figure
"Positioning the Nozzle"
.

1. Injector Line Fitting
7. Retaining Bolt
2. Thrust Bolt
8. Tensioning Arm
3. O-ring (transfer tube)
9. End Cover (Constant-Throttle)
4. Transfer Tube
10. Heat Isolator
5. Nozzle
11. Protective Sleeve
6. O-ring (nozzle)
Figure 6. Positioning the Nozzle
- Install the retaining bolt in the tensioning arm. Tighten the bolt 50 N·m (37 lb·ft).
Note: The tensioning arm insures the correct positioning of the nozzle.
- Lubricate a new transfer-tube O-ring with a light coating of engine oil and install it on the transfer tube.
Note: Do not tighten the thrust bolt until after the tensioning arm has been fully tightened to the correct torque value.
- Install the transfer tube in the cylinder head. Tighten the thrust bolt 45 N·m (33 lb·ft).
- Install the injector line. Refer to "2.3.2 Installation of High Pressure Fuel Injector Lines" .
- Install the charge-air manifold.
- Install the cylinder head cover(s), as removed.
- Install the engine trim covers.
| MBE 4000 Service Manual - 6SE412 |
| Generated on 10-13-2008 |