Section 17.7
Sensors
DDEC is designed to operate with several types of sensors as listed in Table "Sensor Types" .
|
Sensor Type |
Description |
|
Variable Reluctance/Magnetic Pick-up |
Used to monitor the crankshaft position, engine speed, turbo speed, and vehicle speed. |
|
Thermistor |
Used to monitor temperatures. |
|
Variable Capacitance |
Used to monitor manifold, and oil gallery pressures. |
|
Variable Resistance (Potentiometer) |
Used to sense throttle position. |
|
Switch |
Used to signal coolant level. |
The sensors integrated into the Engine Harness are factory-installed (refer to "17.7.1 Factory-installed Sensors" ). The sensors integrated into the Vehicle Interface Harness are installed by the OEM (refer to "17.7.2 OEM-installed Sensors" ).
Section 17.7.1
Factory-installed Sensors
The sensors integrated into the factory-installed Engine Harness are listed in Table "Function of Factory-installed Sensors" .
|
Sensor |
Function |
|
Camshaft Position Sensor (CMP Sensor) |
Indicates a specific cylinder in the firing order. |
|
Crankshaft Position Sensor (CKP Sensor) |
Senses crankshaft position and engine speed for functions such as fuel control strategy. |
|
DPF Inlet Pressure Sensor |
Sensor measures pressure between the Diesel Oxidation Catalyst (DOC) and the Diesel Particulate Filter (DPF) in the aftertreatment assembly located in the exhaust system of the vehicle. |
|
DPF Outlet Pressure Sensor |
Sensor measures pressure on the outlet of the after-treatment device in the exhaust system of the vehicle. Located after the DPF that is within the aftertreatment device. |
|
DPF Outlet Temperature Sensor |
Temperature measured at the outlet of the after-treatment system that is installed within the exhaust system of the vehicle. It's located after the DPF that is within the aftertreatment unit. |
|
DOC Inlet Temperature |
DOC Temperature In - Temperature measured at the inlet of the after-treatment device in the exhaust system of the vehicle. Located before the DOC that is within the after-treatment device. |
|
DOC Outlet Temperature |
Temperature measured between the DOC and the DPF in the aftertreatment assembly located in the exhaust system of the vehicle. |
|
EGR Delta Pressure Sensor EGR Delta P Sensor |
Senses EGR pressure for EGR control. |
|
EGR Temperature Sensor |
Senses EGR exhaust temperature after EGR cooler. Used for EGR system diagnosis. |
|
Engine Coolant Temperature Sensor (ECT Sensor) |
Senses coolant temperature for functions such as engine protection, fan control and engine fueling. |
|
Engine Oil Pressure Sensor (EOP Sensor) |
Senses gallery oil pressure for functions such as engine protection. |
|
Engine Oil Temperature Sensor (EOT Sensor) |
Senses oil temperature for functions such as reducing variation in fuel injection and fan control. |
|
Fuel Line Pressure Sensor |
Senses fuel line pressure |
|
Fuel Compensation Pressure Sensor |
Compensates fuel line pressure |
|
Intake Manifold Pressure Sensor (IMP Sensor) |
Senses turbo boost for functions such as smoke control and engine protection. |
|
Intake Manifold Temperature Sensor (IMT Sensor) |
Senses boost temperature |
|
Supply Fuel Temperature Sensor (SFT Sensor) |
Senses fuel temperature for functions such as engine fueling. |
|
Turbo Compressor Temperature Out Sensor |
Senses turbo out air temperature. |
|
Turbo Speed Sensor (TSS) |
Monitors turbo speed. |
|
Water-in-Fuel Sensor MBE 900 and DD15 Engine Only |
Detects water in the fuel filter that alerts the owner/driver that the fuel filter needs to be dried out. |
See Figure "Sensor Location for the DOC and DPF" for the location of the sensors for the DOC and DPF.

|
1. Dosing Fuel Line |
7. DOC Inlet Temperature Sensor |
|
2. Doser Block Assembly |
8. DOC Outlet Temperature Sensor |
|
3. Fuel Pressure Regulator |
9. Sensor Junction box |
|
4. Intake Throttle Valve |
10. DPF Outlet Temperature Sensor |
|
5. EGR Valve |
11. DPF Outlet Pressure Sensor |
|
6. Fuel Doser Valve |
12. DPF Inlet Pressure Sensor |
Figure 1. Sensor Location for the DOC and DPF
Section 17.7.2
OEM-installed Sensors
All sensors must be of the proper type and continuously monitor vehicular and environmental conditions, so the MCM can react to changing situations.
The OEM is responsible for installing the sensors listed in Table "Function and Guidelines for OEM-installed Sensors" .
|
Sensor |
Function |
|
Ambient Air Temperature Sensor (AAT Sensor) |
Senses ambient air temperature specifically for the Ambient Air Temperature Override Disable feature or for OI. Refer to "17.7.3 Ambient Air Temperature Sensor" . |
|
Engine Coolant Level Sensor (ECL Sensor) |
Senses coolant level for engine protection. Refer to "17.7.4 Engine Coolant Level Sensor" . |
|
Turbo Compressor In Temperature Sensor |
Senses the temperature of the turbo compressor inlet. |
|
Vehicle Speed Sensor (VSS) |
Senses vehicle speed for Cruise Control and Vehicle Speed Limiting. Refer to "17.7.8 Vehicle Speed Sensor" . |
* Available in some applications
Note: The OEM harness must be securely fastened every six (6) in. It is required that the harness be fastened within six (6) in. of the sensor.
Section 17.7.3
Ambient Air Temperature Sensor
The AAT Sensor is a thermistor type sensor with a variable resistance that produces an analog signal between 0 and 5 V, representing the temperature of the ambient air. The AAT Sensor (see Figure "Ambient Air Temperatures Sensor Dimensions" ) is used with the Idle Shutdown Timer, specifically for the Ambient Air Temperature Override Disable feature or for Optimized Idle. For additional information on these features refer to Chapter 5.
Note: This sensor is optional.

Figure 2. Ambient Air Temperatures Sensor Dimensions
Section 17.7.3.1
Ambient Air Temperature Sensor Installation
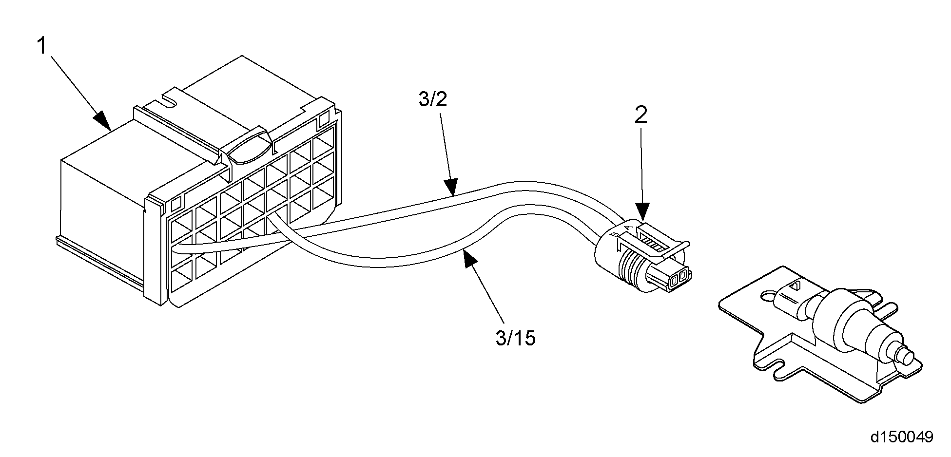
Install the AAT Senaor where ambient air temperature can be read. A protected location on the frame rails where it will not be splattered with dirt and grime and is removed from any heat source such as exhaust is preferred. See Figure "Ambient Air Temperature Sensor Installation" for AAT Sensor installation.

|
Label |
CPC Connector #3, 21–pin (1) |
Wire Color |
Ambient Air Temperature Connector (2) Cavity |
|
Sensor Return #1. |
3/2 |
YEL/BLK |
A |
|
Ambient Air Temp |
3/15 |
TAN/YEL |
B |
Figure 3. Ambient Air Temperature Sensor Installation
The parameter for the AAT Sensor are listed in Table "Ambient Air Temperature Sensor Parameters" .
|
Parameter Group |
Parameter |
Options |
Default |
Access |
|
31 |
Ambient Air Temp Sensor Enable |
0 – Not Available 1 – Hardwired 2 – Reserved for J1939 3 – J1587 4 – ECAN |
0 – Not Available |
VEPS, DRS 7.0 |
|
31 |
MID for Ambient Air Temp |
0 — 255 |
0 |
VEPS, DRS 7.0 |
Section 17.7.4
Engine Coolant Level Sensor
The ECL Sensor provides an input to the engine protection system and warn the operator if a low coolant level has been reached.
The main component of the ECL Sensor consists of a conductivity probe, which connects to the CPC (see Figure "Engine Coolant Level Sensor Specifications" ).
NOTICE: |
|
The probe has an operational temperature range of -40 to 257°F (-40 to 125°C). Exposure to temperatures beyond this range may result in unacceptable component life, or degraded sensor accuracy. |

Figure 4. Engine Coolant Level Sensor Specifications
The OEM must connect the ECL Sensor probe as shown in the next illustration (see Figure "Engine Coolant Level Sensor Installation for CPC" ). Polarity of the ground and signal must be correct for proper operation.

|
Label |
CPC Connector #3, 21–pin Cavity (2) |
Wire Color |
CLS Connector (3) Cavity |
|
Coolant Level |
3/11 |
ORN |
A |
|
Ground (1) |
3/2 |
BLK |
B |
Figure 5. Engine Coolant Level Sensor Installation for CPC
The probe should be located in either the radiator top tank or a remote mounted surge tank. It should be mounted horizontally in the center of the tank and must be in a position to signal low coolant before aeration occurs. Typically, this is a height representing 98% of the drawdown quantity. The probe should be located so that it is not splashed by deaeration line, stand pipe or coolant return line flows. The insulated portion of the probe should be inserted into the coolant 1/2 in. or more past the inside wall of the tank. See Figure "Engine Coolant Level Sensor Location - Top of Radiator Tank" .

|
1. Coolant Full Level (cold) |
3. Aeration Begins |
|
2. Level Representing 98% of Drawdown Quantity |
Figure 6. Engine Coolant Level Sensor Location - Top of Radiator Tank
Determine proper location for low coolant level sensor while running the drawdown test. It must actuate a warning before the satisfactory drawdown level is reached.
The ECL Sensor components are OEM supplied hardware and can be purchased as kits or individual components, depending on OEM requirements.
The sensor must be enabled with VEPS or the DRS as listed in Table "Enabling the Engine Coolant Level Sensor" .
|
Parameter Group |
Parameter |
Options |
Default |
|
32 |
Cool Level Sensor Input Enable |
0 = Disabled 1 = Dual Level Probe Sensor (IMO), fixed threshold* 2 = Single Level Probe Sensor, temp dependent 3 = Dual Level Float Sensor (FTL), fixed threshold/FTL Gentec 4 = Single Level Probe Sensor, fixed threshold |
2 |
Section 17.7.5
Fuel Rail Pressure Sensor
The fuel rail pressure sensor uses a sensor element and a hybrid element. As pressure increases the sensor membrane will distort. There are four pressure-dependent resistances (strain measuring resistors) on the sensor membrane. Its bridge circuit is supplied with voltage by an electronic analysis system which also serves for signal amplification and signal correction. The electronic analysis system itself is supplied a 5 V DC voltage by the MCM. The resistors in the sensor membrane are arranged in a way that when deforming the sensor membrane two resistors will contact and two resistors will expand. Contracting and expanding changes the electrical resistance and in turn has effects upon the measurement voltage, which is being applied to the electronic analysis system. The electronic analysis system amplifies the measurement voltage, compensating for possible temperature fluctuations or balancing out possible manufacturing tolerances and passes the cleaned measurement voltage to MCM.
Section 17.7.6
Supply Fuel Temperature Sensor
The Supply Fuel Temperature Sensor is located on the left side of the crankcase on the fuel filter module (1). The Motor Control Module (MCM) detects the current temperature of the fuel via the Supply Fuel Temperature Sensor. There is an NTC resistor inside the Supply Fuel Temperature Sensor. NTC stands for "Negative Temperature Coefficient" and means that the electrical resistance falls as the temperature increases. The Supply Fuel Temperature Sensor is a passive sensor (i.e., it is not supplied with voltage).
Section 17.7.7
Turbo Compressor In Temperature Sensor
The Turbo Compressor In Temperature Sensor (required for Series 60 ) produces a signal representing the temperature of the turbo compressor inlet. See Figure "Turbo Compressor In Temperature Sensor" and Figure "Turbo Compressor In Temperature Sensor Installation" .

Figure 7. Turbo Compressor In Temperature Sensor

|
Label |
31–pin Connector Cavity (1) |
Turbo Compressor In Temp Connector (2) Cavity* |
|
Turbo Compressor In Temp |
27/31 (120/86) |
2 |
|
Sensor Return |
24/31 (120/88) |
1 |
|
Turbo Compressor In Temp Connector Sensor (3), 3/8–18 NPT Short Thread (4) |
||
Figure 8. Turbo Compressor In Temperature Sensor Installation
Section 17.7.8
Vehicle Speed Sensor
The CPC can calculate vehicle speed providing that it is properly programmed and interfaced with a Vehicle Speed Sensor (VSS) that meets requirements. The VSS (see Figure "Vehicle Speed Sensor" ) provides a vehicle speed signal for use in Cruise Control and Vehicle Speed Limiting. The VSS signal type can be changed v
Note: DDC does not approve of the use of signal generator sensors.

Figure 9. Vehicle Speed Sensor
To obtain accurate vehicle mileage, the parameters listed in Table "Vehicle Speed Sensor Parameters" must be programmed with VEPS, DRS, or DDDL 7.0.
|
Parameter Group |
Parameter |
Range |
Default |
|
8 |
Vehicle Speed Sensor |
0 = No Sensor 1 = C3 Sensor 2 = Square Wave (Hall Sensor) 3 = J1939 (ECT1) 4 = Magnetic Pickup 5 = J1939 (TCO1) 6 = J1939 (CCVS Source 1) 7 = J1939 (CCVS Source 2) 8 = J1939 (CCVS Source 3) |
4 = Magnetic |
|
8 |
Axle Ratio |
1 – 20.0 |
5.29 |
|
8 |
Number of Output Shaft Teeth |
0 – 250 |
16 |
|
8 |
Tire Revs per Unit Distance |
160 – 1599 |
312 |
|
8 |
Top Gear Ratio |
0.1 – 2.55 |
1 |
|
8 |
Second Highest Gear Ratio |
0.1 – 5.75 |
2.54 |
|
8 |
Two Spd Axle Second Axle Ratio |
1 – 20.0 |
5.29 |
|
8 |
Anti Tamper |
0 = Disable 1 = Enable VSS Anti Tamper Function via ABS 2 = Enable Anti Tamper Function via Gear Ration |
0 = Disable |
Section 17.7.8.1
Magnetic Pickup
The magnetic pickup requirements are listed in Table "Magnetic Pickup Vehicle Speed Sensor Requirements" . Magnetic Pickup size is determined by installation requirements.
|
Parameters |
Range |
|
Frequency Range |
0 - 10 kHz |
|
Low Threshold Voltage |
>1.8 Volts Peak to Peak |
The Vehicle Speed Sensor is wired to the 21–pin #3 connector of the CPC as listed in Table "Vehicle Speed Sensor Wiring" .
|
CPC Connector/Pin |
Function |
|
3/13 |
VSS (+) |
|
3/14 |
VSS (-) |
See Figure "Magnetic Vehicle Speed Sensor Installation – CPC" for the installation of the Magnetic VSS.

|
Label |
CPC Connector #3, 21–pin Cavity (1) |
Wire Color |
Vehicle Speed Sensor Connector Cavity |
|
Vehicle Speed Sensor (+) |
3/13 |
LT BLU/ORN |
Signal |
|
Vehicle Speed Sensor (-) |
3/14 |
LT BLU/BLK |
Return |
Figure 10. Magnetic Vehicle Speed Sensor Installation – CPC
Section 17.7.8.2
SAE J1939 Data Link
A VSS wired to the CPC is not required if the transmission output shaft speed message is being transmitted over the SAE J1939 Data Link. To obtain accurate vehicle mileage, the parameters listed in Table "Vehicle Speed Sensor Parameters for Transmission Output Shaft Speed" must be programmed with VEPS.
|
Parameter Group |
Parameter |
Range |
Default |
|
|
8 |
Vehicle Speed Sensor |
0 = No Sensor 1 = C3 Sensor 2 = Square Wave (Hall Sensor) 3 = J1939 (ECT1) 4 = Magnetic Pickup 5 = J1939 (TCO1) 6 = J1939 (CCVS Source 1) 7 = J1939 (CCVS Source 2) 8 = J1939 (CCVS Source 3) |
4 = Magnetic |
|
|
8 |
Axle Ratio |
1 – 20.0 |
5.29 |
|
|
8 |
Tire Revs per Unit Distance |
160 – 1599 |
312 |
|
|
8 |
Top Gear Ratio |
0.1 – 2.55 |
1 |
|
|
8 |
Second Highest Gear Ratio |
0 — 5.75 |
2.54 |
|
|
8 |
Two Spd Axle Second Axle Ratio |
1 – 20.0 |
5.29 |
|
|
8 |
Anti Tamper |
0 = Disable 1 = Enable VSS ABS Anti Tampering Function 2 = Enable VSS without ABS Anti Tampering Function |
0 = Disable |
|
Section 17.7.8.3
VSS Anti-tamper
If the sensor appears to be working improperly, but the vehicle speed is not zero, VSS Anti-Tamper will log a VSS fault.
Section 17.7.9
Water-in-Fuel Sensor
The Water-in-Fuel Sensor determines the electrical resistance between the two sensor electrodes (2). If the water level increases in the water separator up to the sensor electrodes (2) the electrical resistance drops. This change of resistance is detected by the MCM (A6.1). If the critical water level is reached, an indicator light on the sensor will illuminate. In order to avoid electrolysis (corrosion of the electrodes), AC voltage is used
| EPA07 DD15 Troubleshooting Guide - DDC-SVC-MAN-0029 |
| Generated on 10-13-2008 |