Section 6.3
Intake Manifold Elbow
The intake manifold elbow is an integral part of the AGR valve. It connects the AGR valve with the intake manifold allowing air to flow into the cylinder heads. See Figure "Intake Manifold Elbow and Related Parts" .

|
1.Air Gas Recirculator Valve Adaptor |
6.Intake Manifold Elbow |
|
2.Gasket |
7.Washer |
|
3.Air Gas Recirculator Valve |
8.Allen Head Screw |
|
4.Torx Screw |
9.Nut |
|
5.Gasket |
10.Stud |
Figure 1. Intake Manifold Elbow and Related Parts
Section 6.3.1
Repair or Replacement of Intake Manifold Elbow
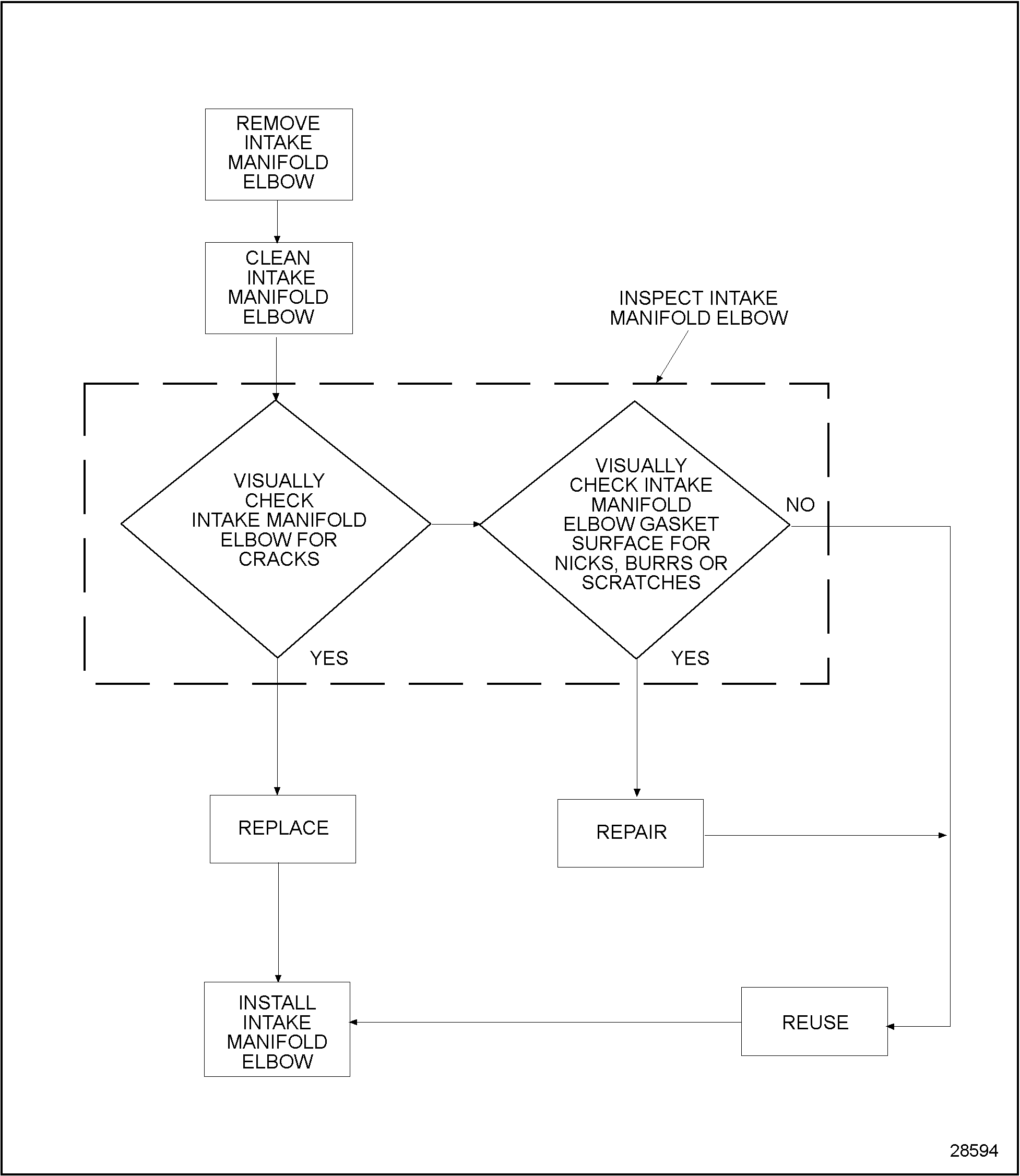
To determine if repair or replacement of the intake manifold elbow is necessary perform, the following procedure. See Figure "Flowchart for Repair or Replacement of Intake Manifold Elbow" .

Figure 2. Flowchart for Repair or Replacement of Intake Manifold Elbow
Section 6.3.2
Removal of Intake Manifold Elbow
Remove the intake manifold elbow as follows:
- Remove the charge-air-cooler CAC hose from the air-gas-recirculator AGR valve.
- Remove the AGR vacuum supply hose from the AGR valve.
- Remove the AGR bleed line from the AGR valve.
- Remove four elbow-to-intake manifold screws and washers. See Figure
"Removal of Intake Manifold Elbow"
.

1.Air Gas Recirculator Valve Adaptor
6.Intake Manifold Elbow
2.Gasket
7.Washer
3.Air Gas Recirculator Valve
8.Allen Head Screw
4.Torx Screw
9.Nut
5.Gasket
10.Stud
Figure 3. Removal of Intake Manifold Elbow
- Remove the AGR, intake manifold elbow, and gasket from the intake manifold. See Figure "Removal of Intake Manifold Elbow" .
Section 6.3.3
Cleaning of Intake Manifold Elbow
Clean the intake manifold elbow as follows:
- Remove all old gasket material from the intake manifold and intake manifold elbow mating surfaces.
- Clean the intake manifold elbow with clean fuel oil.
To avoid personal injury when blow drying, wear adequate eye protection (safety glasses or face plate) and do not exceed 276 kPa (40 lb/in. 2 ) air pressure.
- Dry the intake manifold elbow with compressed air.
Section 6.3.3.1
Inspection of Intake Manifold Elbow
Inspect the intake manifold elbow as follows:
- Visually check the intake manifold elbow for cracks.
- If the intake manifold elbow is cracked, replace the component. Refer to "6.3.4 Installation of Intake Manifold Elbow" .
- If the intake manifold elbow is not cracked, proceed with step 2 of inspection.
- Visually check the intake manifold elbow gasket surface for nicks, burrs, or scratches.
- If the intake manifold elbow gasket surface is nicked, burred, or scratched, repair the component as necessary. Refer to "6.3.4 Installation of Intake Manifold Elbow" .
- If the intake manifold elbow gasket surface is not nicked, burred, or scratched, reuse the component as necessary. Refer to "6.3.4 Installation of Intake Manifold Elbow" .
Section 6.3.4
Installation of Intake Manifold Elbow
Install the intake manifold elbow as follows:
- Install the intake manifold elbow and a new gasket to the intake manifold and secure with four washers and screws. Torque screws to 9-11 N · m (7-8 lb · ft). See Figure
"Installation of Intake Manifold Elbow"
.

1.Air Gas Recirculator Valve Adaptor
6.Intake Manifold Elbow
2.Gasket
7.Washer
3.Air Gas Recirculator Valve
8.Allen Head Screw
4.Torx Screw
9.Nut
5.Gasket
10.Stud
Figure 4. Installation of Intake Manifold Elbow
- Install the AGR bleed line to the AGR valve.
- Install the AGR vacuum supply hose to the AGR valve.
- Install the CAC hose to the AGR valve.
- Run the engine to verify repair.
| Series 638 Service Manual - 6SE648 |
| Generated on 10-13-2008 |