Section 16.3
Ignition Coil Assembly
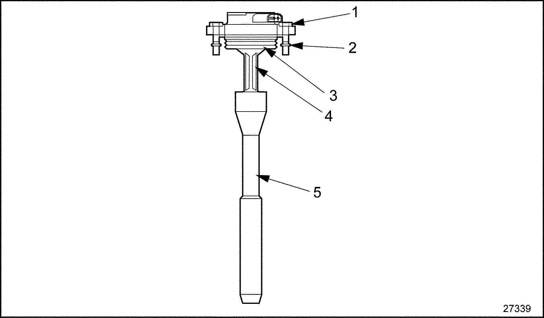
The ignition coil assembly consists of the ignition coil and integral seal. This is serviced as an assembly, or the seal can be serviced separately. Before the coil can be installed into the engine, it is necessary to attach the boot, mounting screws, and O-rings onto the ignition coil assembly. See Figure "Ignition Coil Assembly" .

|
1. Bolt, M6 x 1.0 in. (2) |
4. Ignition Coil Assembly |
|
2. O-ring (2) |
5. Boot and Spring Assembly |
|
3. Ignition Coil Seal |
|
Figure 1. Ignition Coil Assembly
Section 16.3.1
Removal of Ignition Coil
Remove the ignition coil as follows:
- Remove the two Phillips screws holding the coil cover in the rocker cover.
- Remove the low voltage wire harness connectors at each coil to be removed.
- Unscrew the two M6 x 1.0 bolts that attach the coil to the rocker cover. Pull the coil assembly with the boot, mounting screws, and O-rings out of the spark plug well.
- Inspect the ignition coil. Refer to "16.3.1.1 Inspection of Ignition Coil" .
Section 16.3.1.1
Inspection of Ignition Coil
Inspect the ignition coil as follows:
|
EYE INJURY |
|
To avoid injury from flying debris when using compressed air, wear adequate eye protection (face shield or safety goggles) and do not exceed 276 kPa (40 psi) air pressure. |
- Visually check the ignition coil for dirt and debris.
- If dirt and debris are present, clean as necessary and apply a light coat of dielectric grease on the inside of the ignition boot. Reuse ignition coil. Refer to "16.3.2 Installation of Ignition Coil" .
- If no dirt and debris are present, reuse ignition coil. Apply a light coat of dielectric grease on the inside of the ignition boot. Refer to "16.3.2 Installation of Ignition Coil" .
- Visually check the interface between the boot and spark plug for oil.
- If oil is present, clean as necessary. Apply a light coat of dielectric grease on the inside of the ignition boot. Refer to "16.3.2 Installation of Ignition Coil" .
- If no oil is present, reuse ignition coil. Apply a light coat of dielectric grease on the inside of the ignition boot. Refer to "16.3.2 Installation of Ignition Coil" .
Section 16.3.2
Installation of Ignition Coil
Install the ignition coil as follows:
- Install the ignition coil assembly with the boot, mounting screws, and O-rings into the spark plug well.
- Guide the mounting bolts through the holes in the rocker cover and screw them into the extension tube. Torque the bolts to 13-16 N·m (10-12 lb·ft).
- Push the connectors of the low voltage wire harness onto the ignition coils.
- Put antisieze compound on the two coil cover mounting screws to aid removal in the future.
- Install the coil cover on the rocker cover with two Phillips mounting screws.
| Series 60 Service Manual - 6SE483 |
| Generated on 10-13-2008 |