Section 10.1
Front Mounted Power Take-Off
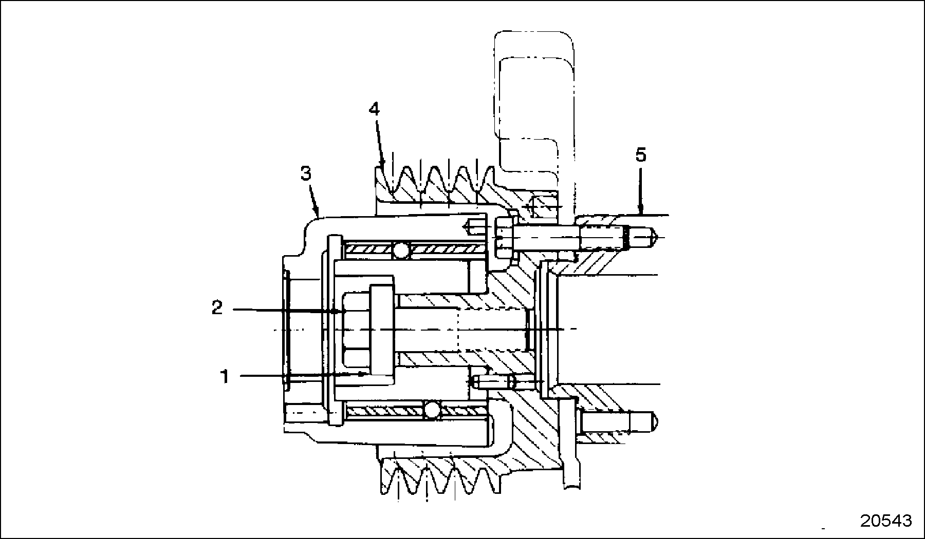
Detroit Diesel Corporation (DDC) has a front mounted PTO, for use on the Series 60 vehicle engines. See Figure "Front Mounted Power Take-off Components" .

|
1. Retainer |
4. Pulley Assembly |
|
2. Bolt |
5. Crankshaft |
|
3. Hub Assembly |
|
Figure 1. Front Mounted Power Take-off Components
This PTO is available in two different models, adaptable to Spicer 1310 and Spicer 1350 drive shafts depending on the torque and horsepower requirements. Maximum torque and horsepower for the two PTO assemblies are listed in Table "Torque and Horsepower for the Front Mounted Power Take-off Assemblies" .
|
Power Take-off Models |
Engine Speed |
Torque |
Horsepower |
|
Spicer 1310 |
1800 rpm |
162.7 N·m (120 lb·ft) |
30.6 kW (41 hp) |
|
Spicer 1310 |
2100 rpm |
158.7 N·m (117 lb·ft) |
29.8 kW (40 hp) |
|
Spicer 1350 |
1800 rpm |
261.7 N·m (193 lb·ft) |
57.4 kW (77 hp) |
|
Spicer 1350 |
2100 rpm |
253.6 N·m (187 lb·ft) |
56.0 kW (75 hp) |
Note: These torque and horsepower values are the maximum available taken at three degrees shaft angle. Any increase in the shaft angle has a direct negative effect on the amount of available torque and horsepower, as well as shaft life.
Also, any new application must have a "Torsional Analysis" performed by the DDC Engineering Department.
The PTO drive shaft must be purchased through Spicer Universal Joint Division, Dana Corporation.
If a PTO adaptor kit is to be installed on an engine that has been in service, it will be necessary to remove the standard pulley configuration and replace it with one of the PTO adaptor kits.
Perform the following steps to install the new PTO assembly:
- Remove the six bolts that retain the standard crankshaft pulley: refer to "1.15.2 Removal and Cleaning Crankshaft Pulley" .
- Install the new PTO pulley; refer to "1.15.3 Installation of Crankshaft Pulley" . Use the new bolts and washer provided with the PTO adaptor kit.
- Install the new hub insulator assembly inside the new pulley assembly ensuring that the slot on the backside of the hub fits over the dowel in the pulley.
- Install the new 1 in. - 14 x 3.50 in. long bolt and retainer after coating the bolt threads and underside of the bolt head with International Compound #2®. Torque the bolt to 610 N·m (450 lb·ft).
Section 10.1.1
Repair and Replacement for the Front Mounted Power Take-off Assembly
The front mounted power take-off assembly is a nonserviceable component; tag for remanufacture.
Section 10.1.2
Removal of Front Mounted Power Take-off
Perform the following steps to remove the PTO assembly:
- Remove the inspection plug in the bottom of the flywheel housing and install tool J–36375–A.
see Figure
"Flywheel Lock"
.

Figure 2. Flywheel Lock
- Thread the center screw of tool J–36375–A
into the flywheel housing until the tip of the tool rests between two teeth of the flywheel ring gear. Finger-tighten the knurled knob; see Figure
"Flywheel Lock Location"
.

Figure 3. Flywheel Lock Location
Note: It may be necessary to bar the engine over so that the tool center screw is exactly between two teeth.
- Remove the PTO hub assembly attaching bolt and retainer.
- Remove the PTO hub assembly.
- Remove the PTO/crankshaft pulley; refer to "1.15.2 Removal and Cleaning Crankshaft Pulley" .
Section 10.1.2.1
Inspection of Front Mounted Power Take-off
Visually inspect the PTO hub contact surfaces for galling or burrs. To correct surfaces that have damage, smooth these surfaces with emery cloth or a stone.
Section 10.1.3
Installation of Front Mounted Power Take-off
Perform the following steps to install the PTO assembly:
- If removed, install tool J–36375–A to the inspection plug hole in the bottom of the flywheel housing; see Figure "Flywheel Lock" .
- Install the PTO/crankshaft pulley; refer to "1.15.3 Installation of Crankshaft Pulley" .
- Install the PTO hub assembly inside of the PTO/crankshaft pulley ensuring the slot on the backside of the hub fits over the dowel in the pulley.
- Install the PTO hub assembly attaching bolt and retainer after coating the bolts threads and underside of the bolt head with International Compound #2® or equivalent. Torque the bolt to 610 N·m (450 lb·ft).
| Series 60 Service Manual - 6SE483 |
| Generated on 10-13-2008 |