Section 3.10
Oil Level Dipstick Assembly
A steel ribbon-type oil level dipstick may be used to check the level of oil in the engine oil pan. The dipstick is located in a tube attached by a threaded adaptor to an opening in the oil pan. See Figure "Oil Level Dipstick Location" .

|
1. Dipstick Gage |
3. Copper Seal |
|
2. Dipstick Tube Assembly |
4. Adaptor |
Figure 1. Oil Level Dipstick Location
Snap action dipsticks have locking tangs and an O-ring seal in the tee-handle. A copper sealing ring between the adaptor and dipstick tube insures a tight seal.
NOTICE: |
|
Maintain the oil level between the full and low marks or within crosshatch range on the dipstick. Never allow it to drop below the low mark. No advantage is gained by having the oil level above the full mark. Overfilling may cause the oil to be churned by the balance shafts and crankshaft throws, causing foaming or aeration of the oil. Operation below the low mark may expose the pump pickup, causing aeration, loss of pressure and engine damage. |
Beginning with engine serial number 06R0794113, Detroit Diesel introduced a new style dipstick. The old style dipstick marked the oil level with two single lines, one for add oil and one for full oil level. The new style dipstick will have an operating range. The operating range is identified by a crosshatch on the dipstick. If the oil meniscus is within this crosshatch range on the dipstick, then the oil range is adequate for engine operation. See Figure "Crosshatch Design Dipstick" .

Figure 2. Crosshatch Design Dipstick
Check the oil level after the engine has been stopped for a minimum of 20 minutes to permit oil in the various parts of the engine to drain back into the oil pan.
Note: Engine oil capacity can vary, depending on the oil pan used and the engine application.
For total oil capacity refer to the engine operator's guide or contact the Detroit Diesel Customer Support Center.
Dipsticks are normally marked for use only when the equipment the engine powers is on a level surface. Improper oil levels can result if the oil level is checked with the equipment on a grade, or if insufficient time is allowed for oil to drain back to the sump.
The current dipstick adaptor has a thicker wall than the former adaptor and requires a copper seal between the adaptor and the nut on the oil gage tube assembly. See Figure "Oil Level Dipstick Location" .
Section 3.10.1
Repair or Replacement of Oil Dipstick Assembly
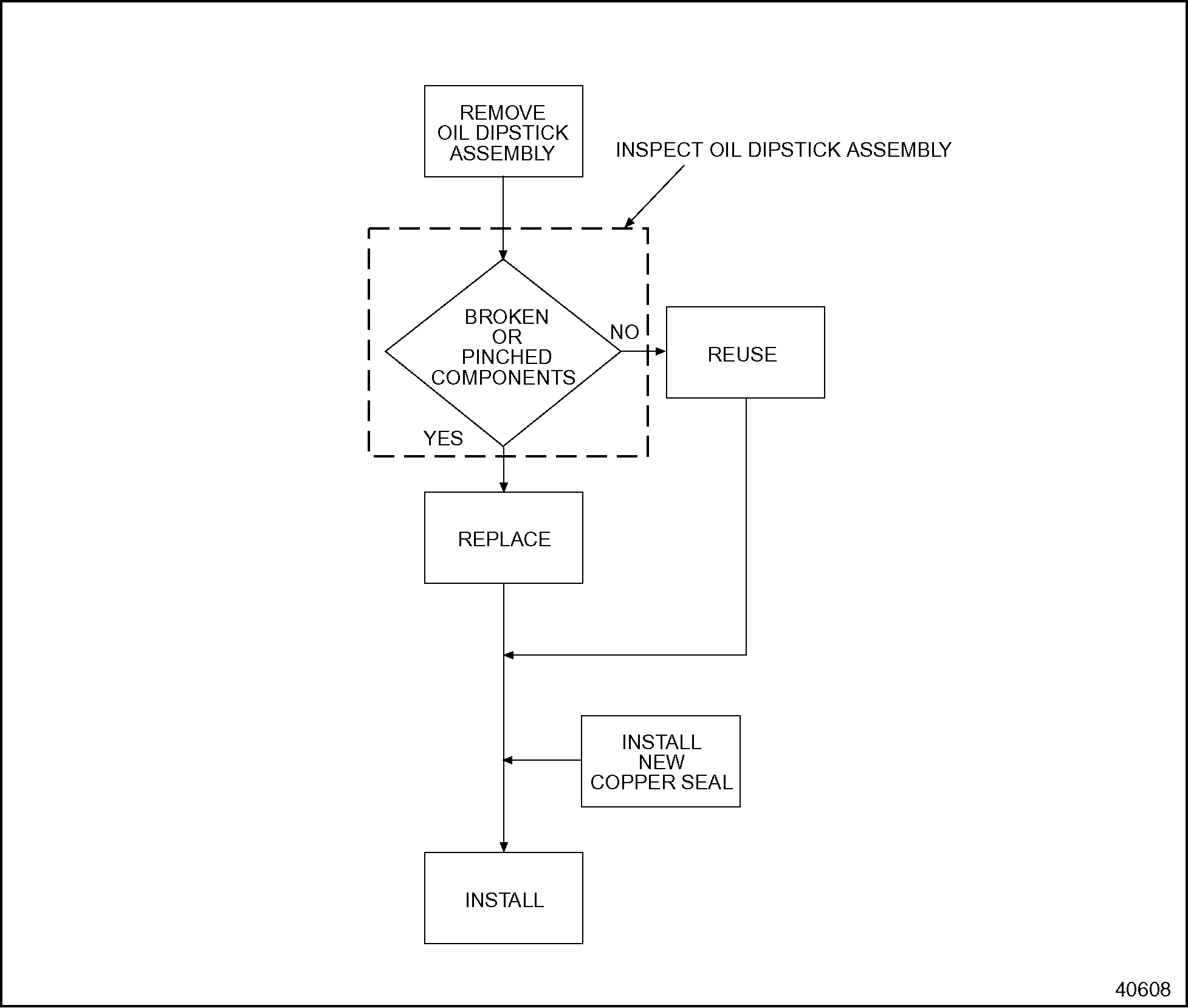
To determine if repair is possible or replacement is necessary, perform the following procedure. See Figure "Flowchart for Repair or Replacement of Oil Dipstick Assembly " .

Figure 3. Flowchart for Repair or Replacement of Oil Dipstick Assembly
Section 3.10.2
Removal of Oil Dipstick Assembly
Precleaning is not necessary.
Remove oil dipstick assembly as follows:
- Remove dipstick from dipstick adaptor.
- Remove oil tube assembly, copper seal, and dipstick adaptor from cylinder block. Discard copper seal.
Section 3.10.2.1
Inspection of Oil Dipstick Assembly
Inspect oil dipstick assembly as follows:
- Inspect dipstick assembly for any damaged parts.
- Check components for any broken or pinched parts.
- If any components are damaged, replace with new parts.
- If components are not damaged, reuse the parts.
Section 3.10.3
Installation of Oil Dipstick Assembly
Assemble oil dipstick assembly as follows:
- Install dipstick adaptor into cylinder block. Torque to 22 N·m (16 lb·ft). See Figure
"Dipstick Adaptor with Seal"
.

1. Dipstick Gage
3. Copper Seal
2. Dipstick Tube Assembly
4. Adaptor
Figure 4. Dipstick Adaptor with Seal
- Insert the new copper seal and thread the oil gage tube assembly nut into the adaptor.
- While holding the adaptor with a wrench, properly align the oil gage tube assembly.
- Tighten the nut on the tube securely.
- Install dipstick.
| Series 60 Service Manual - 6SE483 |
| Generated on 10-13-2008 |
I just replaced mine on 12.7 series 60…the adapter nut has a lot of thread so I’m wondering if I was supposed to go all the way til it bottoms out to the block or is there a specification for how deep it’s supposed to go? The reason for my question is that I wonder if going too deep would affect the proper reading on the dipstick (show that oil is overfilled or if not deep enough it will show that its low when it is not) just a concern thank you in advance for any help