Section 2.19
Programmable Read-Only Memory (PROM) DDEC I
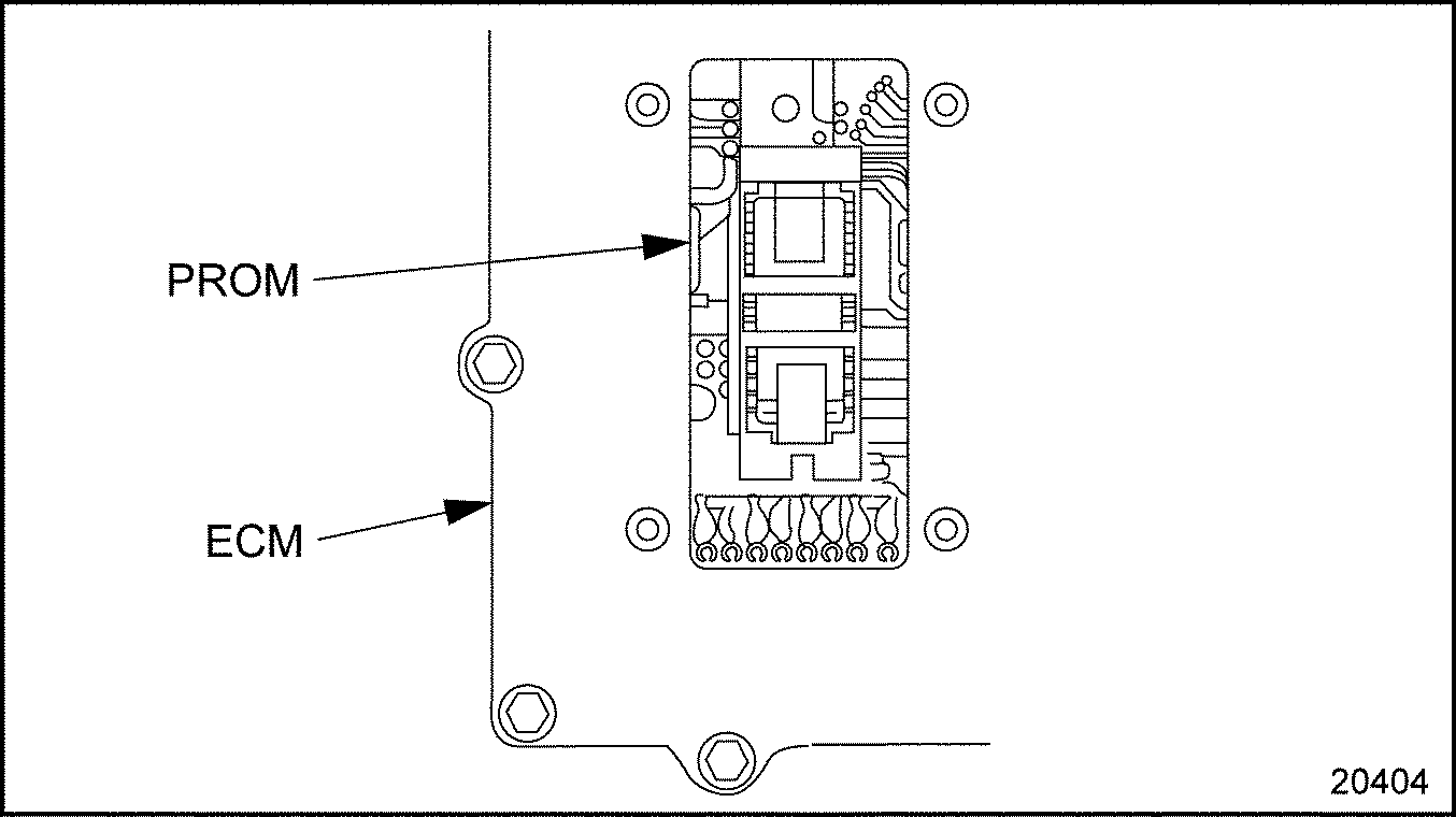
The PROM is an electronic component located in a compartment in the back of the ECM. See Figure "Programmable Read-Only Memory" .

Figure 1. Programmable Read-Only Memory
When plugged in, it becomes part of the circuits of the ECM. The PROM is used to establish engine operating specifications. Each PROM has an individual part number.
Section 2.19.1
Replacement of the DDEC I PROM
The PROM is not repairable, it must be replaced.
Section 2.19.2
Removal of PROM
Perform the following steps for PROM removal:
- Remove the ECM. Refer to "2.18.2 Removal of DDEC I Electronic Control Module" .
- Remove the four PROM access cover screws.
- Using the rocker type PROM removal tool (J–35889–A)
, engage one end of the PROM carrier with the hook end of the tool. See Figure
"Removing PROM"
.

Figure 2. Removing PROM
- Press on the vertical bar end of the tool and rock the engaged end of the PROM carrier up as far as possible.
- Engage the opposite end of the PROM carrier in the same manner and rock this end up as far as possible. Repeat this process until the PROM carrier and PROM are free of the socket. When done correctly, the PROM and carrier should easily lift free of the socket.
Section 2.19.3
Installation of PROM
Perform the following steps for PROM installation:
NOTICE: |
|
Any time a PROM is installed backwards, it will be destroyed upon applying power to the ECM. |
- Take the new PROM (already mounted in a carrier) out if its packaging, and check the part number, making sure it represents the PROM chosen to replace the one removed.
- Position the new PROM and carrier squarely over the PROM socket with the small notched end of the carrier aligned with the narrow tab on the socket. The numeral one in a circle at the lower right corner of the PROM carrier should be installed in the same position as the numeral one located on the socket. See Figure
"Indexing PROM for Installation"
.

Figure 3. Indexing PROM for Installation
NOTICE:
Do NOT press on the PROM. To avoid damaging the PROM, press on the carrier.
- Press on the PROM carrier until it is firmly seated in the socket. See Figure
"Installing PROM"
.

Figure 4. Installing PROM
- Reinstall the access cover screws.
- Place a security label over the access cover next to the original label.
- Reinstall the ECM in the vehicle and plug in the connectors.
- Tighten the connector hold-down screws.
Note: In the event the PROM is defective, the DDL reader will not function. The check engine light must be used to read malfunction codes.
- Turn the ignition to the ON position. Observe or read any diagnostic codes.
- If code 51 occurs, check for the following conditions:
- If it is necessary to check the PROM, follow removal instructions.
- If not fully seated, press firmly on the carrier.
- If pins are bent, remove the PROM, straighten pins, and reinstall the PROM.
- If bent pins break or crack during straightening, discard the PROM and replace it.
- If found defective, replace the PROM.
- If the PROM is installed backwards, replace it.
| Series 60 Service Manual - 6SE483 |
| Generated on 10-13-2008 |