Section 6.1
Overview of Air Intake System
The air intake system consists of the following components:
- Air Cleaner
- Intake Manifold
- Turbocharger
- Charge Air Cooler
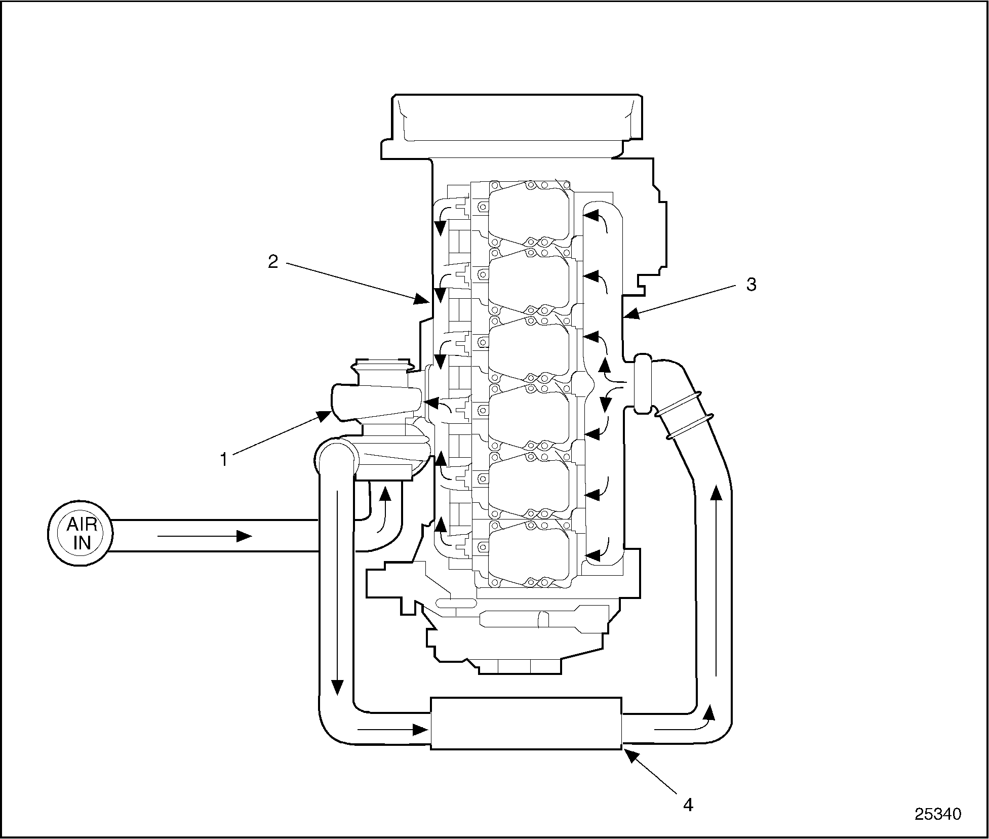
The turbocharger supplies air under pressure to the intake manifold. The air enters the turbocharger after passing through the air cleaner. Power to drive the turbocharger is extracted from energy in the engine exhaust gas. The expanding exhaust gases turn a single stage turbocharger wheel, which drives an impeller, which pressures intake air. An air-to-air heat exchanger cools the charge air before it reaches the engine intake manifold, improving combustion efficiency. See Figure "Air Intake System Schematic" .

|
1.Turbocharger |
4.Charge Air Cooler |
|
2.Exhaust Manifold |
5.Air Cleaner |
|
3.Intake Manifold |
|
Figure 1. Air Intake System Schematic
A charge air cooler (CAC) is mounted ahead of the engine coolant radiator. The pressurized intake charge is routed from the turbochargers discharge side, through the CAC to the intake manifold, which directs the air to ports into the cylinder head, through two intake valves per cylinder, and into the cylinder. At the beginning of the compression stroke, each cylinder is filled with clean air.
Replacement procedures for the air intake system's individual components are contained in this section.
| Series 55 Service Manual - 6SE55 |
| Generated on 10-13-2008 |