Section 4.8
Ignition System
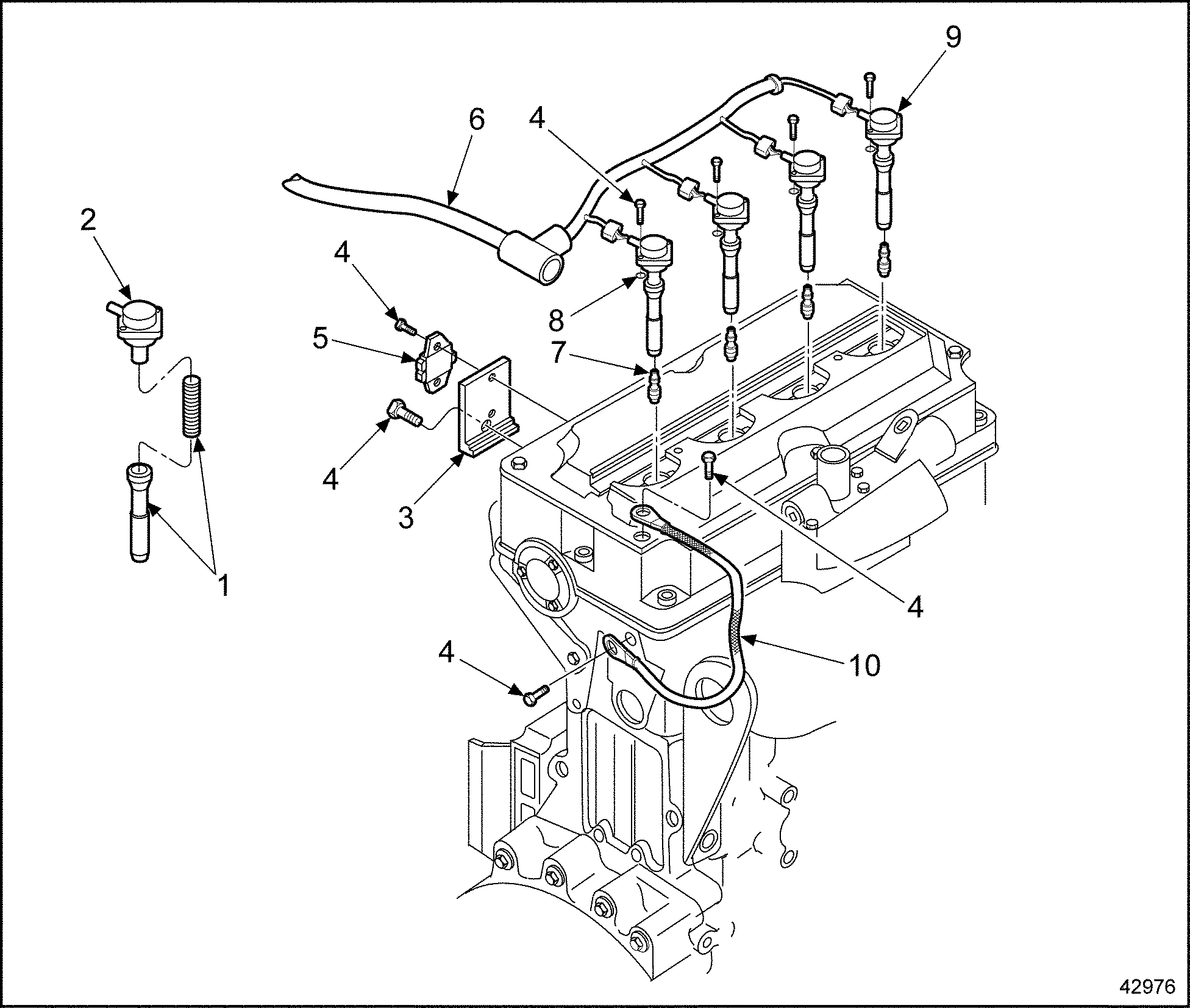
The Ignition System's main components are the ignition coil harness, the igniter module, the ignition coils, the ignition boot assemblies, the spark plugs, and the ground strap, see Figure "Ignition System — Series 50G" . In addition, the Ignition System requires a different rocker cover with extension tubes for the spark plugs attached to the rocker cover cap, see Figure "Two-Piece Rocker Cover — Series 50G" . Also, the cylinder head is machined to accept the spark plug extension tubes.

|
1. Boot and Spring Assembly |
6. Ignition Coil Harness |
|
2. Ignition Coil Assembly |
7. Spark Plug |
|
3. Igniter Module Bracket |
8. O-ring |
|
4. Bolt |
9. Ignition Coil and Boot Assembly |
|
5. Igniter Module |
10. Ground Strap |
Figure 1. Ignition System — Series 50G

|
1. Gasket |
8. Rocker Cover Cap |
|
2. O-ring |
9. Bolt |
|
3. Extension Tube |
10. Isolator |
|
4. O-ring |
11. Spacer |
|
5. Screw |
12. Rocker Cover Base |
|
6. Cover |
13. Seal Ring |
|
7. Bolt |
Figure 2. Two-Piece Rocker Cover — Series 50G
The following procedures are used to diagnose a natural gas Series 50G or Series 60G DDEC Engine which knocks during operation.
Section 4.8.1
Spark Plug Well Inspection
Check the Spark Plug Wells as follows:
- Remove the coil cover.
- Disconnect each coil.
- Examine each ignition boot, spark plug, and spark plug well.
- If oil is present on any ignition boot or in the spark plug well, replace the O-rings on the extension tube; replace the ignition boot; and clean and reinstall the ignition coils. Perform the Fuel System Learn Procedure, refer to "4.9 Fuel System Learn Procedure" .
- If water is present in any spark plug well, clean out the well and discard the defective spark plug and replace the mating boot and spring assembly. Gap spark plug to 0.38 mm (0.015 in.). Install the spark plug. Tighten the spark plug to 38 N·m (28 ft·lb). Perform the Fuel System Learn Procedure, refer to "4.9 Fuel System Learn Procedure" .
- If ignition coils, boots, and spark plug wells are free of oil or other contamination, check the Spark Plug Electrode, refer to "4.8.2 Spark Plug Electrode Inspection" .
Section 4.8.2
Spark Plug Electrode Inspection
Check the Spark Plug Electrodes as follows:
- Remove each spark plug.
- Examine the spark plug electrodes for the following conditions:
- If any spark plug is shorted by excessive oil deposits around center and ground electrodes (see Figure
"Spark Plug with Oil-Fouled Electrode"
), replace the spark plug and go to step
.

Note: Thick, wet, and black deposits around bottom of spark plug.
Figure 3. Spark Plug with Oil-Fouled Electrode
- If any spark plug is shorted by carbon deposits (see Figure
"Carbon-Fouled Spark Plug"
), replace the spark plug and go to step
.

Note: Soft, sooty, dry, and black deposits around bottom of spark plug.
Figure 4. Carbon-Fouled Spark Plug
- If any spark plug is shorted across the gap (see Figure
"Spark Plug with Gap Bridging"
) by reforming of melted material from the electrodes, go to step
.

Note: There is melting of electrode material in the gap.
Figure 5. Spark Plug with Gap Bridging
- If the spark plug shows normal operating conditions (see Figure
"Normal Operating Spark Plug"
) with no deposits or only light tan or gray deposits, reuse the spark plug. Clean the spark plug and spark plug well. Gap spark plug to 0.38 mm (0.015 in.). Install and tighten the spark plug to 38 N·m (28 ft·lb). .

Note: Light brown, gray, or tan deposits are acceptable.
Figure 6. Normal Operating Spark Plug
- If any spark plug is shorted by excessive oil deposits around center and ground electrodes (see Figure
"Spark Plug with Oil-Fouled Electrode"
), replace the spark plug and go to step
.
- Gap spark plugs to 0.38 mm (0.015 in.). Tighten the spark plugs to 38 N·m (28 ft·lb). Check the Accessories and Brackets, refer to "4.10 Accessories and Brackets" .
| Series 50G and 60G Troubleshooting Guide - 6SE482 |
| Generated on 10-13-2008 |