Section 4.2
Coolant Pump – Non-EGR Engine
The coolant pump is driven by a belt with automatic belt tensioner.
Section 4.2.1
Coolant Pump Removal
Remove the coolant pump as follows:
|
PERSONAL INJURY |
|
To avoid injury from scalding, drain the radiator when the engine and coolant are cool. |
- Drain the coolant from the engine.
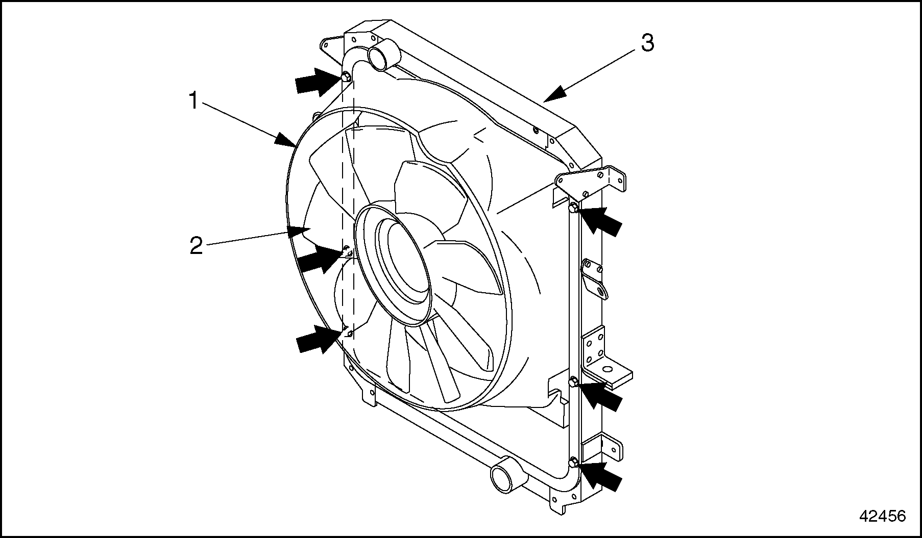
- Remove the six bolts attaching the fan shroud to the radiator. See Figure
"Fan Shroud Mounting Bolts"
.
Note: Remove the bolts indicated by the arrows. See Figure "Fan Shroud Mounting Bolts" .

1. Fan Shroud
3. Radiator
2. Fan Blade
Figure 1. Fan Shroud Mounting Bolts
- Remove the fan and fan shroud from the vehicle.
- Remove the fan blade.
- Remove the fan shroud.
- Remove the fan hub.

EYE INJURY
To avoid injury from flying parts when working with components under spring tension, wear adequate eye protection (face shield or safety goggles).
- Release the tension on the poly-V belt and set the belt aside.
Note: On 6-cylinder engines, there are two thermostats. On 4-cylinder engines, there is only one thermostat.
- Loosen the fan pulley. Keep the pulley from turning while loosening the pulley mounting bolts. See Figure
"Coolant Pump (6-cylinder) Non-EGR Engine"
for 6–cylinder engines and see Figure
"Coolant Pump (4-cylinder) Non-EGR Engine"
for 4–cylinder engines.

1. Coolant Delivery Hose (from surge tank)
7. Coolant Pump Connector Fitting
2. Crankcase Breather Hose
8. Coolant Pump
3. Front Connector Housing
9. Coolant Pump Gasket
4. Connector Housing Gasket
10. Lower Coolant Hose
5. Electrical Connector
11. Coolant Line
6. Engine Coolant Temperature Sensor
12. Fan Pulley
Figure 2. Coolant Pump (6-cylinder) Non-EGR Engine

1. Coolant Delivery Hose (from surge tank)
8. Mounting Bracket
2. Crankcase Breather Hose
9. Coolant Pump
3. Front Connector Housing
10. Coolant Pump Gasket
4. Connector Housing Gasket
11. Lower Coolant Hose
5. Electrical Connector
12. Coolant Line
6. Engine Coolant Temperature Sensor
13. Fan Pulley
7. Coolant Pump Connector Fitting
Figure 3. Coolant Pump (4-cylinder) Non-EGR Engine
- Remove the fan pulley.
- Remove the belt tensioner.
- On 4-cylinder engines only, remove the mounting bracket from the coolant pump and the charge air pipes.
- Disconnect the electrical connector from the coolant temperature sensor.
- Remove the front connector housing, front connector gasket, and coolant pump connector fitting. Discard the gasket and fitting.
- Disconnect the lower coolant hose and the coolant line from the coolant pump. Discard the seal rings on the coolant line banjo fitting.
Note: Collect any coolant that runs out of the lower coolant hose or coolant pump.
- Remove the coolant pump from the engine. Discard the gasket.
- On both the coolant pump and the engine block, clean the sealing surfaces (where the gasket was attached) of any adhering gasket material.
- Remove the upper coolant hose inlet (thermostat housing), thermostat(s), and O-ring(s) from the coolant pump.
Section 4.2.2
Coolant Pump Installation
Install the coolant pump as follows:
- Install the upper coolant hose inlet, thermostat(s), and O-ring(s) onto the coolant pump.
- Install the coolant pump on the engine block, using a new gasket. Tighten the mounting bolts 25 N·m (18 lb·ft).
Note: On 4-cylinder engines, secure the coolant pump with six bolts. The seventh bolt will be added when the mounting bracket is installed.
- Connect the lower coolant hose and the coolant line to the coolant pump. Install new seal rings on the coolant line banjo fitting.
- Install the front connector housing onto the coolant pump. Install a new gasket and coolant pump connector fitting. Tighten the mounting bolt attaching the front connector housing to the cylinder head 25 N·m (18 lb·ft).
- Connect the electrical connector to the coolant temperature sensor.
- On 4-cylinder engines only, install the mounting bracket on the coolant pump and the fastener to the charge air pipes. Tighten the mounting bolts 50 N·m (37 lb·ft).
- Install the belt tensioner.
- Install the fan pulley on the coolant pump. Tighten the fan pulley mounting bolts 25 N·m (18 lb·ft).
- Install the fan hub on the fan pulley.
- Release the belt tensioner. Route the poly-V belt round the fan pulley and restore the belt tension.
- Install the fan blade and fan shroud on the vehicle.
- Position the fan shroud on the radiator.
- Tighten the fan shroud mounting bolts until firm.
- Fill the engine with the removed coolant, and check for leaks.
| MBE 900 Service Manual - 6SE414 |
| Generated on 10-13-2008 |