Section 3.2
Oil Spray Nozzle
If damaged, the oil spray nozzle must be replaced, not repaired. There are two types of oil spray nozzles that may be used: bolt-on oil spray nozzles and press-on oil spray nozzles.
Section 3.2.1
Bolt-On Oil Spray Nozzle Removal
Remove the oil spray nozzle as follows:
Note: This procedure refers to bolt-on oil spray nozzles only.
- Remove the oil pan. Refer to "3.7.1 Oil Pan Removal"
.
Note: If necessary, use the engine barring tool J-46392 to rotate the crankshaft and gain access to the nozzles. See Figure "Removing the Bolt-On Oil Spray Nozzle" . If damaged, replace the oil spray nozzle.

1. Oil Spray Nozzle
2. Hollow-Core Bolt
Figure 1. Removing the Bolt-On Oil Spray Nozzle
- Remove the hollow-core bolt that fastens each oil spray nozzle to the cylinder block.
Section 3.2.2
Bolt-On Oil Spray Nozzle Installation
Install the oil spray nozzle as follows:
- Install each nozzle in the block with the locator pin correctly installed. Tighten the screw 25 to 30 N·m (18 to 22 lb·ft). See Figure
"Removing the Bolt-On Oil Spray Nozzle"
.
Note: The locator pin must be inserted into the bore hole in the block until it engages.
- Install the oil pan. Refer to "3.7.2 Oil Pan Installation" .
- Fill the crankcase to the specified oil level as listed in Table
"Lubricating Oil Capacity"
. Use the graduations on the dipstick to determine the final oil level. Do not overfill the crankcase.
Description
4-Cylinder Engine
6-Cylinder Engine
Oil Fill Capacity*
15.8 L (16.7 qt)
29.0 L (30.6 qt)
Table 2. Lubricating Oil Capacity
* In standard pan, including oil filter
Section 3.2.3
Press-On Oil Spray Nozzle Removal
Remove the press-on oil spray nozzle as follows:
- Remove the engine.
Note: This procedure refers to press-on oil spray nozzles only.
- Remove the oil pan. Refer to "3.7.1 Oil Pan Removal" .
- Remove the crankshaft. Refer to "1.6.1 Crankshaft Removal" .
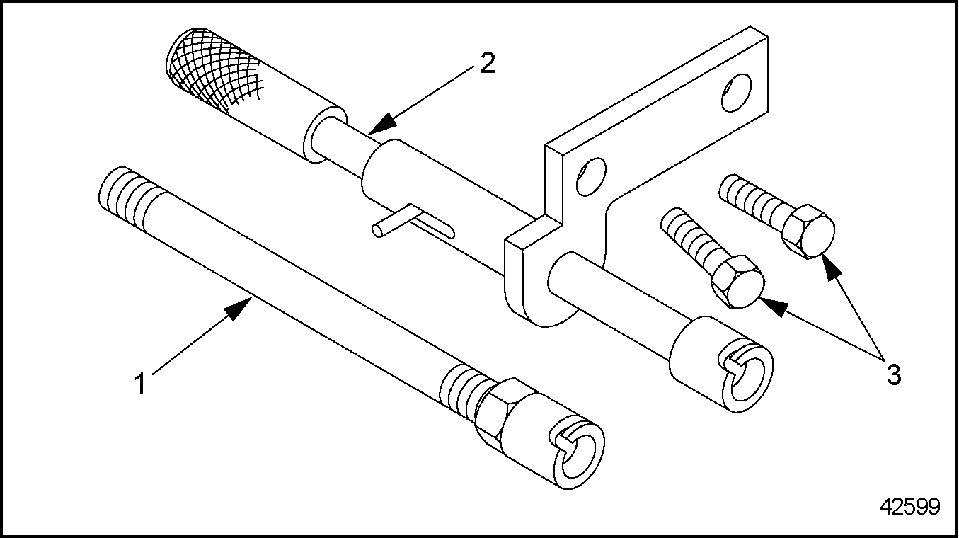
- Use the oil spray nozzle replacement kit J-44846
to remove and replace the oil spray nozzle. It contains a remover tool, an installer tool, and two hex bolts for mounting the installer to the crankcase. See Figure
"Press-On Oil Spray Nozzle Replacement Kit"
.

1. Remover Tool
3. Hex bolts (mount installer to crankcase)
2. Installer Tool
Figure 2. Press-On Oil Spray Nozzle Replacement Kit
- Attach the impact extractor J-46375
to the threaded end of the remover tool J-44846
. See Figure
"Remover Assembly "
.

Figure 3. Remover Assembly
- Using the remover assembly, remove the oil spray nozzle.
- Insert the slot in the end of the remover tool around the spray tube and turn it so the spray tube is locked in place.
- Operate the slide hammer on the impact extractor and remove the oil spray nozzle from the crankcase.
- Discard the old oil spray nozzle.
Section 3.2.4
Press-On Oil Spray Nozzle Installation
Install the press-on oil spray nozzle as follows:
- Insert a new oil spray nozzle into the slot in the end of the installer tool J-44846 until the spray tube is locked in place.
- Using the hex bolts provided in the kit, attach the hanger arm of the installer tool to the bolt holes in the crankcase where the bearing caps were installed. Tighten the hex bolts to 34 N·m (25 lb·ft). See Figure
"Press-On Oil Spray Nozzle Installation"
.

1. Main Bearing Race
2. Oil Spray Nozzle
Figure 4. Press-On Oil Spray Nozzle Installation
Note: The oil spray nozzle must be vertical with respect to the crankcase when it is installed.
- Install the oil spray nozzle in the crankcase, taking care to note the location of the parallel pin on the installer. See Figure
"Parallel Pin Location "
.

1. Oil Spray Nozzle
3. Parallel Pin
2. Installer Tool
4. Crankcase (cylinder block)
Figure 5. Parallel Pin Location
- Make sure the oil spray nozzle is correctly positioned in its hole in the crankcase.
- Check the location of the parallel pin to make sure the oil spray nozzle is vertical with respect to the crankcase.
- Using a hammer, hit the top of the installer until the oil spray nozzle is fully seated. The spray nozzle should be firmly in place.
- Remove the installer tool from the crankcase.
- Do this procedure for each oil spray nozzle to be replaced.
- Clean the oil passage holes in the crankcase main bearing race.
- Install the crankshaft. Refer to "1.6.2 Crankshaft Installation"
.
NOTICE:
If the oil spray nozzle is not correctly positioned with respect to the piston, serious engine damage could result.
- Turn the crankshaft and check, at each cylinder, the clearance between the piston and the oil spray nozzle.
- Install the oil pan. Refer to "3.7.2 Oil Pan Installation" .
- Install the engine.
- Fill the crankcase to the specified oil level. Do not overfill the crankcase.
| MBE 900 Service Manual - 6SE414 |
| Generated on 10-13-2008 |