Section 8.1
Drive Belts
There are three v-ribbed drive belts on the MBE 4000 engine:
- The main drive belt — (nine ribs)
- The fan belt — (eight ribs)
- The air conditioner compressor belt (installed only on vehicles with air conditioning) — (six ribs)
The main drive belt has nine ribs and drives the alternator and coolant pump. The fan belt has eight ribs and the air conditioner compressor belt (if installed) has six ribs.
Note: Before removing and installing a belt, check belt function and make sure to install the correct belt.
There are three idler pulleys on the MBE 4000 engine, one on the main drive belt and two on the fan belt. One of the fan belt idler pulleys has a ribbed belt contact surface; the others are smooth. There is no idler pulley installed for the air conditioner compressor belt.
Section 8.1.1
Main Drive Belt Removal
Remove the main drive belt as follows:
Note: There are three v-ribbed drive belts on the MBE 4000 engine. Be sure to remove and install the correct belt(s).
- Disconnect the batteries.
- Release the tension on the main drive belt. See Figure
"Releasing Belt Tension"
.

1. Alternator
3. Belt Tensioner
2. Main Drive Belt
4. Socket Wrench
Figure 1. Releasing Belt Tension
- Place a socket wrench on the tensioner pulley bolt.
- Pull the socket wrench (swivel the tensioner pulley counterclockwise) to remove the tension from the belt.
- Hold the tensioner pulley in this position for the next step.
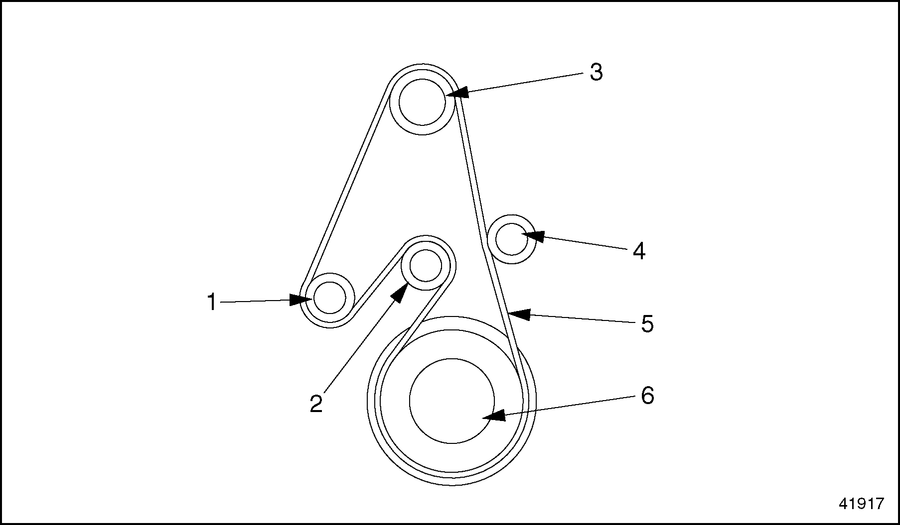
- Remove the drive belt from the alternator, coolant-pump and idler pulleys. Be careful not to kink, stretch, or otherwise damage the belt. See Figure
"Main Drive Belt Removal"
.

1. Vibration Damper
4. Idler Pulley
2. Tensioner Pulley
5. Main Drive Belt
3. Alternator Pulley
6. Coolant Pump Pulley
Figure 2. Main Drive Belt Removal
- Release the tensioner pulley.
- Inspect the drive belt for nicks, wear, or other damage. Replace the belt if necessary.
- Inspect the following parts and replace any that are damaged or worn:
- vibration damper
- alternator pulley
- coolant-pump pulley
- belt tensioner
- tensioner pulley
- idler pulley
Section 8.1.2
Main Drive Belt Installation
Install the main drive belt as follows:
- Fit the main drive belt on the belt pulleys. Be careful not to kink, stretch, or otherwise damage the belt. For correct routing, see Figure
"Main Drive Belt Routing"
. Do not fit the belt onto the tensioner pulley yet.

1. Alternator Pulley
4. Main Drive Belt
2. Idler Pulley
5. Vibration Damper
3. Coolant Pump Pulley
6. Tensioner Pulley
Figure 3. Main Drive Belt Routing
- Release the tension on the main drive belt. See Figure "Releasing Belt Tension" .
- Make sure the belt is correctly positioned for the tensioner pulley.
- Restore the tension on the belt.
- Lower the socket wrench to return the tensioner pulley to its original position.
- Remove the socket-wrench bit from the pulley bolt.
- Check the main drive belt to make sure it is in the correct position and properly aligned on the pulleys.
- Connect the batteries.
Section 8.1.3
Fan Belt Removal
Remove the fan belt as follows:
- Disconnect the batteries.
- Release the tension on the fan drive belt. See Figure
"Releasing Belt Tension"
.
- Place a socket wrench on the tensioner pulley bolt.
- Pull the socket wrench (swivel the tensioner pulley counterclockwise) to remove the tension from the belt.
- Hold the tensioner pulley in this position for the next step.
- Remove the drive belt from the fan and idler pulleys. Be careful not to kink, stretch, or otherwise damage the belt. See Figure
"Fan Belt Removal"
.

1. Crankshaft Pulley
4. Fan Belt
2. Idler Pulley #1
5. Fan Pulley
3. Fan Belt Tensioner
6. Idler Pulley #2
Figure 4. Fan Belt Removal
- Release the tensioner pulley.
- Inspect the fan belt for nicks, wear, or other damage. Replace the belt if necessary.
- Inspect the following parts and replace any that are damaged or worn:
- vibration damper
- fan pulley
- belt tensioner
- tensioner pulley
- idler pulley
Section 8.1.4
Fan Belt Installation
Install the fan belt as follows:
- Fit the fan drive belt on the belt pulleys. Be careful not to kink, stretch, or otherwise damage the belt. For correct routing, see Figure
"Fan Belt Routing"
. Do not fit the belt onto the tensioner pulley yet.

1. Tensioner Pulley
4. Idler Pulley #2
2. Idler Pulley #1
5. Fan Belt
3. Fan Pulley
6. Crankshaft Pulley
Figure 5. Fan Belt Routing
- Release the tension on the fan belt. See Figure "Releasing Belt Tension" .
- Make sure the belt is correctly positioned for the tensioner pulley.
- Restore the tension on the belt.
- Lower the socket wrench to return the tensioner pulley to its original position.
- Remove the socket-wrench bit from the pulley bolt.
- Check the fan belt to make sure it is in the correct position and properly aligned on the pulleys.
- Connect the batteries.
Section 8.1.5
Air Conditioner Compressor Belt Removal
Install the air conditioner (A/C) compressor belt as follows:
Note: The A/C compressor belt is installed only on vehicles with air conditioning.
- Disconnect the batteries.
- Release the tension on the A/C compressor drive belt. See Figure
"Releasing Belt Tension"
.
- Place a socket wrench on the tensioner pulley bolt.
- Pull the socket wrench (swivel the tensioner pulley clockwise) to remove the tension from the belt.
- Hold the tensioner pulley in this position for the next step.
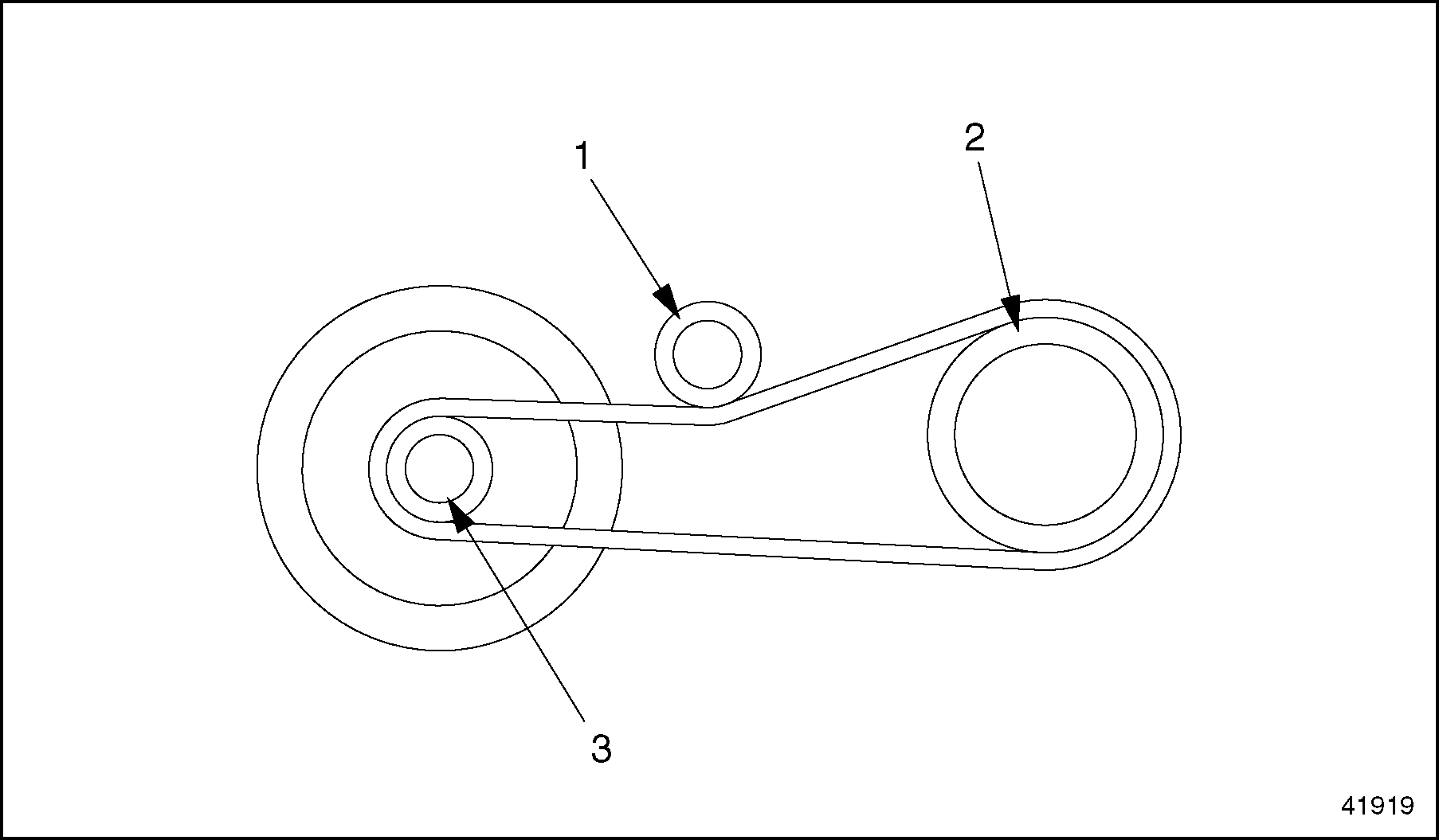
- Remove the drive belt from the A/C compressor pulley. Be careful not to kink, stretch, or otherwise damage the belt. See Figure
"Air Conditioner Compressor Belt Removal"
.

1. Crankshaft Pulley
3. A/C Compressor Belt
2. A/C Compressor Belt Tensioner
4. A/C Compressor Pulley
Figure 6. Air Conditioner Compressor Belt Removal
- Release the tensioner pulley.
- Inspect the A/C compressor belt for nicks, wear, or other damage. Replace the belt if necessary.
- Inspect the following parts and replace any that are damaged or worn:
- vibration damper
- A/C compressor pulley
- belt tensioner
- tensioner pulley
- idler pulley
Section 8.1.6
Air Conditioner Compressor Belt Installation
Install the A/C compressor belt as follows:
- Fit the A/C compressor drive belt on the belt pulleys. Be careful not to kink, stretch, or otherwise damage the belt. For correct routing, see Figure
"Air Conditioner Compressor Belt Routing"
. Do not fit the belt onto the tensioner pulley yet.

1. Tensioner Pulley
3. Crankshaft Pulley
2. A/C Compressor Pulley
Figure 7. Air Conditioner Compressor Belt Routing
- Release the tension on the A/C compressor belt. See Figure "Releasing Belt Tension" .
- Make sure the belt is correctly positioned for the tensioner pulley.
- Restore the tension on the belt.
- Lower the socket wrench to return the tensioner pulley to its original position.
- Remove the socket-wrench bit from the pulley bolt.
- Check the A/C compressor belt to make sure it is in the correct position and properly aligned on the pulleys.
- Connect the batteries.
Section 8.1.7
Belt Tensioner Removal
Remove the belt tensioner as follows:
Note: This procedure works for all belt tensioners. See Figure "Belt Tensioners" to identify the correct belt tensioner.

|
1. Main Drive Belt Tensioner |
4. Mounting Pad |
|
2. Fan Belt Tensioner |
5. Socket-Head Mounting Bolt |
|
3. A/C Compressor Belt Tensioner |
Figure 8. Belt Tensioners
|
PERSONAL INJURY |
|
To avoid injury to hands and fingers from the spring-loaded auto belt tensioner violently snapping back, do not cut the belt to remove it. |
- Release the tension on the main drive belt (alternator and coolant pump), fan belt, and/or A/C compressor belt, as desired. Refer to "8.1.1 Main Drive Belt Removal" .
- Release the tensioning pulley.
- Remove the mounting bolt that fastens the belt tensioner and tensioner pulley to the cylinder block.
- Remove the belt tensioner and tensioner pulley from the mounting pad on the cylinder block.
Section 8.1.8
Belt Tensioner Installation
Install the belt tensioner as follows:
- Align the guide pins on the belt tensioner with the holes in the mounting pad.
- Position the belt tensioner to the mounting pad and secure in place with the mounting bolt. Tighten the bolt 50 N·m (37 lb·ft).
- Release the belt tensioner to allow the belt to be installed. Refer to "8.1.1 Main Drive Belt Removal" .
- Install the drive belt on the pulleys, as removed.
- Restore the tension on the drive belt.
Section 8.1.9
Idler Pulley Removal
Remove the idler pulley as follows:
Note: This procedure works for all idler pulleys. To identify the correct pulley, see Figure "Idler Pulleys" .

|
1. Mounting Bolt |
4. Fan Idler Pulley #2 |
|
2. Main Drive Belt Idler Pulley |
5. Fan Idler Pulley #1 |
|
3. Coolant Pump Inlet Pipe |
Figure 9. Idler Pulleys
- Release the tension on the main drive belt (alternator and coolant-pump), and/or fan belt, as desired. Refer to "8.1.1 Main Drive Belt Removal" for detailed instructions.
- With belt tension relaxed, remove the belt from contact with the idler pulley.
- Release the tensioning pulley.
- Remove the cover from the idler pulley.
- Remove the socket-head bolt fastening the pulley to the mounting pad.
- Remove the pulley from the mounting pad.
Section 8.1.10
Idler Pulley Installation
Install the idler pulley as follows:
- Position the pulley on the mounting pad, as removed.
- Secure the pulley with the socket-head bolt. Tighten the bolt 45 N·m (33 lb·ft).
- Release the tension on the belt tensioner. Refer to "8.1.1 Main Drive Belt Removal" for detailed instructions.
- Position the belt around the new pulley.
- When the belt is in place, restore the tension on the drive belt. Refer to "8.1.1 Main Drive Belt Removal" for detailed instructions.
- Install the idler pulley cover.
Section 8.1.11
Air Conditioner Compressor Pad Removal
Remove the A/C compressor pad as follows:
Note: The A/C compressor belt tensioner is attached to the A/C compressor pad.
- Remove the A/C compressor.
- Remove the belt tensioner from the pad.
- Remove the bolts attaching the A/C compressor pad to the cylinder block. See Figure
"Air Conditioner Compressor Pad Removal"
.

1. Belt Tensioner
3. Pad Mounting Hole
2. A/C Compressor Mounting Holes
4. A/C Compressor Mounting Pad
Figure 10. Air Conditioner Compressor Pad Removal
- Remove the A/C compressor pad from the engine.
Section 8.1.12
Air Conditioner Compressor Pad Installation
Install the A/C compressor pad as follows:
- Position the A/C compressor pad on the cylinder block, as removed.
- Install the mounting bolts and tighten them 150 N·m (110 lb·ft).
- Install the belt tensioner on the pad.
- Install the A/C compressor.
| MBE 4000 Service Manual - 6SE412 |
| Generated on 10-13-2008 |