Section 6.3
Turbocharger
Perform the following procedures for removal and installation of the turbocharger.
Section 6.3.1
Turbocharger Inspection
Inspect the turbocharger as follows:
- Chock the rear tires and lift the hood.

PERSONAL INJURY
To avoid injury before starting and running the engine, ensure the vehicle is parked on a level surface, parking brake is set, and the wheels are blocked.

PERSONAL INJURY
Diesel engine exhaust and some of its constituents are known to the State of California to cause cancer, birth defects, and other reproductive harm.
- Always start and operate an engine in a well ventilated area.
- If operating an engine in an enclosed area, vent the exhaust to the outside.
- Do not modify or tamper with the exhaust system or emission control system.
- Place the transmission in neutral and start the engine.

PERSONAL INJURY
To avoid injury, use care when working around moving belts and rotating parts on the engine.
- Check the turbocharger for unusual noises and excessive vibration.
Note: Unusual noises and excessive vibration can be caused by damage to the turbocharger wheels, or by leaks in the charge-air piping.
- Visually check the turbocharger outlet pipe and air cleaner elbow for leaks. See Figure
"Turbocharger Components"
.

1. Exhaust Brake Valve Housing
5. Turbocharger Outlet Pipe
2. Bracket
6. Return Line Mounting Bolt
3. Oil Supply Line
7. Oil Return Line
4. Air Cleaner Inlet
Figure 1. Turbocharger Components
- Check the charge air piping for leaks. To find leaks, coat the outside of the pipe with a thin film of soapy water.
- Check the exhaust system for leaks. To find leaks, check for color changes to the pipe caused by heating around the leak area.
- Shut down the engine.
Section 6.3.1.1
Checking Turbocharger Radial and Axial Play
Check the turbocharger radial and axial play as follows:
- Remove the exhaust brake valve housing to expose the turbocharger wheel. See Figure
"Location of Wheels"
.

1. Turbocharger Wheel
2. Compressor Wheel
Figure 2. Location of Wheels
- Remove the exhaust brake valve housing and the air cleaner inlet pipe to expose both wheels. See Figure "Location of Wheels" .
- Check both wheels for damage to the blade caused by dirt, debris, and other foreign matter in the turbocharging air system. See Figure
"Turbocharger Wheel"
for the turbocharger wheel and see Figure
"Compressor Wheel"
for the compressor wheel.

1. Turbocharger Housing
3. Blade
2. Rotor Shaft
Figure 3. Turbocharger Wheel

1. Turbocharger Housing
3. Blade
2. Rotor Shaft
Figure 4. Compressor Wheel
- If wheel blades are worn at the leading edges, ripped, cut, or bent backwards, clean the exhaust manifold and the entire turbocharging air system.
- If there is any damage, replace the turbocharger.
- Check the turning smoothness and uniformity of the rotor shaft.
- Turn the shaft alternately, in both clockwise and counterclockwise directions, until it is clear of carbonized oil.
- Turn the nut on the end of the rotor shaft. Check that the shaft does not bind in some places and spin in others (smoothness).
- Turn the nut on the end of the rotor shaft. Check that the same amount of turn on the nut always causes the same amount of turn on each wheel (uniformity).
- Check the axial play of the rotor shaft. See Figure
"Turbocharger Axial Play"
.
Note: Move the shaft in the direction shown by the arrows.

1. Turbocharger Wheel
3. Rotor Nut
2. Rotor Shaft
4. Compressor Wheel
Figure 5. Turbocharger Axial Play
- Move the rotor shaft from end to end and check for friction between the wheels and the turbo housing. Neither turbo wheel nor compressor wheel should rub against the housing.
- If there is friction or contact with either side of the housing, replace the turbocharger.
- Check the radial play of the rotor shaft. See Figure
"Turbocharger Radial Play"
.
Note: Move the shaft in the direction shown by the arrows.

1. Turbocharger Wheel
3. Rotor Nut
2. Rotor Shaft
4. Compressor Wheel
Figure 6. Turbocharger Radial Play
- Move the rotor shaft from side to side and check for friction between the wheels and the turbo housing. Neither turbo wheel nor compressor wheel should rub against the housing.
- If there is friction or contact with either side of the housing, replace the turbocharger.
- Install the air cleaner pipe.
- Install the exhaust brake valve housing.
- Lower the hood and remove the chocks from the rear tires.
Section 6.3.2
Turbocharger Removal
Remove the turbocharger as follows:
- Apply the parking brakes, shut down the engine, and chock the rear tires. Tilt the hood.

PERSONAL INJURY
To avoid injury before starting and running the engine, ensure the vehicle is parked on a level surface, parking brake is set, and the wheels are blocked.
- To gain access to the turbocharger, remove the air cleaner.
- Disconnect the exhaust pipe from the exhaust brake valve housing.
- Remove the air hose from the exhaust brake cylinder.
- Disconnect the turbocharger outlet pipe from the turbocharger housing. See Figure
"Turbocharger Air Outlet"
.

1. Brake Valve Housing
5. Turbocharger Outlet Pipe
2. Bracket
6. Return Line Mounting Bolt
3. Oil Supply Line
7. Oil Return Line
4. Air Cleaner Inlet
Figure 7. Turbocharger Air Outlet
- Disconnect the air intake elbow from the turbocharger. See Figure
"Turbocharger Air Intake"
.

1. Turbocharger
4. Turbocharger Outlet Line
2. Air Cleaner Pipe
5. Constant-Torque Clamp
3. Air Intake Elbow
6. Charge Air Cooler
Figure 8. Turbocharger Air Intake
- Remove the oil return line from the turbocharger and the cylinder block.
- Remove the two bolts attaching the oil return line to the turbocharger. Discard the gasket.
- Remove the banjo bolt attaching the oil return line to the cylinder block. Discard the two seal rings.
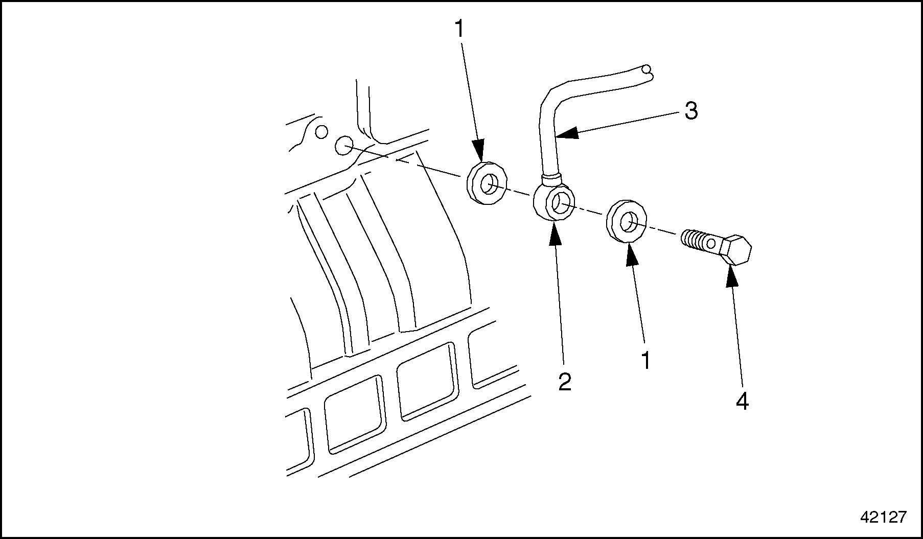
- Remove the oil supply line from the turbocharger and the cylinder block. See Figure
"Oil Supply Line Fasteners"
.

1. Seal Ring
3. Oil Supply Line
2. Banjo Fitting
4. Banjo Bolt
Figure 9. Oil Supply Line Fasteners
- Remove the two bolts attaching the oil supply line to the turbocharger. Discard the gasket.
- Remove the banjo bolt attaching the oil supply line to the cylinder block. Discard the two seal rings.
- Remove the nuts that attach the turbocharger to the exhaust manifold. Remove the turbocharger and exhaust brake valve housing.
- Remove the exhaust brake valve housing from the turbocharger (if needed).
Section 6.3.3
Turbocharger Installation
Install the turbocharger as follows:
- Inspect the turbo inlet hose, turbocharger outlet pipe, and the oil supply and return lines for restrictions or foreign objects.
- Using new nuts, install the exhaust brake valve housing on the turbocharger (if removed). Tighten the nuts 50 N·m (37 lb·ft).
- Install the turbocharger on the exhaust manifold. listed in Table
"Turbocharger Torque Values"
are the torque values.
Description
N·m (lb·ft)
Exhaust Brake Valve Housing to Turbocharger
50 (37)
Heat Shield Mounting Bolts
25 (18)
Turbocharger to Exhaust Manifold
50 (37)
Turbocharger Oil Return Line Mounting Bolts
25 (18)
Turbocharger Oil Line Banjo Bolts
35 (26)
Turbocharger Oil Supply Line Mounting Bolts
25 (18)
Turbocharger Oil Return Line Connection
50 (37)
Turbocharger Oil Return Line Banjo Bolt
120 (88)
Table 14. Turbocharger Torque Values- Coat four new prevailing torque locknuts with a light coating of high temperature grease.
- Make sure that the mating surfaces of the turbocharger and the exhaust manifold are clean and free of damage.
- Position the turbocharger over the mounting studs on the exhaust manifold.
- Install the nuts and tighten them 50 N·m (37 lb·ft).
- Attach the oil return line to the turbocharger and the cylinder block. Listed in Table
"Turbocharger Torque Values"
are the torque values.
- Install a new gasket where the end flange of the return line meets the turbocharger.
- Install the mounting bolts through the holes in the end flange. Tighten them 25 N·m (18 lb·ft).
- Install two new seal rings on the banjo fitting at the other end of the return line.
- Install the banjo bolt attaching the return line to the engine oil return inlet. Tighten the bolt 35 N·m (26 lb·ft).
- Fill the bearing housing with clean engine oil through the oil inlet port. Turn the turbocharger wheel several times to coat the bearings with oil.
Note: If the turbocharger wheel cannot be spun freely by hand or if there is any indication of rubbing or scraping, determine the reason before starting the engine. One cause of wheel rubbing is a misaligned turbocharger housing.
- Refill the oil inlet port and connect the oil supply line. listed in Table
"Turbocharger Torque Values"
are the torque values.
- Install a new gasket where the end flange of the supply line meets the turbocharger.
- Install the mounting bolts through the holes in the end flange and the heat shield bracket. Tighten them 25 N·m (18 lb·ft).
- Install two new seal rings on the banjo fitting at the other end of the supply line.
- Install the banjo bolt attaching the supply line to the cylinder block. Tighten the bolt 35 N·m (26 lb·ft).
- Attach the air intake elbow to the turbocharger. Tighten the clamp 10 N·m (7 lb·ft).
- Attach the turbocharger outlet pipe to the turbocharger. Tighten the clamp 6 N·cm (4 lb·ft).
- Connect the exhaust pipe to the exhaust brake valve housing.
- Install the air line on the exhaust brake cylinder, as removed.
- Install the air cleaner.

PERSONAL INJURY
Diesel engine exhaust and some of its constituents are known to the State of California to cause cancer, birth defects, and other reproductive harm.
- Always start and operate an engine in a well ventilated area.
- If operating an engine in an enclosed area, vent the exhaust to the outside.
- Do not modify or tamper with the exhaust system or emission control system.
- Start the engine and allow it to run at idle speed for three to four minutes before accelerating.
- Check for oil leaks. Correct any if found.
- Lower the hood and remove the chocks from the rear tires.
| MBE 4000 Service Manual - 6SE412 |
| Generated on 10-13-2008 |