Section 71.3
Troubleshooting Flash Code 71
The following procedure will troubleshoot Flash Code 71.
Section 71.3.1
Determine Cylinders With Fault
The injector location that is logging the codes is listed in Table "Determine Cylinders With Fault" .
|
|
#1 |
#2 |
#3 |
#4 |
#5 |
#6 |
|
|
|
(SID 1) |
(SID 2) |
(SID 3) |
(SID 4) |
(SID 5) |
(SID 6) |
|
|
S55/60 |
1 |
5 |
3 |
6 |
2 |
4 |
cyl # |
|
S50 |
1 |
3 |
4 |
2 |
- |
- |
cyl # |
Table 1. Determine Cylinders With Fault
- Disconnect the 5-pin injector harness connector at the ECM for those injectors logging the codes.
- Establish a good ECM case ground by measuring the resistance across two points on the ECM. The resistance should measure less than or equal to 1 Ω.
- Once a good case ground is established, keep one of the measurement probes in place and move the other probe to one of the five exposed male injector terminals on the ECM.
- Measure the resistance. Repeat this procedure at each of the five terminals.
- If any terminals have a resistance of less than 1000 Ω, replace the ECM. Refer to "71.3.5 Verify Repairs" .
- If all terminals have a resistance of greater than 1000 Ω, refer to "71.3.2 Check for Short" .
Section 71.3.2
Check for Short
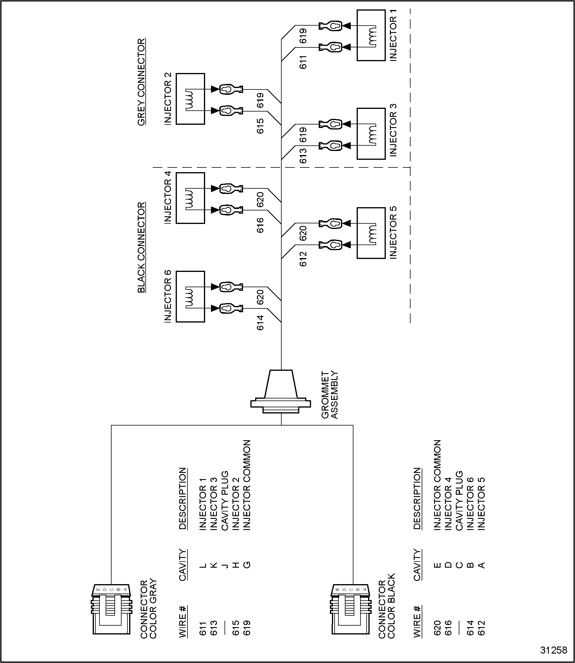
Perform the following steps to check for a short. See Figure "Injector Harness" .

Figure 1. Injector Harness
- Locate the injector harness connector terminals associated with the codes.
- Measure resistance between those cavities and the cylinder block.
- Also, measure resistance between that cavity and the appropriate return cavity (G or E).
- If measured resistance is less than 5 Ω, the wire is shorted. Repair or replace the harness and refer to "71.3.5 Verify Repairs" .
- If measured resistance is greater than 5 Ω, refer to "71.3.3 Check for Open" .
Section 71.3.3
Check for Open
Perform the following steps to check for an open.
- Insert a jumper wire between the cavity associated with the code and the return for that connector (G or E).
- Remove the valve cover to gain access to the cylinder associated with the code.
- Remove the connector terminals at the injector solenoid.
- Measure resistance between the terminal plugs.
- If the measured resistance is greater than 5 Ω, the injector wire is open. Repair or replace the harness and refer to "71.3.5 Verify Repairs" .
- If the measured resistance is less than 5 Ω, and the ECM software is less than 3.00, reprogram the ECM. Refer to "71.3.5 Verify Repairs" .
- If the measured resistance is less than 5 Ω, and the ECM software is 3.00 or higher, remove the alternator belt to disable the alternator and refer to "71.3.4 Assemble" .
Section 71.3.4
Assemble
Perform the following steps to assemble the components.
- Connect the connectors.
- Install the valve cover.
- Start and run the engine.
- Stop engine.
- Does the code return?
- If the code does not return, repair or replace the alternator grounds and refer to "71.3.5 Verify Repairs" .
- If the codes return, replace the injector and solenoid. Refer to "71.3.5 Verify Repairs" .
Section 71.3.5
Verify Repairs
Perform the following steps to verify repairs:
- Start and run the engine.
- Stop engine.
- Check DDR for codes.
- If no codes are logged, no further troubleshooting is required.
- If injector codes are logged, all system diagnostics are complete. Please review this section from the first step to find the error. Refer to "71.3.1 Determine Cylinders With Fault" .
| DDEC III/IV Single ECM Troubleshooting Guide - 6SE497 |
| Generated on 10-13-2008 |